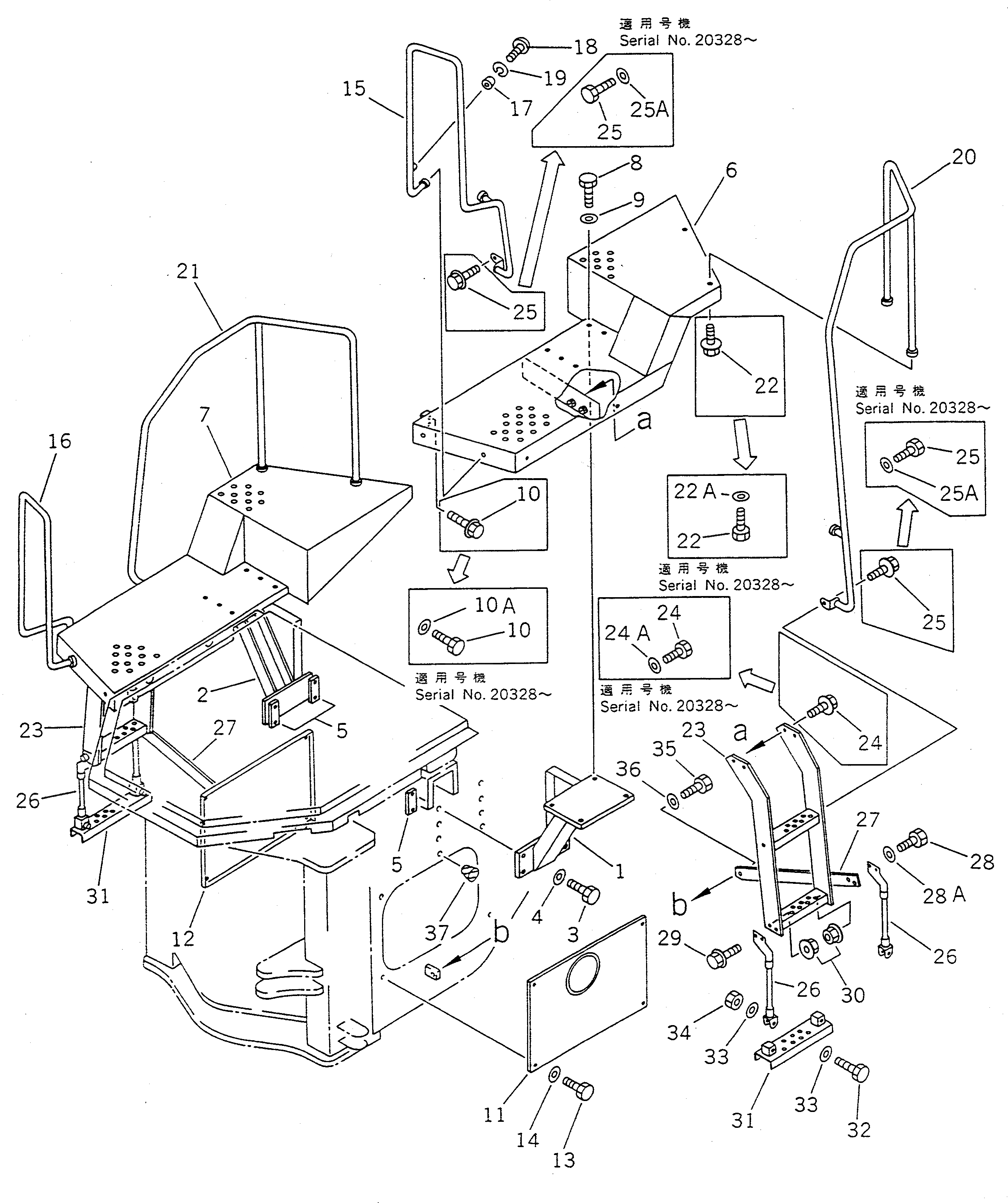
Запчасти Komatsu WA450-1 ПОЛ И ЛЕСТНИЦА(№-) РАМА И ЧАСТИ КОРПУСА

Схема запчастей Komatsu WA450-1 - ПОЛ И ЛЕСТНИЦА(№-) РАМА И ЧАСТИ КОРПУСА
FIT
1:1
100%

Артикул

Название

Примечание

Количество

1

421-54-18162

SUPPORT,L.H. (WITHOUT ROPS)

SN: 20176-UP

1шт.

|1

0

SUPPORT,L.H. (WITHOUT ROPS)

SN: 20001-20175

1шт.

2

421-54-18162

SUPPORT,R.H. (WITHOUT ROPS)

SN: 20176-UP

1шт.

|2

0

SUPPORT,R.H. (WITHOUT ROPS)

SN: 20001-20175

1шт.

3

01010-51665

BOLT

SN: 20001-UP

8шт.

4

01643-31645

WASHER

SN: 20001-UP

8шт.

5

421-54-18170

PLATE

SN: 20001-UP

4шт.

6

424-54-12612

FLOOR,L.H.

SN: 20001-UP

1шт.

7

424-54-12622

FLOOR,R.H.

SN: 20001-UP

1шт.

8

01010-52450

BOLT

SN: 20220-UP

4шт.

|8

01010-52455

BOLT

SN: 20001-20219

8шт.

9

01643-32460

WASHER

SN: 20220-UP

4шт.

|9

01643-32460

WASHER

SN: 20001-20219

8шт.

10

01010-51255

BOLT

SN: 20328-UP

4шт.

|10

01435-01255

BOLT

SN: 20001-20327

4шт.

10A

424-54-14220

WASHER

SN: 20328-UP

4шт.

11

421-54-14623

COVER,L.H.

SN: 20001-UP

1шт.

12

421-54-14633

COVER,R.H.

SN: 20001-UP

1шт.

13

01010-51220

BOLT

SN: 20001-UP

8шт.

14

01643-31232

WASHER

SN: 20001-UP

8шт.

15

424-54-12423

HANDLE,L.H.

SN: 20149-UP

1шт.

|15

424-54-12422

HANDLE,L.H.

SN: 20001-20148

1шт.

16

424-54-12433

HANDLE,R.H.

SN: 20149-UP

1шт.

|16

424-54-12432

HANDLE,R.H.

SN: 20001-20148

1шт.

17

418-60-15150

STOPPER

SN: 10001-UP

2шт.

18

01220-40630

SCREW

SN: 10001-UP

2шт.

19

01602-20619

WASHER,SPRING

SN: 10001-UP

2шт.

20

424-54-12441

HANDLE,L.H.

SN: 20001-UP

1шт.

21

424-54-12451

HANDLE,R.H.

SN: 20001-UP

1шт.

22

01010-51225

BOLT

SN: 20328-UP

10шт.

|22

01435-01225

BOLT

SN: 20001-20327

10шт.

22A

424-54-14220

WASHER

SN: 20328-UP

10шт.

23

424-54-12412

LADDER

SN: 20419-UP

2шт.

|23

0

LADDER

SN: 20001-20418

2шт.

24

01010-51235

BOLT

SN: 20328-UP

8шт.

|24

01435-01235

BOLT

SN: 20001-20327

8шт.

24A

01643-31232

WASHER

SN: 20328-UP

8шт.

25

01010-51230

BOLT

SN: 20328-UP

4шт.

|25

01435-01230

BOLT

SN: 20001-20327

4шт.

25A

424-54-14220

WASHER

SN: 20328-UP

4шт.

26

423-54-14260

ROPE,WIRE

SN: 10896-UP

4шт.

27

421-54-14564

STAY

SN: 20001-UP

2шт.

28

01010-51245

BOLT

SN: 20001-UP

4шт.

28A

01643-31232

WASHER

SN: 20001-UP

4шт.

29

01435-01235

BOLT

SN: 20001-UP

4шт.

30

01584-01210

NUT

SN: 20001-UP

8шт.

31

423-54-12770

STEP

SN: 10001-UP

2шт.

32

01010-51265

BOLT

SN: 10001-UP

4шт.

33

01643-31232

WASHER

SN: 10001-UP

8шт.

34

426-43-19150

NUT

SN: 10001-UP

4шт.

35

01010-51230

BOLT

SN: 20001-UP

2шт.

36

01643-31232

WASHER

SN: 20001-UP

2шт.

37

07049-03038

PLUG

SN: 20267-UP

8шт.

|37

07049-03342

PLUG

SN: 20001-20266

8шт.

Выбрано товаров: 54