Запчасти Komatsu WA450-1 ЗАЩИТА РАДИАТОРА AND КАПОТ(№-9999) РАМА И ЧАСТИ КОРПУСА

Схема запчастей Komatsu WA450-1 - ЗАЩИТА РАДИАТОРА AND КАПОТ(№-9999) РАМА И ЧАСТИ КОРПУСА
FIT
1:1
100%

Артикул

Название

Примечание

Количество

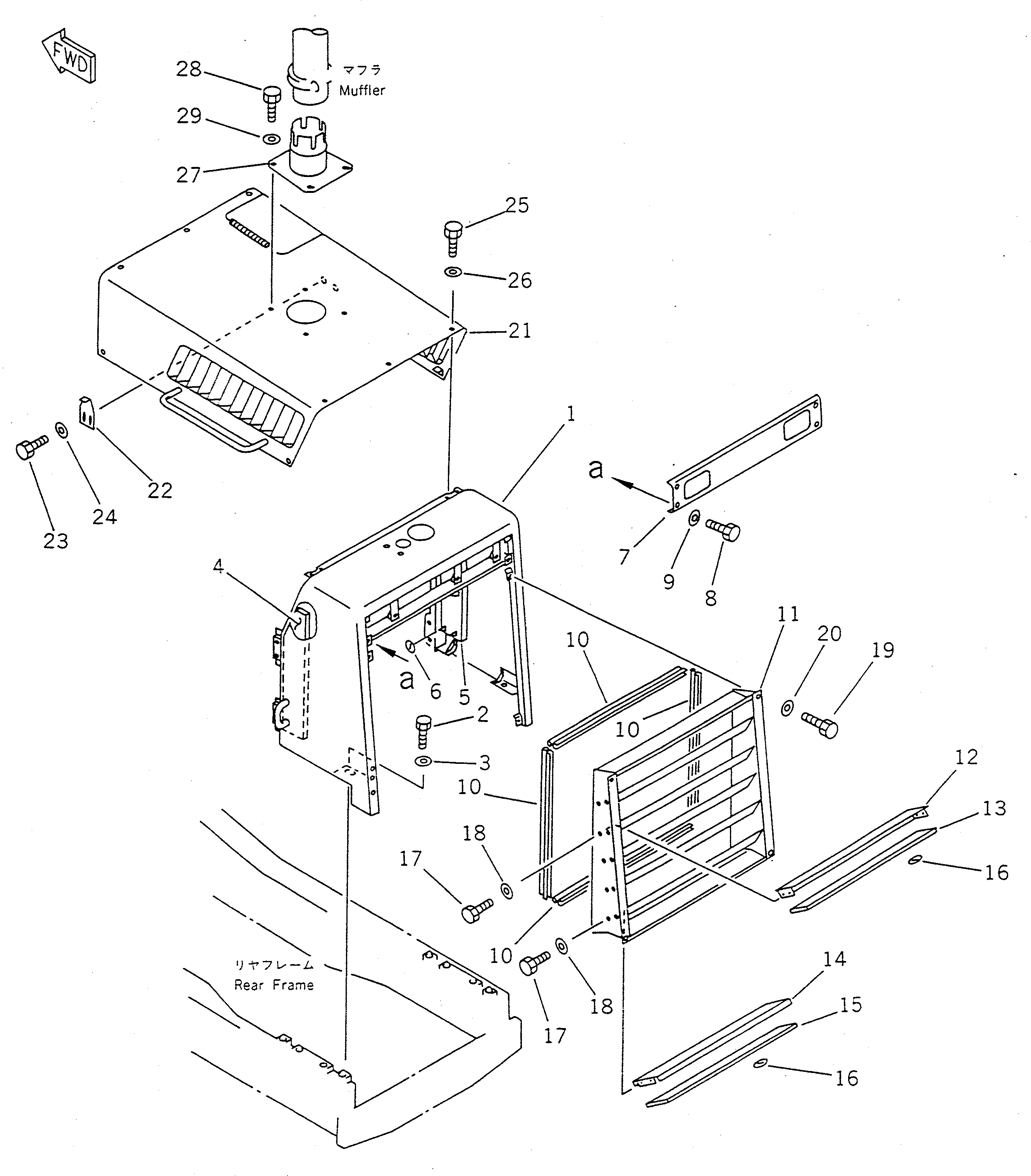
1

421-54-11117

GUARD,RADIATOR

SN: 11020-19999

1шт.

|1

0

GUARD,RADIATOR

SN: 10653-11019

1шт.

|1

421-54-11115

GUARD,RADIATOR

SN: 10001-10652

1шт.

2

01010-51260

BOLT

SN: 10653-19999

6шт.

|2

01010-51225

BOLT

SN: 10001-10652

4шт.

3

01643-31232

WASHER

SN: 10653-19999

6шт.

|3

01643-31232

WASHER

SN: 10001-10652

4шт.

4

421-54-14350

SHEET,L.H.

SN: 10001-@

1шт.

5

421-54-14360

SHEET,R.H.

SN: 10001-@

1шт.

6

04431-30000

PLATE

SN: 10001-11019

14шт.

7

421-54-11561

PLATE

SN: 10001-19999

1шт.

8

01010-51225

BOLT

SN: 10001-19999

4шт.

9

01643-31232

WASHER

SN: 10001-19999

4шт.

10

421-54-11753

FINISHER

SN: 10289-@

3шт.

|10

421-54-11753

FINISHER

SN: 10001-10288

4шт.

11

421-54-11555

GRILLE

SN: 10001-19999

1шт.

|11

0

GRILLE

SN: (10001-10652)

1шт.

12

421-54-11653

BRACKET

SN: 10001-19999

2шт.

13

421-54-13330

SHEET

SN: 10001-19999

2шт.

14

421-54-11663

BRACKET

SN: 10001-19999

3шт.

15

421-54-13320

SHEET

SN: 10001-19999

3шт.

16

421-54-13340

PLATE

SN: 10001-19999

30шт.

17

01010-50816

BOLT

SN: 10001-19999

20шт.

18

01643-30823

WASHER

SN: 10001-19999

20шт.

19

01010-51245

BOLT

SN: 10653-19999

4шт.

|19

01010-51225

BOLT

SN: 10001-10652

4шт.

20

01643-31232

WASHER

SN: 10001-19999

4шт.

21

421-54-11185

HOOD

SN: 10001-19999

1шт.

|21

421-54-11362

LOCK ASS'Y

SN: 10001-19999

1шт.

|21

421-54-11381

LOCK

SN: 10001-19999

1шт.

22

421-54-14831

PLATE

SN: 10229-@

1шт.

|22

0

PLATE

SN: 10001-10228

1шт.

23

01010-51020

BOLT

SN: 10001-19999

2шт.

24

01643-31032

WASHER

SN: 10001-19999

2шт.

25

01010-51225

BOLT

SN: 10001-19999

10шт.

26

01643-31232

WASHER

SN: 10001-19999

10шт.

27

419-02-11111

BRACKET

SN: 11020-@

1шт.

|27

0

BRACKET

SN: 10001-11019

1шт.

28

01010-51225

BOLT

SN: 10001-19999

4шт.

29

01643-31232

WASHER

SN: 10001-19999

4шт.

Выбрано товаров: 40