Запчасти Komatsu WA450-1 МЕХАНИЗМ ОСТАНОВКИ СТРЕЛЫ И КОВШ ПОЗИЦИОНЕР(№-) УПРАВЛ-Е РАБОЧИМ ОБОРУДОВАНИЕМ

Схема запчастей Komatsu WA450-1 - МЕХАНИЗМ ОСТАНОВКИ СТРЕЛЫ И КОВШ ПОЗИЦИОНЕР(№-) УПРАВЛ-Е РАБОЧИМ ОБОРУДОВАНИЕМ
FIT
1:1
100%

Артикул

Название

Примечание

Количество

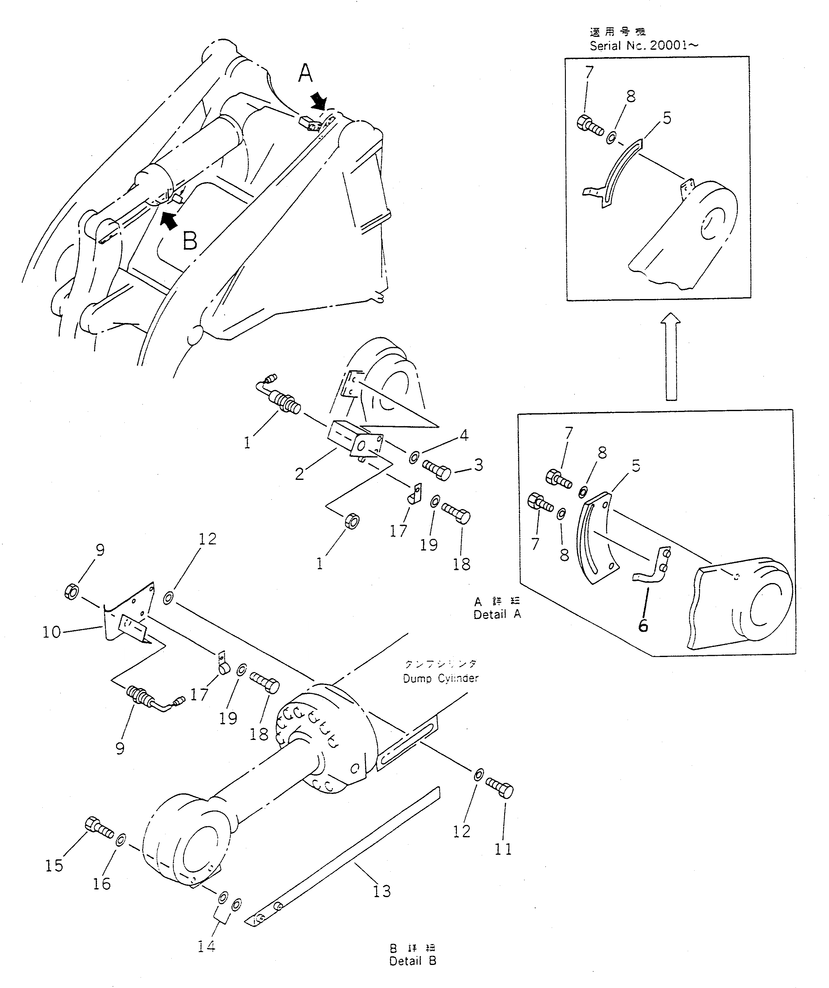
1

421-06-11165

SWITCH,KICK OUT

SN: 11020-UP

1шт.

2

421-43-19140

PLATE

SN: 20001-UP

1шт.

|2

424-43-19131

PLATE

SN: 11020-19999

1шт.

3

01010-51225

BOLT

SN: 20001-UP

2шт.

|3

01010-51230

BOLT

SN: 10001-19999

2шт.

4

01643-31232

WASHER

SN: 10001-UP

2шт.

5

421-43-19131

PLATE

SN: 20001-UP

1шт.

|5

424-43-19110

PLATE

SN: 10001-19999

1шт.

6

424-43-19120

PLATE

SN: 10001-19999

1шт.

7

01010-51225

BOLT

SN: 20001-UP

2шт.

|7

01010-51225

BOLT

SN: 10001-19999

4шт.

8

01643-31232

WASHER

SN: 20001-UP

2шт.

|8

01643-31232

WASHER

SN: 10001-19999

4шт.

9

421-06-11165

SWITCH,BUCKET POSITIONER

SN: 11020-UP

1шт.

10

421-43-19223

PLATE

SN: 11020-UP

1шт.

11

01010-51235

BOLT

SN: 10001-UP

2шт.

12

01643-31232

WASHER

SN: 10001-UP

4шт.

13

421-43-19212

PLATE

SN: 10001-UP

1шт.

14

6113-63-1630

SHIM¤ 0.2MM

SN: 10001-UP

-2шт.

|14

6113-63-1640

SHIM¤ 0.5MM

SN: 10001-UP

-2шт.

15

01010-51235

BOLT

SN: 10001-UP

2шт.

16

01643-31232

WASHER

SN: 10001-UP

2шт.

17

423-06-12640

CLIP

SN: 10001-UP

2шт.

18

01010-51020

BOLT

SN: 11020-UP

2шт.

19

01643-31032

WASHER

SN: 11020-UP

2шт.

Выбрано товаров: 25