Запчасти Komatsu WA450-1 КОВШ С 2-СТОРОНН. РАЗГРУЗКОЙ (/) РАБОЧЕЕ ОБОРУДОВАНИЕ

Схема запчастей Komatsu WA450-1 - КОВШ С 2-СТОРОНН. РАЗГРУЗКОЙ (/) РАБОЧЕЕ ОБОРУДОВАНИЕ
FIT
1:1
100%

Артикул

Название

Примечание

Количество

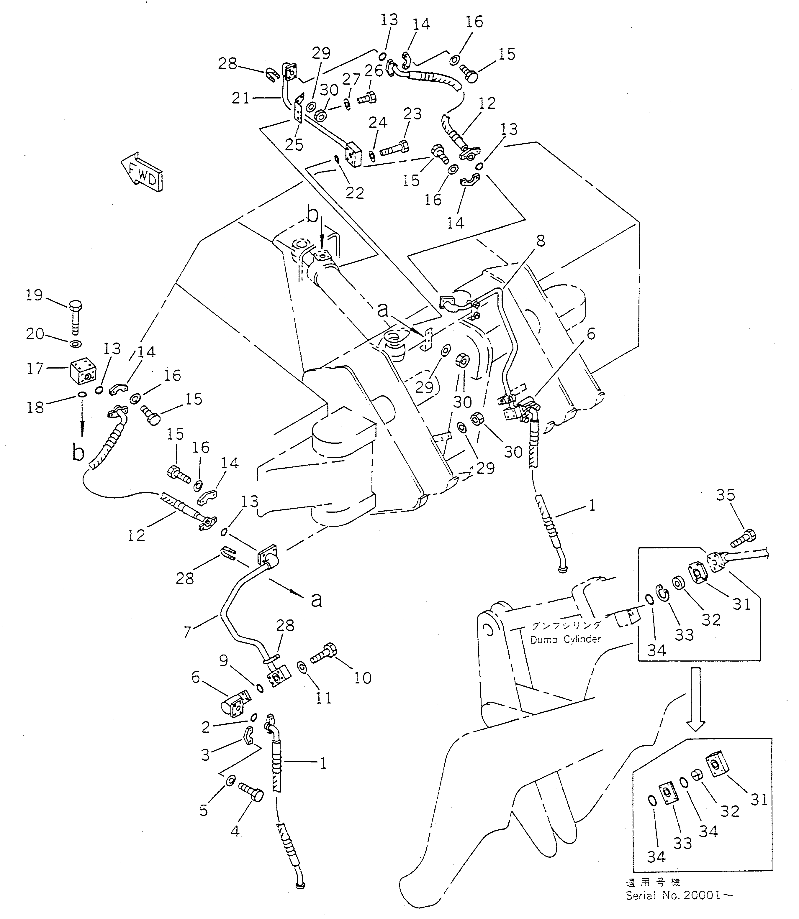
1

421-837-1270

HOSE

SN: 10001-UP

2шт.

2

07000-13032

O-RING

SN: 10001-UP

2шт.

3

07371-31049

FLANGE,SPLIT

SN: 10001-UP

4шт.

4

07372-21035

BOLT

SN: 10001-UP

8шт.

5

01643-51032

WASHER

SN: 10001-UP

8шт.

6

07128-11000

JOINT,SWIVEL

SN: 10001-UP

2шт.

7

421-837-1250

TUBE,L.H.

SN: 10001-UP

1шт.

8

421-837-1260

TUBE,R.H.

SN: 10001-UP

1шт.

9

07000-13032

O-RING

SN: 10001-UP

2шт.

10

01010-51065

BOLT

SN: 10001-UP

8шт.

11

01643-31032

WASHER

SN: 10001-UP

8шт.

12

07122-20612

HOSE

SN: 10001-UP

2шт.

13

07000-13025

O-RING

SN: 10001-UP

4шт.

14

07371-30638

FLANGE,SPLIT

SN: 10001-UP

8шт.

15

01010-50830

BOLT

SN: 10001-UP

16шт.

16

01643-30823

WASHER

SN: 10001-UP

16шт.

17

426-62-12151

BLOCK

SN: 10001-UP

1шт.

18

07000-13032

O-RING

SN: 10001-UP

1шт.

19

01010-51075

BOLT

SN: 10001-UP

4шт.

20

01643-31032

WASHER

SN: 10001-UP

4шт.

21

421-837-1240

TUBE

SN: 10001-UP

1шт.

22

07000-13032

O-RING

SN: 10001-UP

1шт.

23

01010-51065

BOLT

SN: 10001-UP

4шт.

24

01643-31032

WASHER

SN: 10001-UP

4шт.

25

421-837-1280

PLATE

SN: 10001-UP

1шт.

26

01010-31025

BOLT

SN: 10001-UP

2шт.

27

01643-31032

WASHER

SN: 10001-UP

2шт.

28

07283-22746

CLIP

SN: 10001-UP

5шт.

29

01643-31032

WASHER

SN: 10001-UP

10шт.

30

01599-01011

NUT

SN: 10001-UP

10шт.

31

424-837-1610

FLANGE

SN: 20001-UP

1шт.

|31

424-837-1310

FLANGE

SN: 10001-19999

1шт.

32

424-837-1630

VENT

SN: 20001-UP

1шт.

|32

424-837-1320

VENT

SN: 10001-19999

1шт.

33

424-837-1620

PLATE,SNAP

SN: 20001-UP

1шт.

|33

04065-02812

RING,SNAP

SN: 10001-19999

1шт.

34

07000-23038

O-RING

SN: 20001-UP

2шт.

|34

07000-23038

O-RING

SN: 10001-19999

1шт.

35

07372-21060

BOLT

SN: 10001-UP

4шт.

36

423-837-1310

PLATE¤ OPERATING,(NOT SHOWN)

SN: 10001-UP

1шт.

Выбрано товаров: 40