Запчасти Komatsu WA450-1 ПЕРЕДН. ОСВЕЩЕНИЕ КРЫШКАAND ПЕРЕДН. КРЫЛО (ТУННЕЛЬН. СПЕЦ-Я.)(№-) СПЕЦ. APPLICATION ЧАСТИ

Схема запчастей Komatsu WA450-1 - ПЕРЕДН. ОСВЕЩЕНИЕ КРЫШКАAND ПЕРЕДН. КРЫЛО (ТУННЕЛЬН. СПЕЦ-Я.)(№-) СПЕЦ. APPLICATION ЧАСТИ
FIT
1:1
100%

Артикул

Название

Примечание

Количество

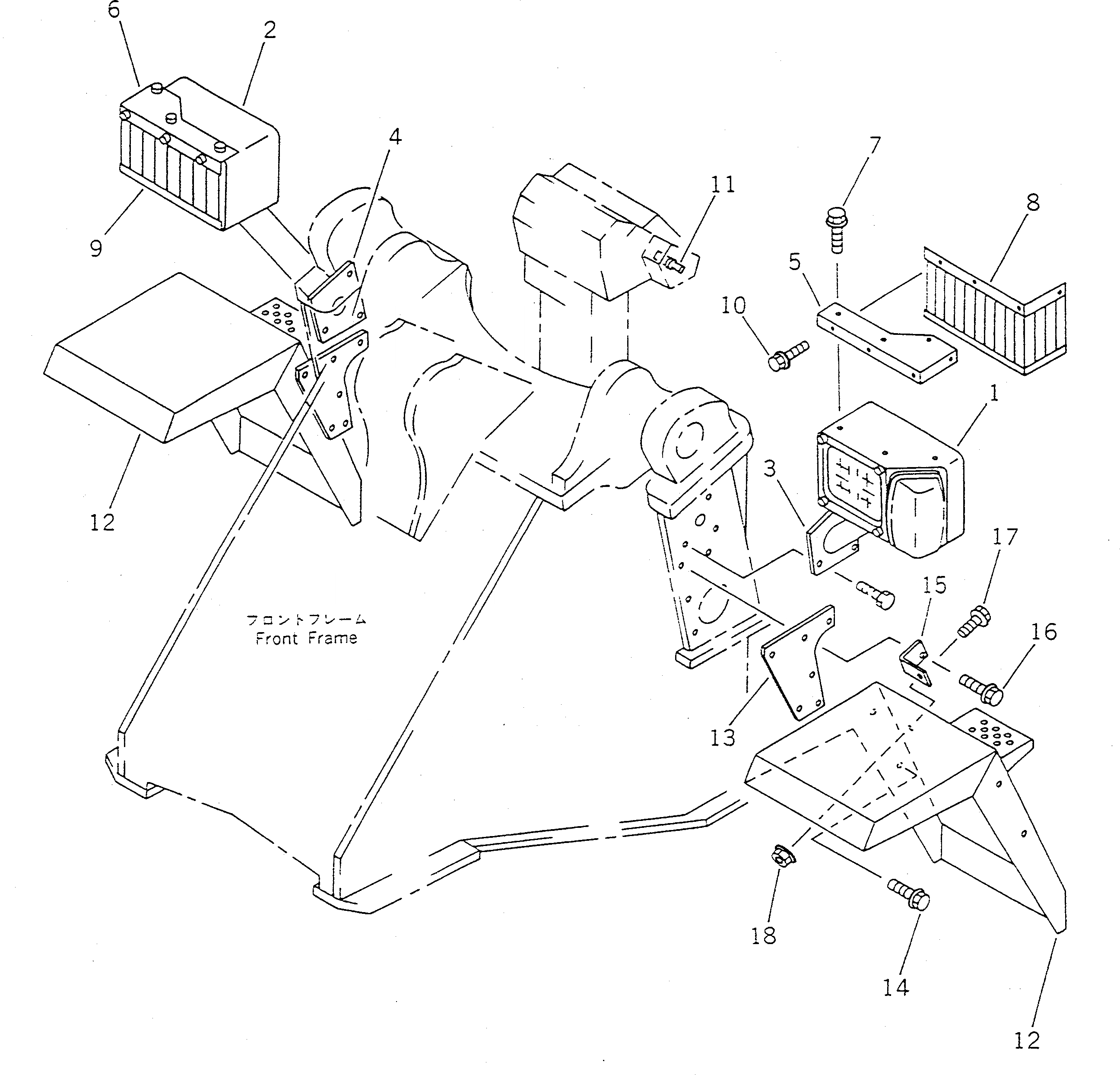
1

423-Z94-1111

BRACKET,L.H. (MODIFIED PARTS)

SN: 20001-UP

1шт.

2

423-Z94-1121

BRACKET,R.H. (MODIFIED PARTS)

SN: 20001-UP

1шт.

3

421-Z94-1510

SUPPORT,L.H.

SN: 20001-UP

1шт.

4

421-Z94-1520

SUPPORT,R.H.

SN: 20001-UP

1шт.

5

423-Z94-1130

PLATE,L.H.

SN: 10001-UP

1шт.

6

423-Z94-1140

PLATE,R.H.

SN: 10001-UP

1шт.

7

01435-01220

BOLT

SN: 20001-UP

6шт.

8

423-Z94-1150

COVER,L.H.

SN: 10001-UP

1шт.

9

423-Z94-1160

COVER,R.H.

SN: 10001-UP

1шт.

10

01435-00820

BOLT

SN: 20001-UP

8шт.

11

423-975-1150

SWITCH,BEACON LAMP

SN: 10001-UP

1шт.

12

421-Z99-1110

FENDER

SN: 20001-UP

2шт.

13

421-Z99-1131

PLATE

SN: 20001-UP

2шт.

14

01435-01230

BOLT

SN: 20001-UP

4шт.

15

421-Z99-1140

PLATE,L.H.

SN: 20001-UP

1шт.

|15

421-Z99-1121

PLATE,R.H.

SN: 20001-UP

1шт.

16

01435-01240

BOLT

SN: 20001-UP

2шт.

17

01435-01230

BOLT

SN: 20001-UP

2шт.

18

01584-01210

NUT

SN: 20001-UP

2шт.

Выбрано товаров: 19