Запчасти Komatsu WA450-1 ЭЛЕКТРИКА (ЛИНИЯ АККУМУЛЯТОРА)(№-) КОМПОНЕНТЫ ДВИГАТЕЛЯ И ЭЛЕКТРИКА

Схема запчастей Komatsu WA450-1 - ЭЛЕКТРИКА (ЛИНИЯ АККУМУЛЯТОРА)(№-) КОМПОНЕНТЫ ДВИГАТЕЛЯ И ЭЛЕКТРИКА
FIT
1:1
100%

Артикул

Название

Примечание

Количество

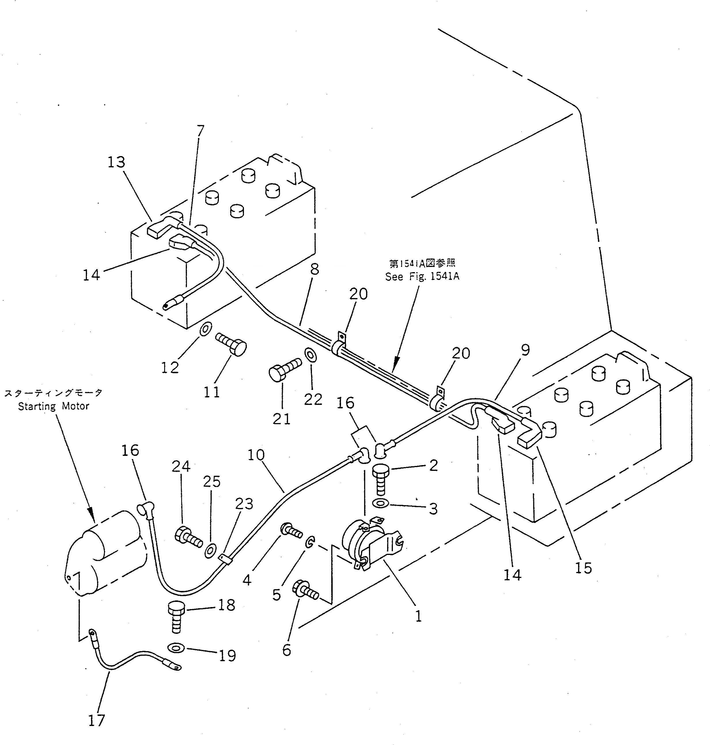
1

421-06-11930

RELAY,BATTERY

SN: 20001-UP

1шт.

2

01010-50816

BOLT

SN: 20001-UP

2шт.

3

01643-50823

WASHER

SN: 20001-UP

2шт.

4

01220-40408

SCREW

SN: 20001-UP

2шт.

5

01601-20410

WASHER,SPRING

SN: 20001-UP

2шт.

6

01435-00825

BOLT

SN: 20001-UP

2шт.

7

424-06-12510

WIRE

SN: 20001-UP

1шт.

8

424-V48-1130

WIRE

SN: 20001-UP

1шт.

|8

0

WIRE

SN: (20001-20131)

1шт.

9

427-06-12380

WIRE

SN: 20001-UP

1шт.

10

421-06-12741

WIRE

SN: 20001-UP

1шт.

11

01010-51016

BOLT

SN: 10001-UP

1шт.

12

01643-31032

WASHER

SN: 10001-UP

1шт.

13

424-09-12540

BOOT

SN: 20001-UP

1шт.

14

08038-22511

CAP

SN: 20001-UP

2шт.

15

424-09-12530

BOOT

SN: 20001-UP

1шт.

16

08038-00035

CAP

SN: 10001-UP

3шт.

17

421-06-12761

WIRE

SN: 20001-UP

1шт.

18

01010-51625

BOLT

SN: 20001-UP

1шт.

19

01643-31645

WASHER

SN: 10001-UP

1шт.

20

08036-03014

CLIP

SN: 20001-UP

2шт.

21

01010-51016

BOLT

SN: 20001-UP

2шт.

22

01643-31032

WASHER

SN: 20001-UP

2шт.

23

08036-01814

CLIP

SN: 20001-UP

1шт.

24

01010-51016

BOLT

SN: 20001-UP

1шт.

25

01643-31032

WASHER

SN: 20001-UP

1шт.

Выбрано товаров: 26