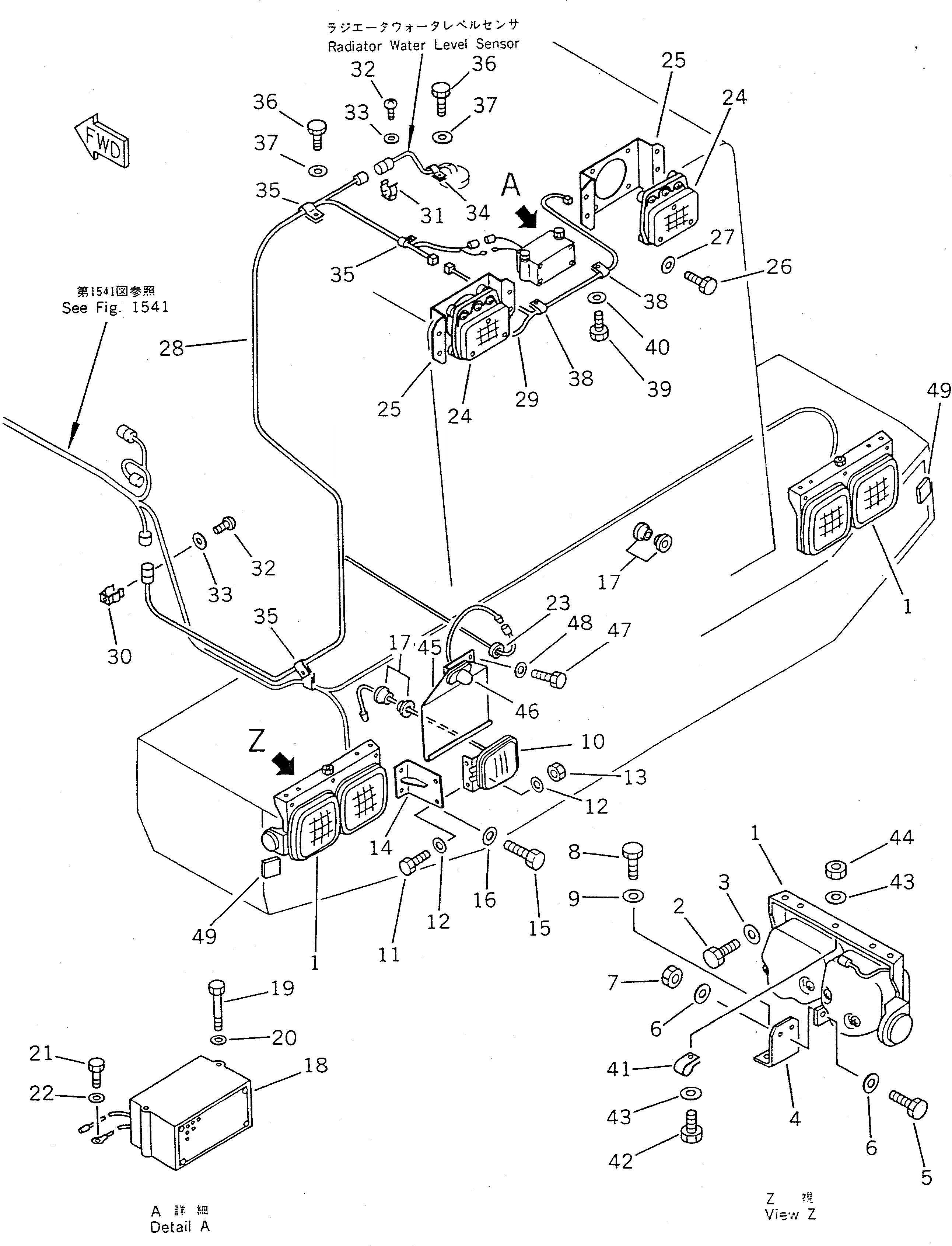
Запчасти Komatsu WA450-1 ЭЛЕКТРИКА (ЗАДН. ОСВЕЩЕНИЕ)(№-9999) КОМПОНЕНТЫ ДВИГАТЕЛЯ И ЭЛЕКТРИКА

Схема запчастей Komatsu WA450-1 - ЭЛЕКТРИКА (ЗАДН. ОСВЕЩЕНИЕ)(№-9999) КОМПОНЕНТЫ ДВИГАТЕЛЯ И ЭЛЕКТРИКА
FIT
1:1
100%

Артикул

Название

Примечание

Количество

1

421-06-13730

LAMP ASS'Y,REAR¤ L.H.

SN: 10001-19999

1шт.

|1

421-06-13820

LAMP ASS'Y,REAR¤ R.H.

SN: 10001-19999

1шт.

|1

421-06-13740

LENS,STOP LAMP

SN: 10001-19999

1шт.

|1

421-06-13750

LENS,TURN SIGNAL

SN: 10001-19999

1шт.

|1

08105-12420

BULB¤ 25W

SN: 10001-19999

1шт.

|1

08104-12420

BULB¤ 25/10W

SN: 10001-@

1шт.

|1

08102-02403

BULB¤ 3W

SN: 10001-@

1шт.

2

01010-50820

BOLT

SN: 10001-19999

6шт.

3

01643-30823

WASHER

SN: 10001-19999

6шт.

4

421-06-11870

BRACKET

SN: 10001-19999

2шт.

5

01010-50612

BOLT

SN: 10001-19999

2шт.

6

01643-30623

WASHER

SN: 10001-19999

4шт.

7

01580-00605

NUT

SN: 10001-19999

2шт.

8

01010-50816

BOLT

SN: 10001-19999

2шт.

9

01643-30823

WASHER

SN: 10001-19999

2шт.

10

421-06-13901

LAMP ASS'Y,BACK

SN: 10001-19999

1шт.

|10

421-06-13911

LENS

SN: 10001-19999

1шт.

|10

08105-12420

BULB¤ 25W

SN: 10001-19999

1шт.

11

01010-50816

BOLT,(FOR BACK LAMP)

SN: 10001-19999

2шт.

12

01643-30823

WASHER,(FOR BACK LAMP)

SN: 10001-19999

4шт.

13

01580-10806

NUT,(FOR BACK LAMP)

SN: 10001-19999

2шт.

14

421-06-11811

BRACKET,(FOR BACK LAMP)

SN: 10001-19999

1шт.

15

01010-51220

BOLT,(FOR BACK LAMP)

SN: 10001-19999

2шт.

16

01643-31232

WASHER,(FOR BACK LAMP)

SN: 10001-19999

2шт.

17

421-06-12651

GROMMET

SN: 10001-19999

4шт.

18

08164-00000

BUZZER,BACK

SN: 10001-19999

1шт.

19

6132-11-6460

BOLT,(FOR BACK BUZZER)

SN: 10001-19999

2шт.

20

01640-20816

WASHER,(FOR BACK BUZZER)

SN: 10001-19999

2шт.

21

01010-51016

BOLT,(FOR BACK BUZZER)

SN: 10001-19999

1шт.

22

01643-31032

WASHER,(FOR BACK BUZZER)

SN: 10001-19999

1шт.

23

08037-01610

GROMMET

SN: 10001-@

1шт.

24

421-06-13202

WORK LAMP ASS'Y

SN: 10001-@

2шт.

|24

22W-06-12170

BULB¤ 24V

SN: 10001-@

1шт.

|24

421-06-13120

CUSHION

SN: 10001-@

4шт.

25

421-06-11383

PLATE

SN: 10001-19999

2шт.

26

01010-51220

BOLT

SN: 10001-19999

8шт.

27

01643-31232

WASHER

SN: 10001-19999

8шт.

28

421-06-12123

WIRE ASS'Y

SN: 10001-@

1шт.

29

421-06-12131

WIRE ASS'Y

SN: 10001-@

1шт.

30

283-06-17130

CLIP

SN: 10001-19999

1шт.

31

421-06-12910

CLIP

SN: 10001-@

1шт.

32

01220-40608

SCREW

SN: 10001-@

2шт.

33

01641-20608

WASHER

SN: 10001-@

2шт.

34

08036-10814

CLIP

SN: 10001-@

1шт.

35

08036-01414

CLIP

SN: 10001-@

3шт.

36

01010-51016

BOLT

SN: 10001-@

3шт.

37

01643-31032

WASHER

SN: 10001-@

3шт.

38

08036-01214

CLIP

SN: 10001-19999

2шт.

39

01010-51220

BOLT

SN: 10001-19999

2шт.

40

01643-31232

WASHER

SN: 10001-19999

2шт.

41

424-06-12780

CLIP

SN: 10001-19999

2шт.

42

01010-50820

BOLT

SN: 10001-19999

2шт.

43

01643-30823

WASHER

SN: 10001-19999

4шт.

44

01580-10806

NUT

SN: 10001-19999

2шт.

45

421-06-17113

BRACKET,LICENSE

SN: 10001-19999

1шт.

46

08137-32400

LAMP ASS'Y,LICENSE

SN: 10001-@

1шт.

|46

08110-12410

BULB¤ 12W

SN: 10001-@

1шт.

47

01010-51225

BOLT

SN: 10001-19999

2шт.

48

01643-31232

WASHER

SN: 10001-19999

2шт.

49

421-06-17150

REFLECTOR

SN: 10001-19999

2шт.

Выбрано товаров: 0