Запчасти Komatsu WA450-1 КЛАПАН УПРАВЛЕНИЯ ТРАНСМИССИЕЙ (/)(№-) ТРАНСМИССИЯ

Схема запчастей Komatsu WA450-1 - КЛАПАН УПРАВЛЕНИЯ ТРАНСМИССИЕЙ (/)(№-) ТРАНСМИССИЯ
FIT
1:1
100%

Артикул

Название

Примечание

Количество

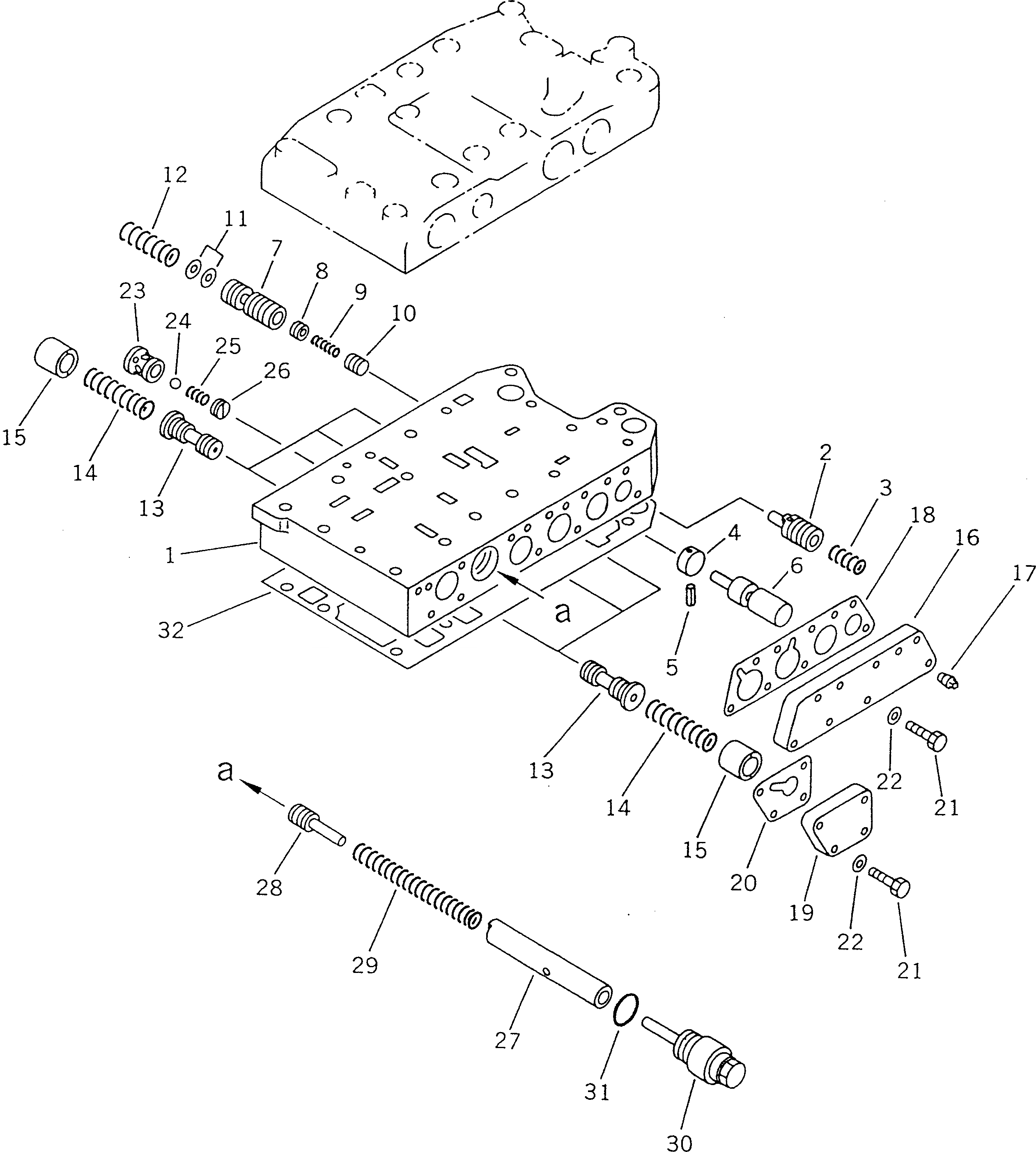
|1

421-15-00014

TRANSMISSION ASS'Y

SN: (3743)-UP

1шт.

|1

0

TRANSMISSION ASS'Y

SN: 20001-(3742)

1шт.

|1

421-15-00304

CONTROL VALVE A.

SN: (3743)-UP

1шт.

|1

0

CONTROL VALVE A.

SN: 20001-(3742)

1шт.

1

424-15-15211

BODY

SN: (3743)-UP

1шт.

|1

424-15-15210

BODY

SN: 10001-(3742)

1шт.

2

232-15-14230

VALVE

SN: 10001-UP

1шт.

3

232-15-14260

SPRING¤ (L= 39.4)

SN: 10001-UP

1шт.

4

424-15-15670

STOPPER

SN: 10001-UP

1шт.

5

04025-00640

PIN,SPRING

SN: 10001-UP

1шт.

6

424-15-15391

VALVE

SN: 10001-UP

1шт.

7

424-15-15340

VALVE

SN: 10001-UP

1шт.

8

104-15-25480

VALVE

SN: 10001-UP

1шт.

9

125-15-15290

SPRING

SN: 10001-UP

1шт.

10

104-15-25490

VALVE

SN: 10001-UP

1шт.

11

113-15-25260

SHIM¤ 0.5MM

SN: 10001-UP

6шт.

12

104-15-25290

SPRING¤ (L= 62.0)

SN: 10001-UP

1шт.

13

424-15-15321

VALVE

SN: 10001-UP

6шт.

14

568-15-15330

SPRING¤ (L= 78.0)

SN: 10001-UP

6шт.

15

424-15-15371

STOPPER

SN: 10001-UP

6шт.

16

424-15-15950

COVER

SN: 10001-UP

1шт.

17

07042-20108

PLUG

SN: 10001-UP

1шт.

18

424-15-15960

GASKET (K3)

SN: 10001-UP

1шт.

19

424-15-15910

COVER

SN: 10001-UP

1шт.

20

424-15-15920

GASKET (K3)

SN: 10001-UP

1шт.

21

01010-50830

BOLT

SN: 10001-UP

12шт.

22

01643-30823

WASHER

SN: 10001-UP

12шт.

23

424-15-15460

VALVE

SN: 10001-UP

1шт.

23A

424-15-15450

SPACER

SN: (3743)-UP

1шт.

24

04260-01270

BALL

SN: 10001-UP

1шт.

25

700-80-63230

SPRING

SN: 10001-UP

1шт.

26

424-15-15470

STOPPER

SN: 10001-UP

1шт.

27

424-15-15442

COLLAR

SN: (3743)-UP

1шт.

|27

424-15-15441

COLLAR

SN: (2150)-(3742)

1шт.

28

424-15-15422

VALVE

SN: (3743)-UP

1шт.

|28

424-15-15421

VALVE

SN: (2150)-(3742)

1шт.

28A

425-15-14240

SHIM¤ 0.5MM

SN: (3743)-UP

2шт.

29

424-15-16231

SPRING¤ (L=162.0)

SN: (3743)-UP

1шт.

|29

424-15-16230

SPRING¤ (L=135.9)

SN: 10001-(3742)

1шт.

30

424-15-15761

PLUG

SN: (3743)-UP

1шт.

|30

424-15-15760

PLUG

SN: 10001-(3742)

1шт.

31

07002-03034

O-RING (K3)

SN: 10001-UP

1шт.

32

424-15-15992

GASKET (K3)

SN: (3509)-UP

1шт.

|32

0

GASKET (K3)

SN: 20001-(3508)

1шт.

Выбрано товаров: 44