Запчасти Komatsu WA450-1 РАДИАТОР COVER(№-9999) КОМПОНЕНТЫ ДВИГАТЕЛЯ И ЭЛЕКТРИКА

Схема запчастей Komatsu WA450-1 - РАДИАТОР COVER(№-9999) КОМПОНЕНТЫ ДВИГАТЕЛЯ И ЭЛЕКТРИКА
FIT
1:1
100%

Артикул

Название

Примечание

Количество

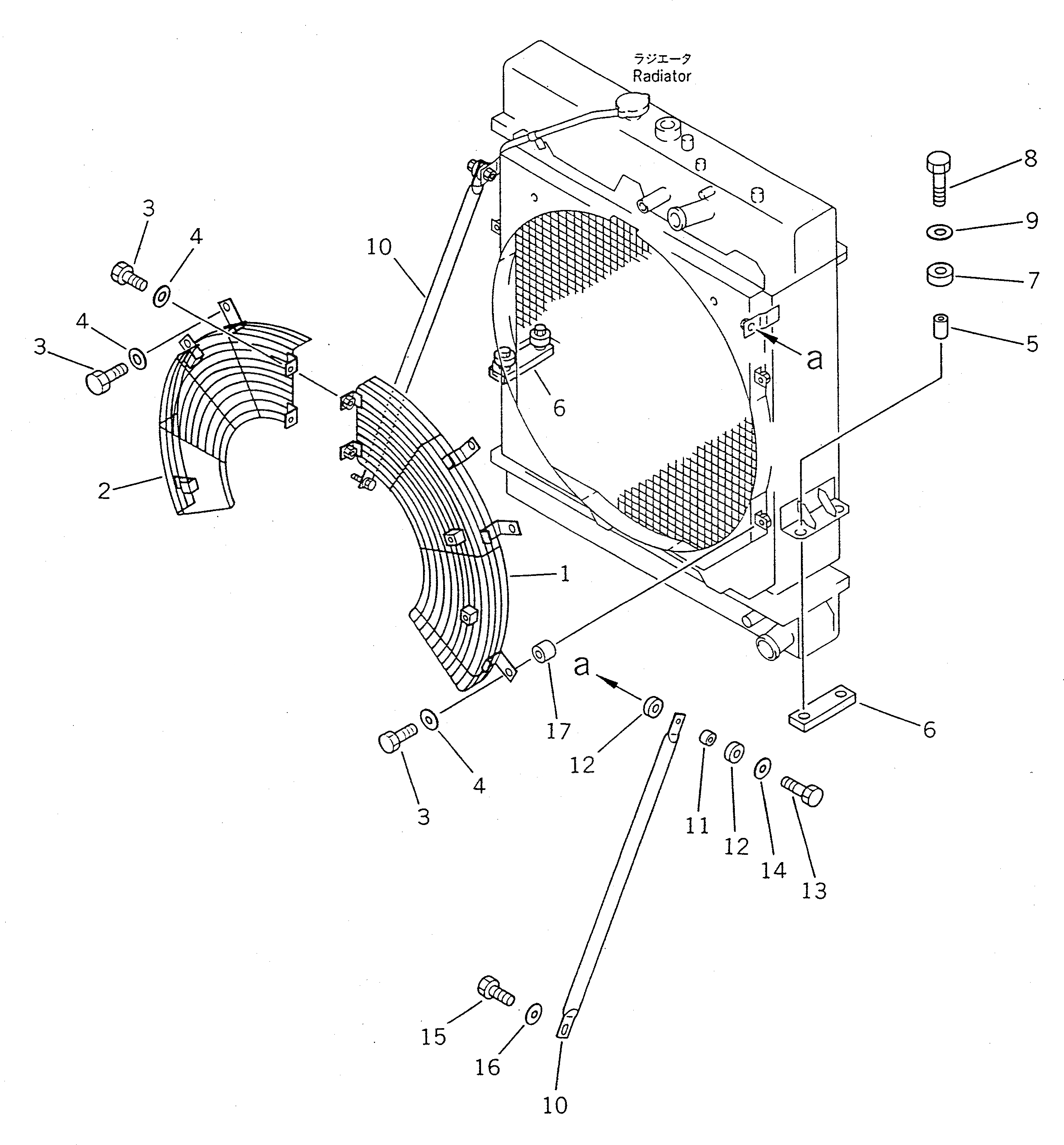
1

421-03-11526

NET,L.H.

SN: 10001-19999

1шт.

|1

0

NET,L.H.

SN: (10385-11298)

1шт.

|1

0

NET,L.H.

SN: (10207-10384)

1шт.

|1

0

NET,L.H.

SN: (10001-10206)

1шт.

2

421-03-11516

NET,R.H.

SN: 10001-19999

1шт.

|2

0

NET,R.H.

SN: (10385-11298)

1шт.

|2

0

NET,R.H.

SN: (10207-10384)

1шт.

|2

0

NET,R.H.

SN: (10001-10206)

1шт.

3

01010-51020

BOLT

SN: 10001-19999

8шт.

4

01643-31032

WASHER

SN: 10001-19999

8шт.

5

421-03-11370

SPACER

SN: 10001-11019

4шт.

6

421-03-11360

CUSHION

SN: 10001-11019

2шт.

7

421-03-11430

CUSHION

SN: 10001-11019

4шт.

8

01010-51225

BOLT

SN: 11020-19999

4шт.

|8

01010-51255

BOLT

SN: 10001-11019

4шт.

9

01643-31232

WASHER

SN: 11020-19999

4шт.

|9

205-70-65890

WASHER

SN: 10001-11019

4шт.

10

421-03-11421

STAY

SN: 11020-19999

2шт.

|10

421-03-11420

STAY

SN: 10001-11019

2шт.

11

421-03-11530

SPACER

SN: 10001-11019

2шт.

12

421-03-11381

CUSHION

SN: 10001-11019

4шт.

13

01010-51230

BOLT

SN: 11020-19999

2шт.

|13

01010-51240

BOLT

SN: 10001-11019

2шт.

14

01643-31232

WASHER

SN: 11020-19999

2шт.

|14

205-70-65890

WASHER

SN: 10001-11019

2шт.

15

01010-51230

BOLT

SN: 10001-19999

2шт.

16

01643-31232

WASHER

SN: 10001-19999

2шт.

17

423-54-11340

SPACER

SN: 10001-11298

2шт.

Выбрано товаров: 28