Запчасти Komatsu WA450-1 КОРПУС ПЕРЕДНЕГО МОСТА(№-9999) ВЕДУЩ. ВАЛ¤ ДИФФЕРЕНЦ. И КОЛЕСА

Схема запчастей Komatsu WA450-1 - КОРПУС ПЕРЕДНЕГО МОСТА(№-9999) ВЕДУЩ. ВАЛ¤ ДИФФЕРЕНЦ. И КОЛЕСА
FIT
1:1
100%

Артикул

Название

Примечание

Количество

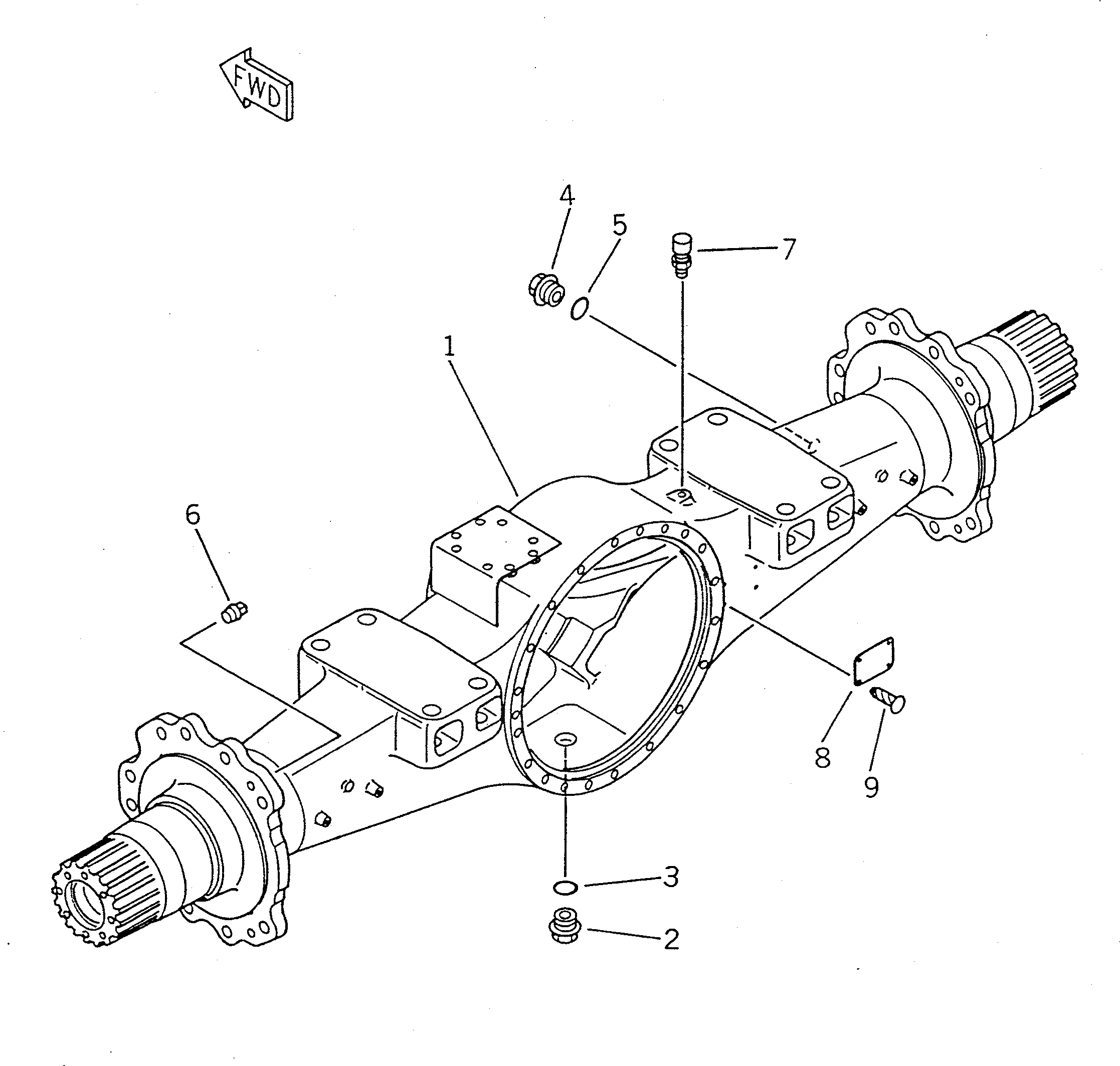
|1

421-22-10013

AXLE ASS'Y

SN: 10928-19999

1шт.

|1

0

AXLE ASS'Y

SN: 10616-10927

1шт.

|1

0

AXLE ASS'Y

SN: 10001-10615

1шт.

|1

421-22-13013

HOUSING ASS'Y

SN: 10241-19999

1шт.

|1

0

HOUSING ASS'Y

SN: 10001-10240

1шт.

1

421-22-13105

HOUSING

SN: 10241-19999

1шт.

|1

0

HOUSING

SN: 10001-10240

1шт.

2

07044-13620

PLUG

SN: 10001-@

1шт.

3

07002-03634

O-RING (K4)

SN: 10001-@

1шт.

4

566-16-11351

PLUG

SN: 10001-19999

1шт.

5

07002-03634

O-RING (K4)

SN: 10001-19999

1шт.

6

07042-20312

PLUG

SN: 10001-19999

4шт.

7

07030-01030

BREATHER

SN: 10001-@

1шт.

8

22X-22-13171

PLATE¤ NAME,(LIMITED SUPPLY)

SN: 10001-@

1шт.

9

04418-03060

SCREW

SN: 10001-@

4шт.

Выбрано товаров: 0