Запчасти Komatsu WA450-2 FIG NO. КОНДИЦ. ВОЗДУХА REFRIGERANT КОМПРЕССОР КРЕПЛЕНИЕ ДЛЯ MACHINES заводской номер A THRU A8 И A87 THRU A РАМА, ЧАСТИ КОРПУСА & SUPERSTRUCTURE

Схема запчастей Komatsu WA450-2 - FIG NO. КОНДИЦ. ВОЗДУХА REFRIGERANT КОМПРЕССОР КРЕПЛЕНИЕ ДЛЯ MACHINES заводской номер A THRU A8 И A87 THRU A РАМА, ЧАСТИ КОРПУСА & SUPERSTRUCTURE
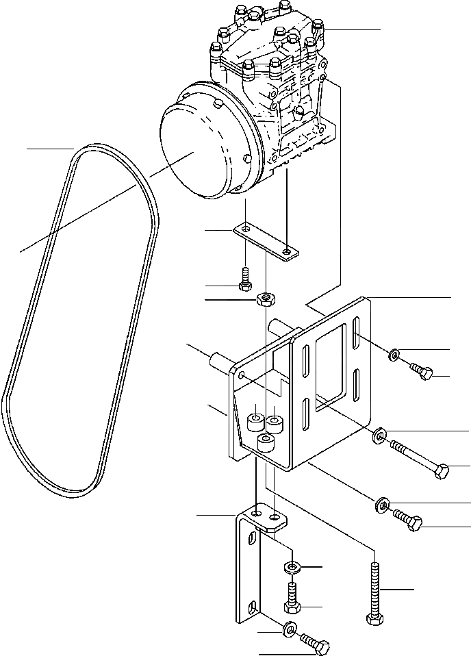
1
13
2
3
5
4
7
6
11
8
11
9
10
11
12
10
11
10
FIT
1:1
100%

Артикул

Название

Примечание

Количество

1

COMPRESSOR ASSEMBLY, REFRIGERANT (SEE PG 05-164)

-29шт.

2

421-963-A110

BAR

1шт.

3

01010-80830

BOLT

2шт.

4

01580-11008

NUT

1шт.

5

421-963-A101

BRACKET, MOUNTING

1шт.

6

01010-80825

BOLT

4шт.

7

154-61-16570

WASHER

4шт.

8

01010-81070

BOLT

2шт.

9

421-963-A121

BRACKET

1шт.

10

01010-81030

BOLT

6шт.

11

01643-31032

WASHER

8шт.

12

01016-51090

BOLT

1шт.

13

04120-43142

BELT

1шт.

Выбрано товаров: 13