Качественные детали и логистика
Оригинальные и аналоговые запчасти с доставкой по России, Казахстану и Беларуси
©2022 PartSell ООО "Система" ИНН 2463123282 ОГРН 1212400004838
Центральный офис: г. Красноярск, Академика Киренского, д.87, пом.4
Телефон: 8 (800) 777-65-74 Email: zakaz@partsell.ru
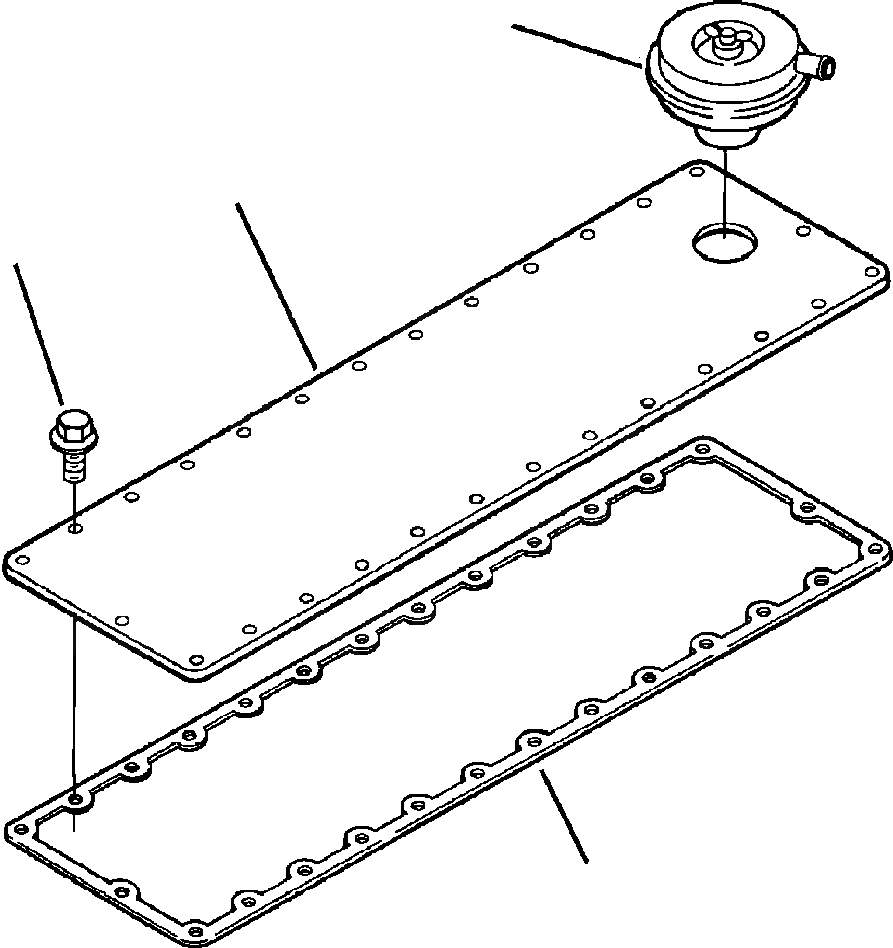
РЫЧАГ КОРОМЫСЛА COVER
№
Артикул
Название
Примечание
Количество
1
1294 486 H1
COVER, ROCKER LEVER
1шт.
2
1238 963 H1
BREATHER, CRANKCASE
3
1246 540 H1
GASKET, VALVE COVER
4
6732-71-3220
BOLT (M8x1.25x20)
28шт.
Выбрано товаров: 0