Запчасти Komatsu WA450-2 АНТИКОРРОЗ. ЭЛЕМЕНТ СИСТЕМА ОХЛАЖДЕНИЯ

Схема запчастей Komatsu WA450-2 - АНТИКОРРОЗ. ЭЛЕМЕНТ СИСТЕМА ОХЛАЖДЕНИЯ
9
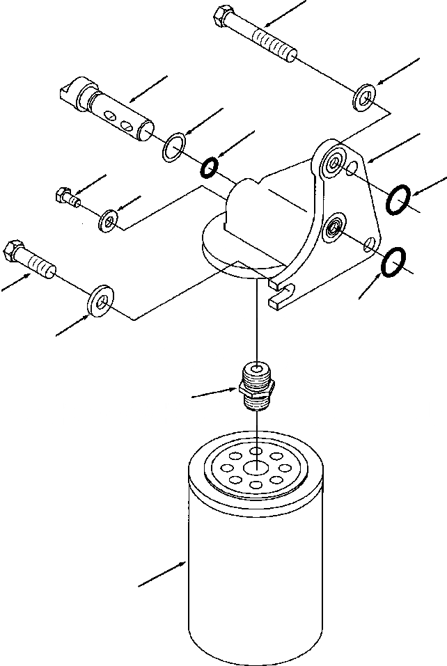
12
5
2
3
1
7
8
6
11
8
13
4
10
FIT
1:1
100%

Артикул

Название

Примечание

Количество

|$0

1294 212 H91

HEAD, CORROSION RESISTOR

1шт.

1

NSS

HEAD, CORROSION RESISTOR

1шт.

2

6742-01-3390

O-RING

1шт.

3

1238 715 H1

WASHER, SPRING

1шт.

4

6742-01-3410

INSERT, FILTER HEAD

1шт.

5

1241 651 H1

SHAFT, SHUTOFF VALVE

1шт.

6

1240 471 H1

WASHER, LOCK (1/4 INCH)

1шт.

7

1240 482 H1

BOLT (M6x1.00x12)

1шт.

8

1310 700 H1

SEAL, RECTANGULAR RING

2шт.

9

1240 442 H2

BOLT (M10x1.50x65)

1шт.

10

6216-64-8280

ELEMENT, CORROSION RESISTOR

1шт.

11

1294 287 H1

BOLT (M10x1.50x35)

2шт.

12

6735-71-5670

WASHER, PLAIN (M10)

1шт.

13

25 544 R1

WASHER, PLAIN

2шт.

Выбрано товаров: 14