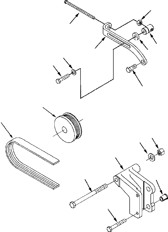
Запчасти Komatsu WA450-2 КРЕПЛЕНИЕ ГЕНЕРАТОРА USE С ALL APPLICATIONS ЭЛЕКТРИКА

Схема запчастей Komatsu WA450-2 - КРЕПЛЕНИЕ ГЕНЕРАТОРА USE С ALL APPLICATIONS ЭЛЕКТРИКА
7
4
6
1
5
9
16
8
13
15
12
11
2
10
3
14
FIT
1:1
100%

Артикул

Название

Примечание

Количество

1

1294 095 H1

LINK, ADJUSTING

1шт.

2

1296 132 H1

SUPPORT, ALTERNATOR

1шт.

3

1296 133 H1

SPACER, MOUNTING

2шт.

4

1246 255 H1

BOLT (M10x1.50x170)

1шт.

5

1246 252 H1

SPACER, MOUNTING

1шт.

6

1294 096 H1

RETAINER, ADJUSTING BOLT

1шт.

7

1304 970 H1

NUT, REGULAR HEXAGON

1шт.

8

1246 258 H1

BOLT (M12x1.75x30)

1шт.

9

6735-71-5670

WASHER, PLAIN (M10)

1шт.

10

1304 971 H1

BOLT

1шт.

11

1304 972 H1

WASHER, PLAIN

1шт.

12

6216-84-6230

NUT, LOCK (1/2-20 UNF)

1шт.

13

1246 256 H1

PULLEY, ALTERNATOR

1шт.

14

1246 250 H2

BOLT (M10x1.50x70)

2шт.

15

1304 973 H1

BELT, V RIBBED

1шт.

16

1238 017 H1

BOLT (3/8-16x1 3/4 INCH)

1шт.

Выбрано товаров: 0