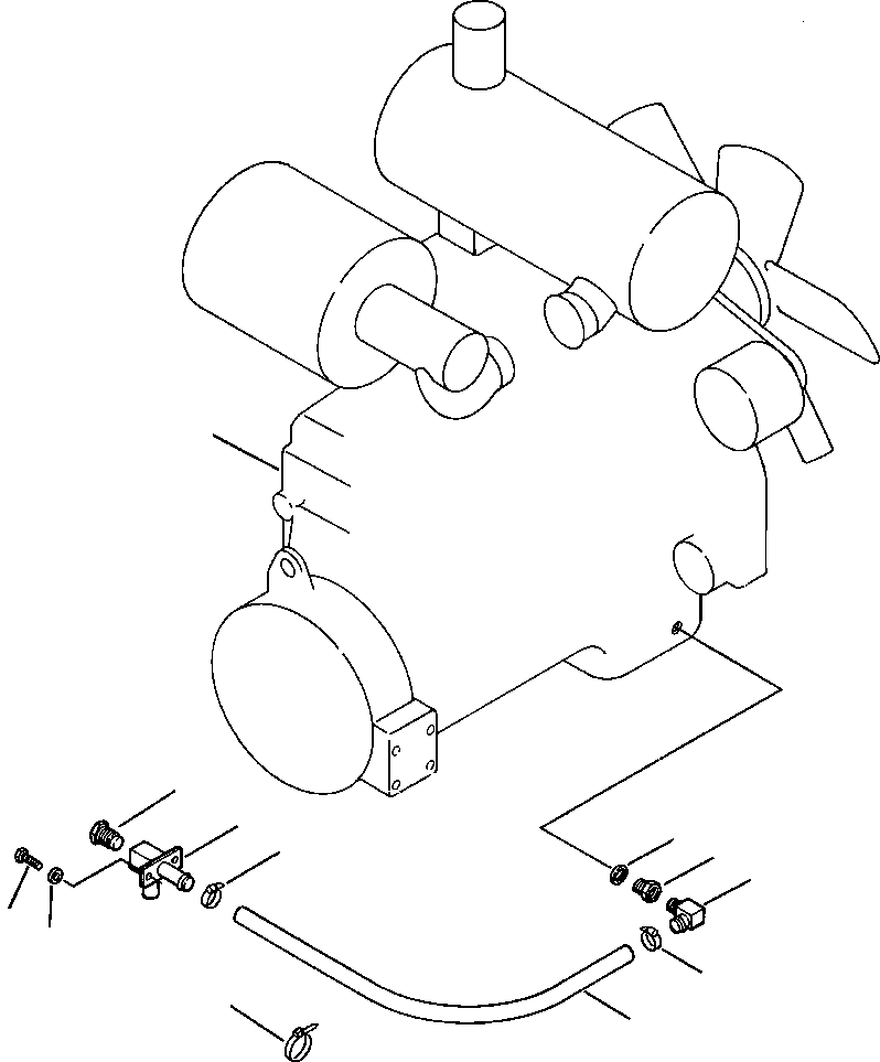
Запчасти Komatsu WA450-2 FIG NO. ДРЕНАЖ МАСЛА КОМПОНЕНТЫ ДВИГАТЕЛЯ & ЭЛЕКТРИКА

Схема запчастей Komatsu WA450-2 - FIG NO. ДРЕНАЖ МАСЛА КОМПОНЕНТЫ ДВИГАТЕЛЯ & ЭЛЕКТРИКА
11
6
5
2
4
10
1
7
8
4
9
3
FIT
1:1
100%

Артикул

Название

Примечание

Количество

1

418-03-10150

ELBOW

1шт.

2

WASHER, FLAT

1шт.

3

07261-22010

HOSE

1шт.

4

07281-00359

CLAMP

2шт.

5

421-01-A1570

TUBE

1шт.

6

424-01-11110

PLUG

1шт.

7

01010-81025

BOLT

2шт.

8

01643-31032

WASHER

2шт.

9

08034-00536

BAND

1шт.

10

425-01-12220

BUSHING

1шт.

11

ENGINE AND ACCESSORIES

1шт.

N/I

1240 006 H1

WASHER, PLAIN

2шт.

N/I

08036-23014

CLIP

1шт.

N/I

01010-81016

BOLT

1шт.

N/I

01643-31032

WASHER

1шт.

N/I

01583-13621

NUT

1шт.

N/I

07002-23634

O-RING

1шт.

N/I

421-01-11180

ELBOW

1шт.

N/I

07260-22045

HOSE

1шт.

N/I

07281-00359

CLAMP

2шт.

|$$21

-1шт.

|$21

F1 - REFER TO SECTION E FOR FURTHER INFORMATION ON ENGINE PARTS.

-1шт.

|$$23

-1шт.

Выбрано товаров: 23