Запчасти Komatsu WA450-3-X ЭЛЕКТРИКА (КОВШ АВТОМАТИЧ. УРОВЕНЬING СИСТЕМА ЛИНИЯ) (/)(ОСНОВН. КОНСТРУКЦИЯ ЛИНИЯ)(№-) КОМПОНЕНТЫ ДВИГАТЕЛЯ И ЭЛЕКТРИКА

Схема запчастей Komatsu WA450-3-X - ЭЛЕКТРИКА (КОВШ АВТОМАТИЧ. УРОВЕНЬING СИСТЕМА ЛИНИЯ) (/)    (ОСНОВН. КОНСТРУКЦИЯ ЛИНИЯ)(№-) КОМПОНЕНТЫ ДВИГАТЕЛЯ И ЭЛЕКТРИКА
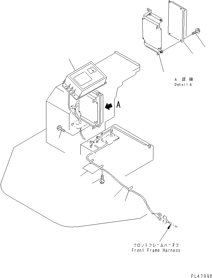
1
2
3
4
5
6
7
7
8
FIT
1:1
100%

Артикул

Название

Примечание

Количество

1

421-S32-2110

WIRING HARNESS

SN: 60001-UP

1шт.

2

7823-54-2000

MONITOR ASS'Y,MAINTENANCE

SN: 60001-UP

1шт.

3

7823-24-1001

CONTROLLER ASS'Y

SN: 60001-UP

1шт.

4

421-06-21120

BRACKET

SN: 60001-UP

1шт.

5

01435-00816

BOLT

SN: 60001-UP

4шт.

6

01435-01016

BOLT

SN: 60001-UP

4шт.

7

08036-02514

CLIP

SN: 60001-UP

3шт.

8

01435-01016

BOLT

SN: 60001-UP

3шт.

Выбрано товаров: 8