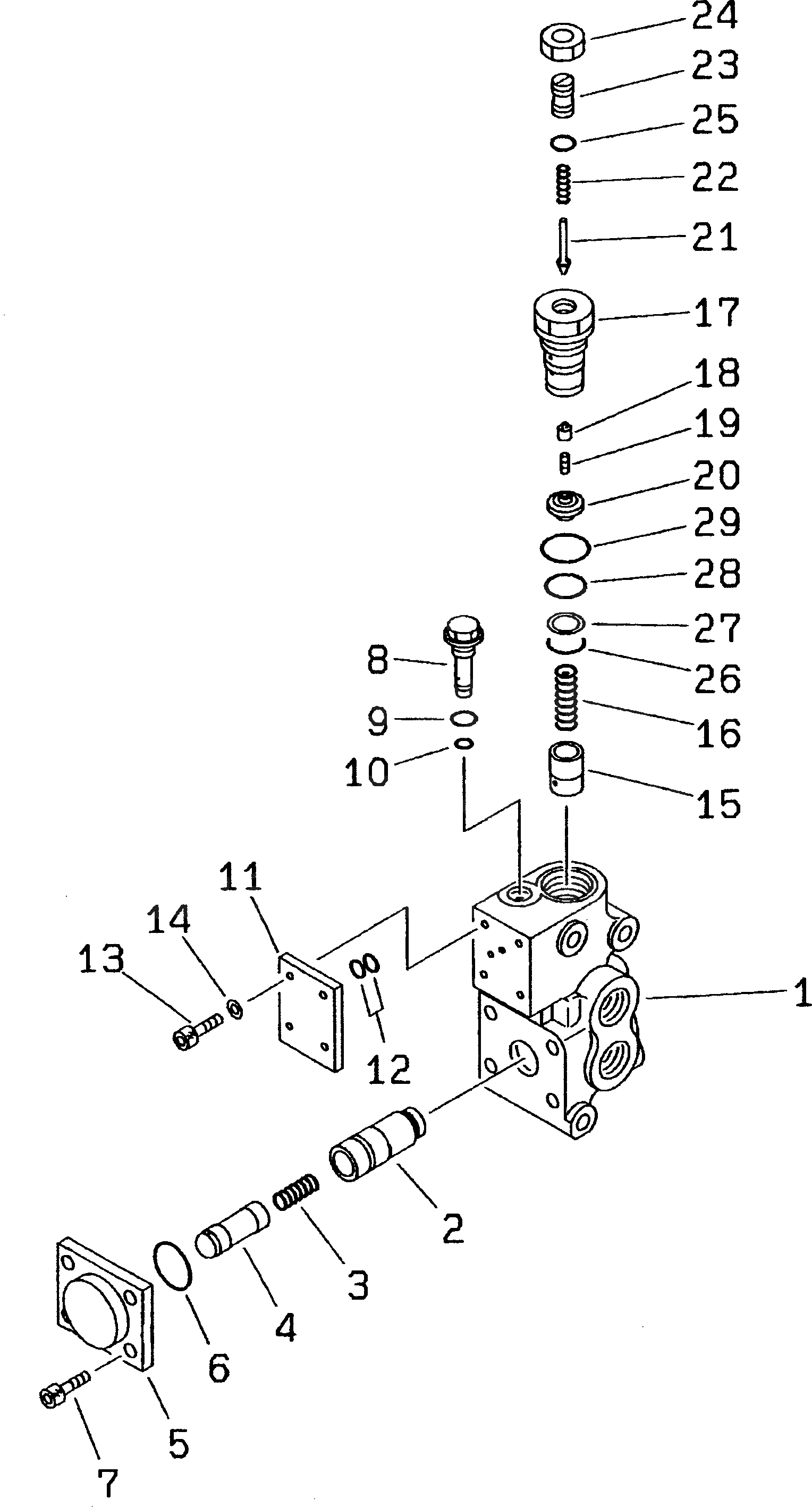
Запчасти Komatsu WA450-3A-S ОТСЕКАЮЩИЙ КЛАПАН(№-) РУЛЕВ. УПРАВЛЕНИЕ И СИСТЕМА УПРАВЛЕНИЯ

Схема запчастей Komatsu WA450-3A-S - ОТСЕКАЮЩИЙ КЛАПАН(№-) РУЛЕВ. УПРАВЛЕНИЕ И СИСТЕМА УПРАВЛЕНИЯ
FIT
1:1
100%

Артикул

Название

Примечание

Количество

|1

702-21-04141

VALVE ASS'Y

SN: 50110-UP

1шт.

|1

702-21-04140

VALVE ASS'Y

SN: 50001-50109

1шт.

1

0

BODY

SN: 50001-UP

1шт.

2

0

VALVE

SN: 50001-UP

1шт.

3

702-21-37220

SPRING

SN: 50001-UP

1шт.

4

0

PISTON

SN: 50001-UP

1шт.

5

0

FLANGE

SN: 50001-UP

1шт.

6

07000-13032

O-RING

SN: 50001-UP

1шт.

7

01252-31025

BOLT

SN: 50001-UP

4шт.

8

702-21-37251

SCREEN ASS'Y

SN: 50001-UP

1шт.

9

07002-11423

O-RING

SN: 50001-UP

1шт.

10

07000-11007

O-RING

SN: 50001-UP

1шт.

11

0

FLANGE

SN: 50001-UP

1шт.

12

07000-11009

O-RING

SN: 50001-UP

2шт.

13

01252-30516

BOLT

SN: 50001-UP

4шт.

14

708-25-15370

WASHER

SN: 50001-UP

4шт.

15

706-73-72420

VALVE

SN: 50001-UP

1шт.

16

706-73-72440

SPRING

SN: 50001-UP

1шт.

|17

702-21-04170

VALVE ASS'Y,RELIEF

SN: 50110-UP

1шт.

|17

702-21-04130

VALVE ASS'Y,RELIEF

SN: 50001-50109

1шт.

17

0

SLEEVE

SN: 50001-UP

1шт.

18

0

PISTON

SN: 50001-UP

1шт.

19

0

PISTON

SN: 50001-UP

1шт.

20

0

RETAINER

SN: 50001-UP

1шт.

21

0

POPPET

SN: 50001-UP

1шт.

22

0

SPRING

SN: 50001-UP

1шт.

23

0

SCREW

SN: 50001-UP

1шт.

24

0

NUT

SN: 50001-UP

1шт.

25

0

O-RING

SN: 50001-UP

1шт.

26

07000-12020

O-RING

SN: 50001-UP

1шт.

27

07001-02020

RING,BACK-UP

SN: 50001-UP

1шт.

28

700-13-31161

O-RING

SN: 50001-UP

1шт.

29

07002-03034

O-RING

SN: 50001-UP

1шт.

Выбрано товаров: 33