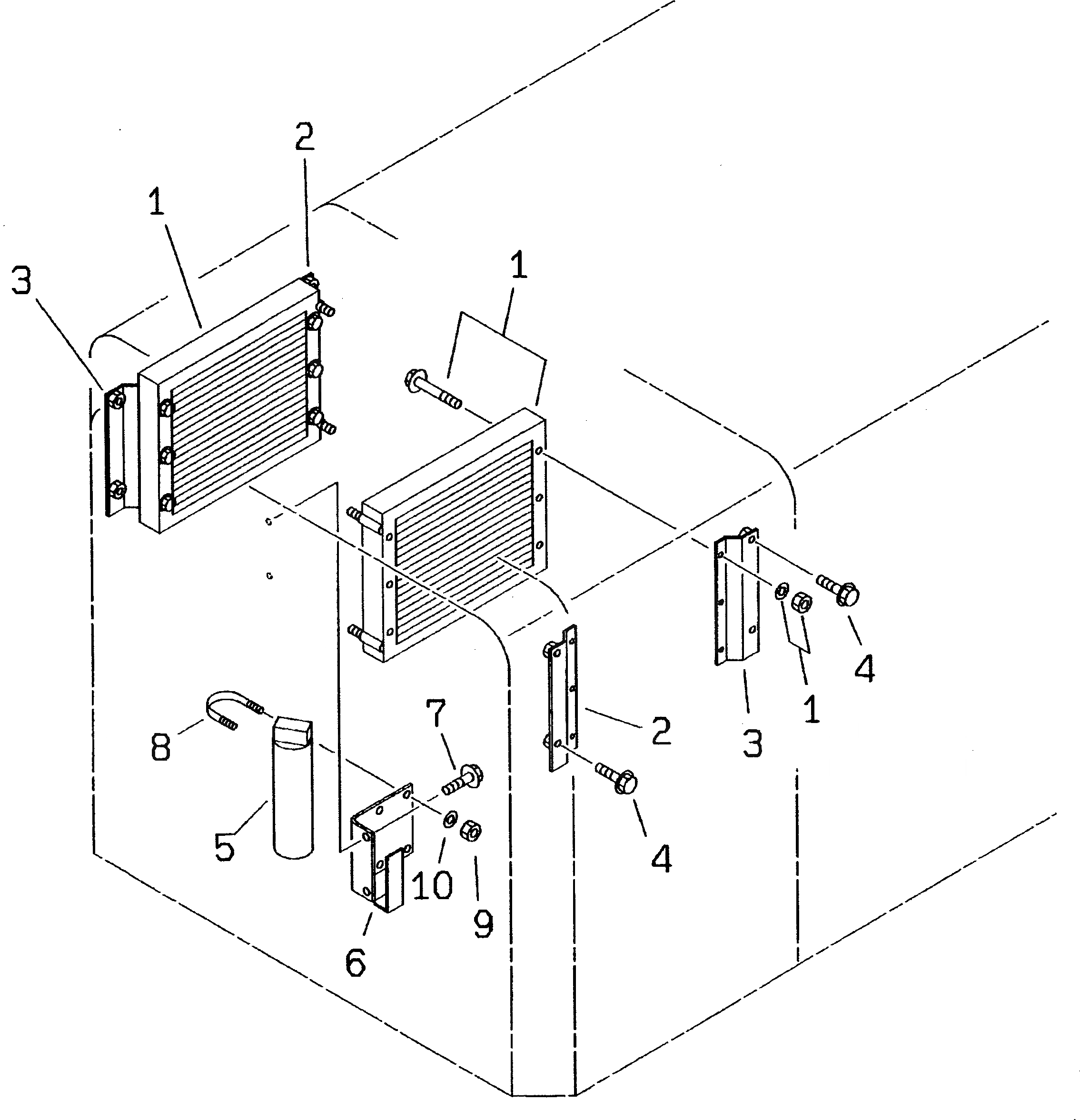
Запчасти Komatsu WA450-3A-S КОМПОНЕНТЫ КОНДИЦИОНЕРА (/8) (КРЕПЛЕНИЕ КОНДЕНСАТОРА)(№-) РАМА И ЧАСТИ КОРПУСА

Схема запчастей Komatsu WA450-3A-S - КОМПОНЕНТЫ КОНДИЦИОНЕРА (/8) (КРЕПЛЕНИЕ КОНДЕНСАТОРА)(№-) РАМА И ЧАСТИ КОРПУСА
FIT
1:1
100%

Артикул

Название

Примечание

Количество

1

421-07-21530

CONDENSER ASS'Y

SN: 50001-UP

2шт.

2

421-07-22150

BRACKET

SN: 50001-UP

2шт.

3

421-07-22210

BRACKET

SN: 50001-UP

2шт.

4

01435-01225

BOLT

SN: 50001-UP

8шт.

5

20Y-979-3120

TANK

SN: 50004-UP

1шт.

|5

421-07-21540

TANK,RECEIVER

SN: 50001-50003

1шт.

6

421-S62-2140

BRACKET

SN: 50001-UP

1шт.

7

01435-01220

BOLT

SN: 50001-UP

2шт.

8

07283-26155

CLIP

SN: 50001-UP

2шт.

9

01599-01011

NUT

SN: 50001-UP

4шт.

10

01643-31032

WASHER

SN: 50001-UP

4шт.

Выбрано товаров: 11