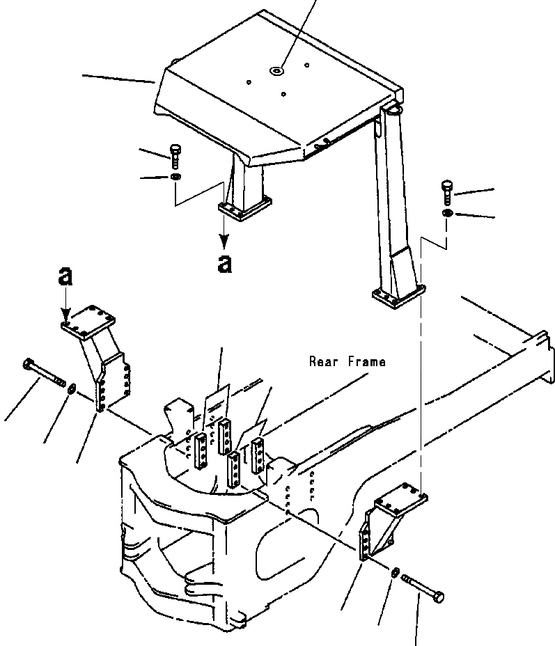
Запчасти Komatsu WA450-3L FIG. K-A СИСТЕМА ROPS КАБИНА ОПЕРАТОРА И СИСТЕМА УПРАВЛЕНИЯ

Схема запчастей Komatsu WA450-3L - FIG. K-A СИСТЕМА ROPS КАБИНА ОПЕРАТОРА И СИСТЕМА УПРАВЛЕНИЯ
9
1
2
3
2
3
8
8
6
7
5
4
7
6
FIT
1:1
100%

Артикул

Название

Примечание

Количество

1

421-921-2020

CANOPY, ROPS

SN: A30001-UP-UP

1шт.

2

01010-32480

BOLT

SN: A30001-UP-UP

12шт.

3

01643-32460

WASHER

SN: A30001-UP-UP

12шт.

4

421-928-1131

SUPPORT, L.H.

SN: A30001-UP-UP

1шт.

5

421-928-1121

SUPPORT, R.H.

SN: A30001-UP-UP

1шт.

6

421-928-1150

BOLT

SN: A30001-UP-UP

16шт.

7

01643-32460

WASHER

SN: A30001-UP-UP

16шт.

8

421-928-A210

PLATE

SN: A30001-UP-UP

4шт.

9

421-921-2410

GROMMET

SN: A30001-UP-UP

1шт.

N/I

01220-70412

SCREW

SN: A30001-UP-UP

2шт.

Выбрано товаров: 10