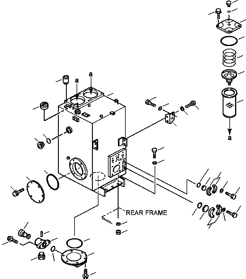
Запчасти Komatsu WA450-3MC FIG. H-A ГИДР. БАК. ГИДРАВЛИКА

Схема запчастей Komatsu WA450-3MC - FIG. H-A ГИДР. БАК. ГИДРАВЛИКА
19
20
18
21
22
23
24
17
1
31
25
32
2
30
32
29
16
15
27
28
35
4
33
3
34
37
5
36
41
40
10
28
39
42
26
11
38
9
8
14
6
12
13
7
FIT
1:1
100%

Артикул

Название

Примечание

Количество

1

421-60-25122

HYDRAULIC TANK

SN: A31001-UP-UP

1шт.

2

07092-01000

CAP

SN: A31001-UP-UP

1шт.

3

428-04-11120

COVER

SN: A31001-UP-UP

1шт.

4

07000-15200

O-RING

SN: A31001-UP-UP

1шт.

5

01435-01025

BOLT

SN: A31001-UP-UP

6шт.

6

425-60-15230

COVER

SN: A31001-UP-UP

1шт.

7

01435-01025

BOLT

SN: A31001-UP-UP

6шт.

8

07000-15200

O-RING

SN: A31001-UP-UP

1шт.

|$8

426-60-15150

VALVE ASSEMBLY

SN: A31001-UP-UP

1шт.

9

NSS

BODY VALVE

SN: A31001-UP-UP

1шт.

10

NSS

VALVE

SN: A31001-UP-UP

1шт.

11

04020-00514

PIN, DOWEL

SN: A31001-UP-UP

1шт.

12

426-60-15160

PLUG

SN: A31001-UP-UP

1шт.

13

07000-73028

O-RING

SN: A31001-UP-UP

1шт.

14

01435-01025

BOLT

SN: A31001-UP-UP

2шт.

15

421-60-11622

GAUGE, SIGHT

SN: A31001-UP-UP

1шт.

16

07002-15234

O-RING

SN: A31001-UP-UP

1шт.

17

657 882 C91

BREATHER ASSEMBLY

SN: A31001-UP-UP

1шт.

18

01435-01230

BOLT

SN: A31001-UP-UP

8шт.

19

424-60-15150

PLUG

SN: A31001-UP-UP

2шт.

20

07000-12010

O-RING

SN: A31001-UP-UP

2шт.

21

195-60-16242

COVER

SN: A31001-UP-UP

2шт.

22

07000-15175

O-RING

SN: A31001-UP-UP

2шт.

23

195-60-16330

SPRING

SN: A31001-UP-UP

2шт.

24

419-60-25410

VALVE ASSEMBLY

SN: A31001-UP-UP

2шт.

25

07063-01142

ELEMENT

SN: A31001-UP-UP

2шт.

26

01580-01613

NUT

SN: A31001-UP-UP

3шт.

27

01010-81645

BOLT

SN: A31001-UP-UP

3шт.

28

01643-31645

WASHER

SN: A31001-UP-UP

6шт.

29

421-60-25310

BRACKET

SN: A31001-UP-UP

1шт.

30

01010-81640

BOLT

SN: A31001-UP-UP

4шт.

31

01010-81635

BOLT

SN: A31001-UP-UP

2шт.

32

01643-31645

WASHER

SN: A31001-UP-UP

6шт.

33

07371-31049

FLANGE, SPLIT

SN: A31001-UP-UP

2шт.

34

07378-11000

HEAD, SLEEVE

SN: A31001-UP-UP

1шт.

35

07000-13032

O-RING

SN: A31001-UP-UP

1шт.

36

07372-21030

BOLT

SN: A31001-UP-UP

4шт.

37

01643-51032

WASHER

SN: A31001-UP-UP

4шт.

38

07371-31465

FLANGE, SPLIT

SN: A31001-UP-UP

2шт.

39

07378-11400

HEAD, SLEEVE

SN: A31001-UP-UP

1шт.

40

07000-13048

O-RING

SN: A31001-UP-UP

1шт.

41

07372-21240

BOLT

SN: A31001-UP-UP

4шт.

42

01643-51232

WASHER

SN: A31001-UP-UP

4шт.

Выбрано товаров: 0