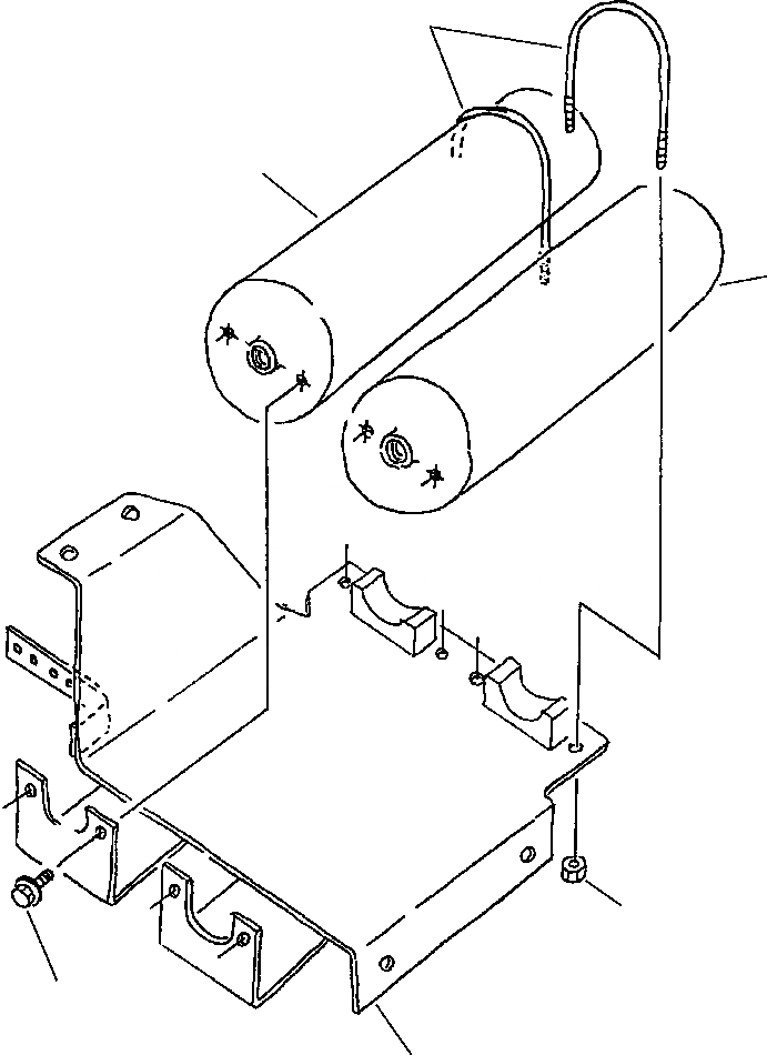
Запчасти Komatsu WA450-3MC FIG. H-9A ГИДРОЛИНИЯ - E.C.S.S. - АККУМУЛЯТОР КРЕПЛЕНИЕ ГИДРАВЛИКА

Схема запчастей Komatsu WA450-3MC - FIG. H-9A ГИДРОЛИНИЯ - E.C.S.S. - АККУМУЛЯТОР КРЕПЛЕНИЕ ГИДРАВЛИКА
3
1
2
4
6
5
FIT
1:1
100%

Артикул

Название

Примечание

Количество

1

421-S99-A210

ACCUMULATOR, LOW PRESSURE

SN: A31001-UP-UP

1шт.

2

421-S99-A160

ACCUMULATOR, HIGH PRESSURE

SN: A31001-UP-UP

1шт.

3

421-S99-1351

U-BOLT

SN: A31001-UP-UP

2шт.

4

01594-01210

NUT

SN: A31001-UP-UP

4шт.

5

421-S99-2131

BRACKET

SN: A31001-UP-UP

1шт.

6

01435-01225

BOLT

SN: A31001-UP-UP

4шт.

N/I

01435-01230

BOLT

SN: A31001-UP-UP

4шт.

Выбрано товаров: 7