Запчасти Komatsu WA450-5L ГИДРОЛИНИЯ (E.C.S.S. АККУМУЛЯТОР КРЕПЛЕНИЕ) ГИДРАВЛИКА

Схема запчастей Komatsu WA450-5L - ГИДРОЛИНИЯ (E.C.S.S. АККУМУЛЯТОР КРЕПЛЕНИЕ) ГИДРАВЛИКА
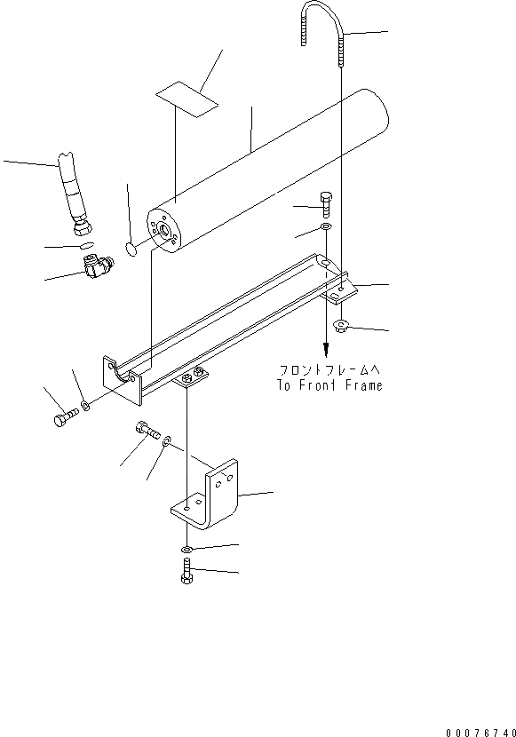
1
2
3
4
5
6
7
7
8
8
9
10
11
12
13
14
15
16
FIT
1:1
100%

Артикул

Название

Примечание

Количество

1

ACCUMULATOR,(SEE FIG. H4200-16A0)

SN: A36001-UP

-1шт.

2

01010-81230

BOLT

SN: A36001-UP

2шт.

3

01643-31232

WASHER

SN: A36001-UP

2шт.

4

421-S99-3132

CLIP

SN: A36001-UP

1шт.

5

01594-01008

NUT

SN: A36001-UP

2шт.

6

421-S99-3512

BRACKET

SN: A36001-UP

1шт.

7

01010-81230

BOLT

SN: A36001-UP

4шт.

8

01643-31232

WASHER

SN: A36001-UP

4шт.

9

02782-10628

ELBOW

SN: A36001-UP

1шт.

10

02896-11018

O-RING

SN: A36001-UP

1шт.

11

07002-12434

O-RING

SN: A36001-UP

1шт.

12

09659-A057B

PLATE, SAFETY

SN: A36001-UP

1шт.

13

HOSE,(SEE FIG. H4200-15A0)

SN: A36001-UP

-1шт.

14

421-S99-A280

BRACKET

SN: A36001-UP

1шт.

15

01010-81225

BOLT

SN: A36001-UP

2шт.

16

01643-31232

WASHER

SN: A36001-UP

2шт.

Выбрано товаров: 16