Запчасти Komatsu WA450-6 СИДЕНЬЕ ОПЕРАТОРА (КОНСОЛЬ) (GRAMMER) (ДЛЯ УПРАВЛ-Е ДЖОЙСТИКОМ) (/) КАБИНА ОПЕРАТОРА И СИСТЕМА УПРАВЛЕНИЯ

Схема запчастей Komatsu WA450-6 - СИДЕНЬЕ ОПЕРАТОРА (КОНСОЛЬ) (GRAMMER) (ДЛЯ УПРАВЛ-Е ДЖОЙСТИКОМ) (/) КАБИНА ОПЕРАТОРА И СИСТЕМА УПРАВЛЕНИЯ
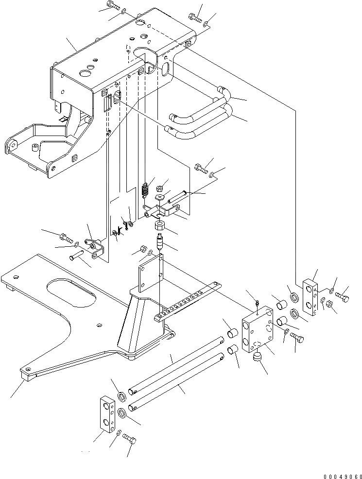
1
2
3
3
3
3
4
5
6
7
8
9
10
11
11
12
13
14
15
16
16
17
17
18
18
19
19
19
19
20
21
22
23
24
24
25
25
26
27
28
29
30
31
32
33
34
35
36
37
38
FIT
1:1
100%

Артикул

Название

Примечание

Количество

1

425-S33-3181

BRACKET

SN: 66001-UP

1шт.

2

425-S33-3461

GUIDE

SN: 66001-UP

1шт.

3

426-40-32350

BUSHING

SN: 66001-UP

4шт.

4

01010-80850

BOLT

SN: 66001-UP

4шт.

5

01643-30823

WASHER

SN: 66001-UP

4шт.

6

01643-30823

WASHER

SN: 66001-UP

4шт.

7

01580-10806

NUT

SN: 66001-UP

4шт.

8

07020-00001

FITTING,GREASE

SN: 66001-UP

1шт.

9

07043-70415

PLUG

SN: 66001-UP

1шт.

10

425-S33-3311

BRACKET

SN: 66001-UP

1шт.

11

426-40-32481

GUIDE

SN: 66001-UP

2шт.

12

01010-80855

BOLT

SN: 66001-UP

4шт.

13

01643-30823

WASHER

SN: 66001-UP

4шт.

14

01643-30823

WASHER

SN: 66001-UP

4шт.

15

01580-10806

NUT

SN: 66001-UP

4шт.

16

425-S33-3231

ROD

SN: 66001-UP

2шт.

17

01010-80635

BOLT

SN: 66001-UP

4шт.

18

01643-30623

WASHER

SN: 66001-UP

4шт.

19

426-40-32360

PACKING

SN: 66001-UP

4шт.

20

425-S33-3250

HANDLE

SN: 66001-UP

1шт.

21

01010-80820

BOLT

SN: 66001-UP

2шт.

22

01643-30823

WASHER

SN: 66001-UP

2шт.

23

425-S33-3260

HANDLE

SN: 66001-UP

1шт.

24

01010-80820

BOLT

SN: 66001-UP

2шт.

25

01643-30823

WASHER

SN: 66001-UP

2шт.

26

425-S33-3280

LEVER

SN: 66001-UP

1шт.

27

154-61-16930

PIN

SN: 66001-UP

1шт.

28

01641-20812

WASHER

SN: 66001-UP

1шт.

29

04052-20833

PIN,SNAP

SN: 66001-UP

1шт.

30

425-S33-3240

LEVER

SN: 66001-UP

1шт.

31

198-911-2550

PIN

SN: 66001-UP

1шт.

32

01641-20812

WASHER

SN: 66001-UP

1шт.

33

04052-20833

PIN,SNAP

SN: 66001-UP

1шт.

34

426-43-38250

PLUNGER

SN: 66001-UP

1шт.

35

01583-11610

NUT

SN: 66001-UP

1шт.

36

426-43-38262

NUT

SN: 66001-UP

1шт.

37

01580-10806

NUT

SN: 66001-UP

1шт.

38

112-961-2260

SPRING

SN: 66001-UP

1шт.

Выбрано товаров: 38