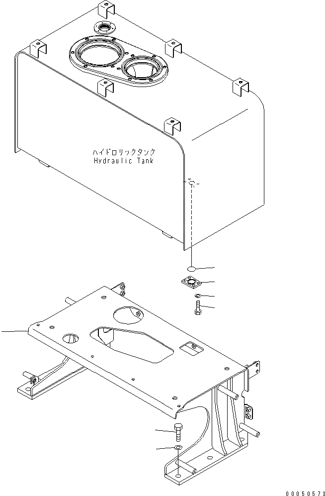
Запчасти Komatsu WA450-6-W1 ГИДР. БАК. (MOUTING ЧАСТИ) ГИДРАВЛИКА

Схема запчастей Komatsu WA450-6-W1 - ГИДР. БАК. (MOUTING ЧАСТИ) ГИДРАВЛИКА
1
2
3
4
5
6
7
FIT
1:1
100%

Артикул

Название

Примечание

Количество

1

421-60-45121

BRACKET

SN: A44001-UP

1шт.

2

01010-81645

BOLT

SN: A44001-UP

6шт.

3

01643-31645

WASHER

SN: A44001-UP

6шт.

4

708-2L-29490

PLATE

SN: A44001-UP

1шт.

5

07000-13032

O-RING

SN: A44001-UP

1шт.

6

01010-81025

BOLT

SN: A44001-UP

4шт.

7

01643-31032

WASHER

SN: A44001-UP

4шт.

Выбрано товаров: 7