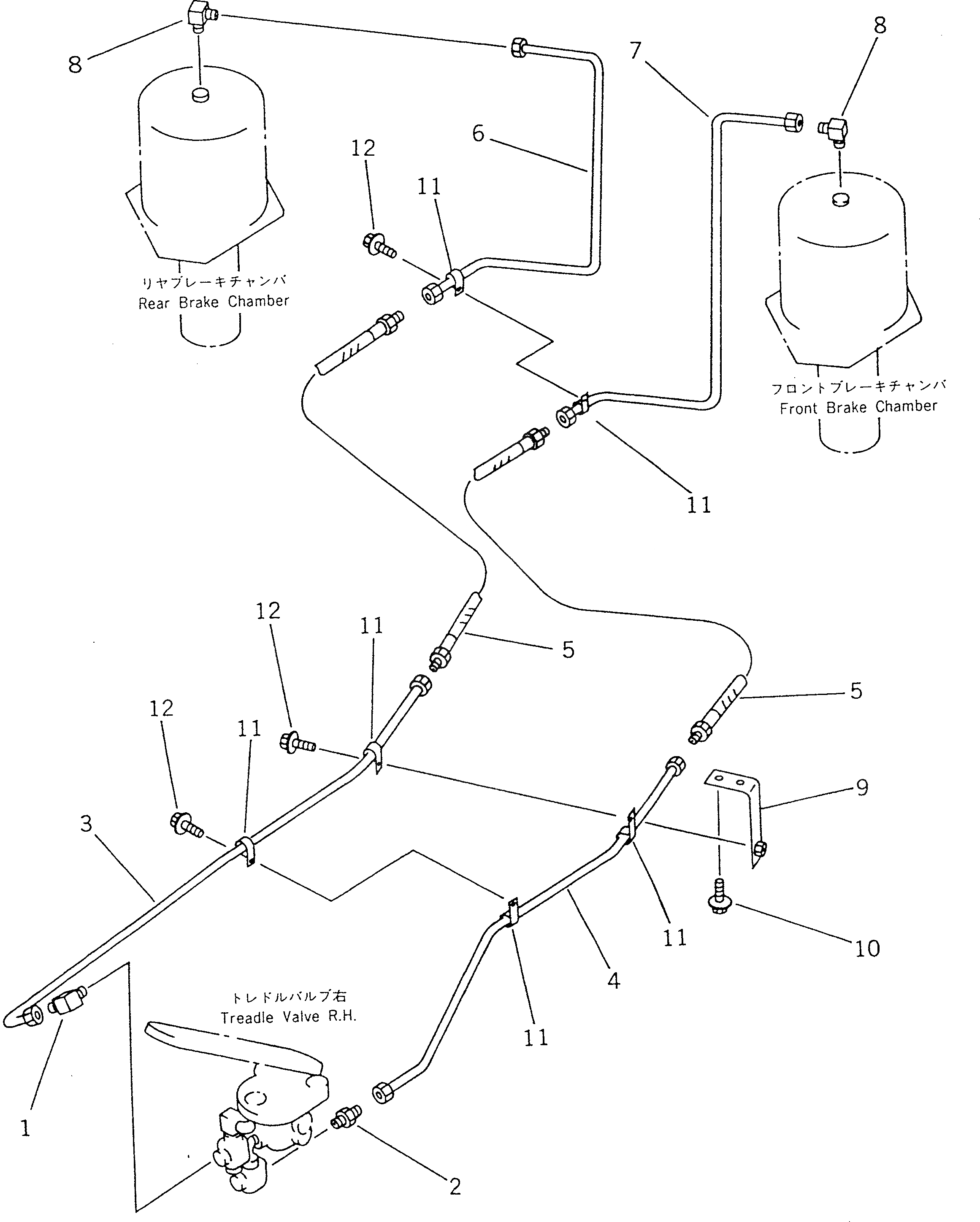
Запчасти Komatsu WA470-1 ВОЗДУХОВОД (КЛАПАН ПЕДАЛИ - КАМЕРА)(№-) ВЕДУЩ. ВАЛ¤ ДИФФЕРЕНЦ. И КОЛЕСА

Схема запчастей Komatsu WA470-1 - ВОЗДУХОВОД (КЛАПАН ПЕДАЛИ - КАМЕРА)(№-) ВЕДУЩ. ВАЛ¤ ДИФФЕРЕНЦ. И КОЛЕСА
FIT
1:1
100%

Артикул

Название

Примечание

Количество

1

421-09-12550

ELBOW

SN: 20001-UP

1шт.

2

421-09-12730

CONNECTOR

SN: 20001-UP

1шт.

3

421-35-12711

TUBE

SN: 20001-UP

1шт.

4

421-35-12722

TUBE

SN: 20001-UP

1шт.

5

421-35-14260

HOSE

SN: 20001-UP

2шт.

6

421-35-12741

TUBE

SN: 20001-UP

1шт.

7

421-35-14150

TUBE

SN: 20001-UP

1шт.

8

421-09-12550

ELBOW

SN: 20001-UP

2шт.

9

421-35-14160

BRACKET

SN: 20001-20086

1шт.

10

01435-01020

BOLT

SN: 20001-20086

2шт.

11

08035-01510

CLIP

SN: 20001-UP

6шт.

12

01435-01020

BOLT

SN: 20001-UP

3шт.

Выбрано товаров: 12