Запчасти Komatsu WA470-1 ТОРМОЗ. МАСЛОПРОВОДЯЩАЯ ЛИНИЯ (БАК - КАМЕРА /)(№8-9999) ВЕДУЩ. ВАЛ¤ ДИФФЕРЕНЦ. И КОЛЕСА

Схема запчастей Komatsu WA470-1 - ТОРМОЗ. МАСЛОПРОВОДЯЩАЯ ЛИНИЯ (БАК - КАМЕРА /)(№8-9999) ВЕДУЩ. ВАЛ¤ ДИФФЕРЕНЦ. И КОЛЕСА
FIT
1:1
100%

Артикул

Название

Примечание

Количество

|$0

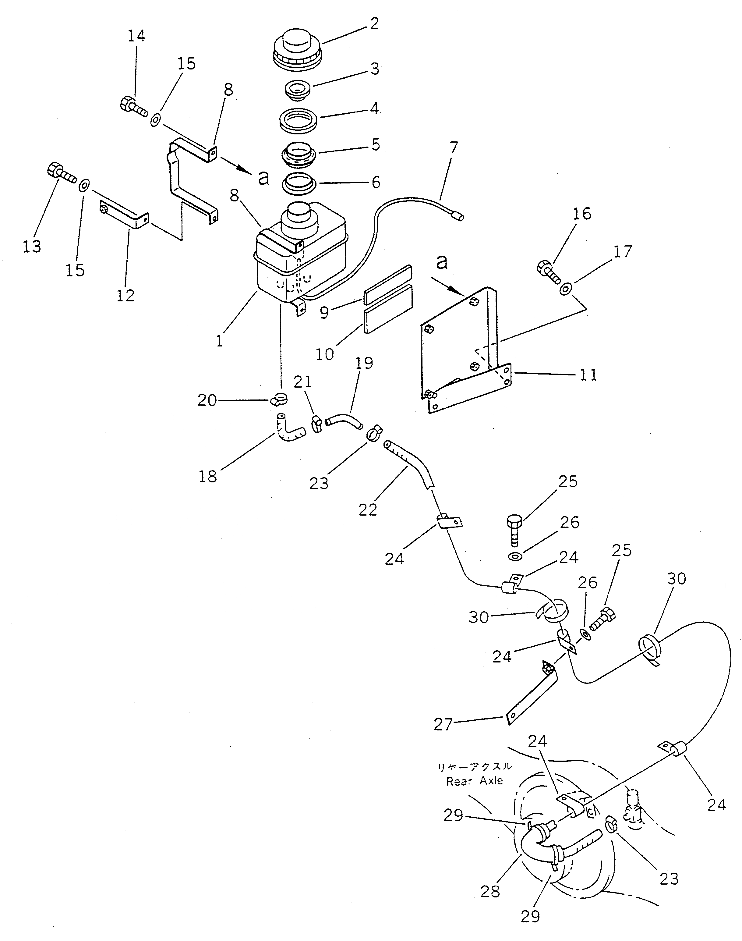
424-35-16701

TANK ASS'Y,BRAKE OIL

SN: 10083-19999

1шт.

1

424-35-16711

TANK

SN: 10083-19999

1шт.

2

424-35-16740

CAP

SN: 10083-19999

1шт.

3

424-35-16770

BAFFLE,RUBBER

SN: 10083-19999

1шт.

4

424-35-16780

FILTER

SN: 10083-19999

1шт.

5

424-35-16750

HOLDER,FILTER

SN: 10083-19999

1шт.

6

424-35-16760

SEAL,DUST

SN: 10083-19999

1шт.

7

424-35-16790

SWITCH ASS'Y

SN: 10083-19999

1шт.

8

424-35-16810

BRACKET

SN: 10083-19999

2шт.

9

424-35-16720

SEAT,RUBBER

SN: 10083-19999

1шт.

10

424-35-16730

SEAT,RUBBER

SN: 10083-19999

1шт.

11

421-35-13770

BRACKET

SN: 10083-19999

1шт.

12

421-35-13780

BRACKET

SN: 10083-19999

1шт.

13

01010-51225

BOLT

SN: 10083-19999

1шт.

14

01010-51220

BOLT

SN: 10083-19999

3шт.

15

01643-31232

WASHER

SN: 10001-19999

4шт.

16

01010-51225

BOLT

SN: 10083-19999

4шт.

17

01643-31232

WASHER

SN: 10001-19999

4шт.

18

421-35-13860

HOSE

SN: 10083-19999

1шт.

19

421-35-13790

TUBE

SN: 10083-19999

1шт.

20

07281-00259

CLAMP

SN: 10083-19999

1шт.

21

07281-00229

CLAMP

SN: 10083-19999

1шт.

22

07261-20929

HOSE

SN: 10069-19999

1шт.

23

07281-00197

CLAMP

SN: 10001-19999

2шт.

24

424-09-12410

CLIP

SN: 10069-19999

5шт.

25

01010-51020

BOLT

SN: 10069-19999

4шт.

26

01643-31032

WASHER

SN: 10069-19999

5шт.

27

421-35-13260

BRACKET

SN: 10001-19999

1шт.

28

205-62-53780

COVER

SN: 10069-19999

1шт.

29

08034-00823

BAND

SN: 10069-19999

2шт.

30

08034-00536

BAND

SN: 10069-19999

2шт.

Выбрано товаров: 31