Запчасти Komatsu WA470-1 РУЛЕВ. УПРАВЛЕНИЕ ЗАПРАШИВАЮЩ. КЛАПАН (/)(№-9999) РУЛЕВ. УПРАВЛЕНИЕ И СИСТЕМА УПРАВЛЕНИЯS

Схема запчастей Komatsu WA470-1 - РУЛЕВ. УПРАВЛЕНИЕ ЗАПРАШИВАЮЩ. КЛАПАН (/)(№-9999) РУЛЕВ. УПРАВЛЕНИЕ И СИСТЕМА УПРАВЛЕНИЯS
FIT
1:1
100%

Артикул

Название

Примечание

Количество

|$0

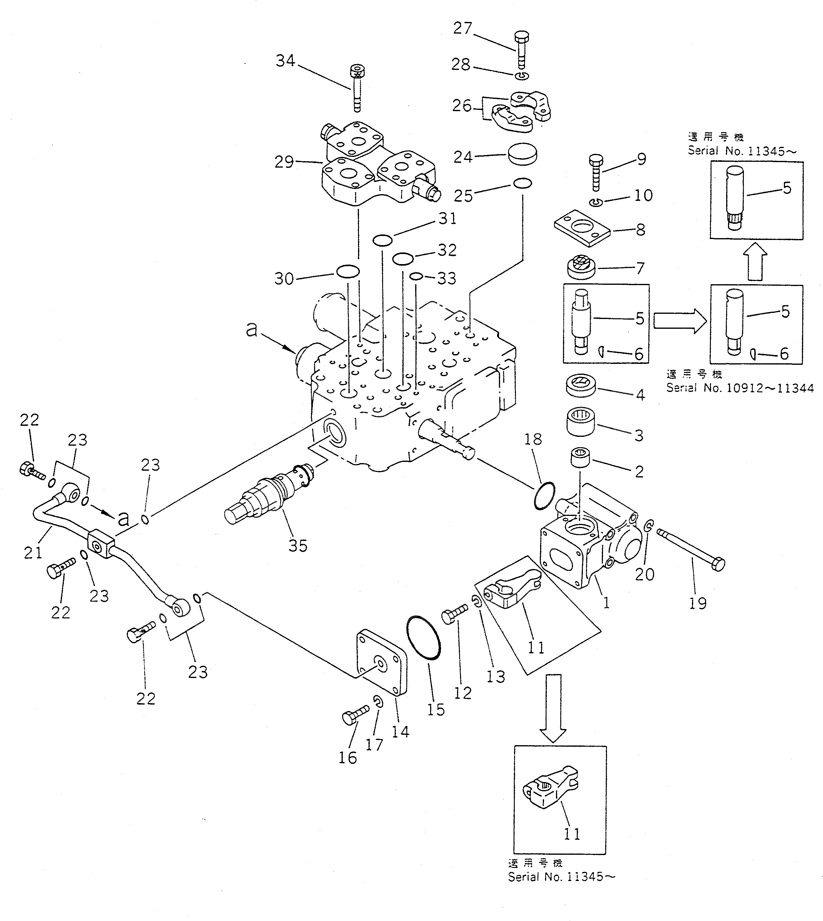
702-23-21001

VALVE ASS'Y,STEERING DEMAND

SN: 10055-19999

1шт.

|$1

702-23-21000

VALVE ASS'Y,STEERING DEMAND

SN: 10001-10054

1шт.

|$2

702-13-36700

ROTARY SEAL ASS'Y

SN: 10055-19999

1шт.

|$3

702-13-36600

ROTARY SEAL ASS'Y

SN: 10001-10054

1шт.

1

702-13-21610

CASE

SN: 10001-19999

1шт.

2

702-13-21620

BEARING,NEEDLE

SN: 10001-19999

1шт.

3

06120-02520

BEARING,NEEDLE

SN: 10001-19999

1шт.

4

07430-11161

SEAL,OIL

SN: 10001-19999

1шт.

5

702-13-21660

SHAFT

SN: 10055-19999

1шт.

5

702-13-21650

SHAFT

SN: 10001-10054

1шт.

6

04010-00519

KEY

SN: 10001-19999

1шт.

7

07016-00256

SEAL,DUST

SN: 10001-19999

1шт.

8

701-51-32170

PLATE

SN: 10001-19999

1шт.

9

01010-50820

BOLT

SN: 10001-19999

2шт.

10

01602-00825

WASHER,SPRING

SN: 10001-19999

2шт.

11

702-13-21642

LEVER

SN: 10055-19999

1шт.

11

702-13-21641

LEVER

SN: 10001-10054

1шт.

12

01010-50835

BOLT

SN: 10001-19999

1шт.

13

01602-00825

WASHER,SPRING

SN: 10001-19999

1шт.

14

702-13-36630

COVER

SN: 10001-19999

1шт.

15

07000-02065

O-RING

SN: 10001-19999

1шт.

16

01010-50830

BOLT

SN: 10001-19999

4шт.

17

01602-20825

WASHER,SPRING

SN: 10001-19999

4шт.

18

07000-03042

O-RING

SN: 10001-19999

1шт.

19

430-07-23560

BOLT

SN: 10001-19999

4шт.

20

01602-20825

WASHER,SPRING

SN: 10001-19999

4шт.

21

702-23-21270

TUBE

SN: 10001-19999

1шт.

22

6631-51-9580

BOLT,JOINT

SN: 10001-19999

3шт.

23

07000-02012

O-RING

SN: 10001-19999

6шт.

24

07378-10500

HEAD

SN: 10001-19999

1шт.

25

07000-13022

O-RING

SN: 10001-19999

1шт.

26

07371-30500

FLANGE,SPLIT

SN: 10001-19999

2шт.

27

01010-50830

BOLT

SN: 10001-19999

4шт.

28

01602-20825

WASHER,SPRING

SN: 10001-19999

4шт.

29

702-23-21400

CASE ASS'Y

SN: 10001-19999

1шт.

30

07000-03035

O-RING

SN: 10001-19999

1шт.

31

07000-03030

O-RING

SN: 10001-19999

1шт.

32

07000-13028

O-RING

SN: 10001-19999

2шт.

33

07000-01009

O-RING

SN: 10001-19999

2шт.

34

702-23-21490

BOLT

SN: 10001-19999

2шт.

35

700-87-54000

VALVE ASS'Y,RELIEF

SN: 10001-19999

1шт.

Выбрано товаров: 41