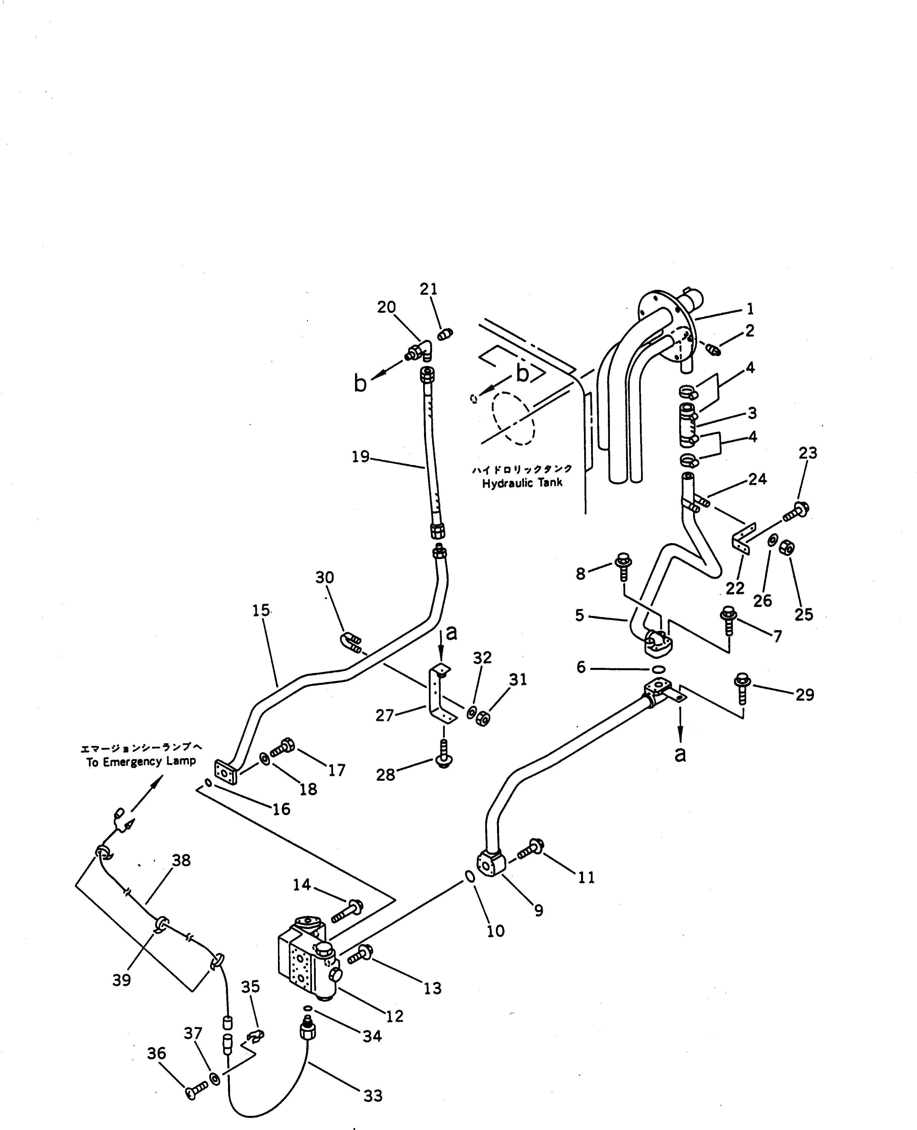
Запчасти Komatsu WA470-1 ГИДРОЛИНИЯ ЭКСТРЕННОГО УПРАВЛЕНИЯ (/)(№-) РУЛЕВ. УПРАВЛЕНИЕ И СИСТЕМА УПРАВЛЕНИЯS

Схема запчастей Komatsu WA470-1 - ГИДРОЛИНИЯ ЭКСТРЕННОГО УПРАВЛЕНИЯ (/)(№-) РУЛЕВ. УПРАВЛЕНИЕ И СИСТЕМА УПРАВЛЕНИЯS
FIT
1:1
100%

Артикул

Название

Примечание

Количество

1

421-875-2130

TUBE

SN: 20001-UP

1шт.

2

07042-30108

PLUG

SN: 20001-UP

1шт.

3

07260-04125

HOSE

SN: 20001-UP

1шт.

4

07281-00609

CLAMP

SN: 20001-UP

4шт.

5

421-875-1733

TUBE

SN: 20001-UP

1шт.

6

07000-03042

O-RING

SN: 20001-UP

1шт.

7

01435-01255

BOLT

SN: 20001-UP

2шт.

8

01435-01265

BOLT

SN: 20001-UP

2шт.

9

421-875-1744

TUBE

SN: 20001-UP

1шт.

10

07000-03032

O-RING

SN: 20001-UP

1шт.

11

01435-01060

BOLT

SN: 20001-UP

4шт.

12

421-875-1101

DIVIDER VALVE ASS'Y,(SEE FIG.4811)

SN: 20001-UP

1шт.

13

01435-01085

BOLT

SN: 20001-UP

2шт.

14

01436-01045

BOLT

SN: 20001-UP

2шт.

15

421-875-1981

TUBE

SN: 20001-UP

1шт.

16

07000-03032

O-RING

SN: 20001-UP

1шт.

17

01010-51035

BOLT

SN: 20001-UP

4шт.

18

01643-51032

WASHER

SN: 20001-UP

4шт.

19

07102-21008

HOSE

SN: 20001-UP

1шт.

20

07235-51034

ELBOW

SN: 20001-UP

1шт.

21

07042-30108

PLUG

SN: 20001-UP

1шт.

22

421-875-1852

BRACKET

SN: 20001-UP

1шт.

23

01435-01020

BOLT

SN: 20001-UP

2шт.

24

07283-34346

CLIP

SN: 20001-UP

1шт.

25

01599-01011

NUT

SN: 20001-UP

2шт.

26

01643-31032

WASHER

SN: 20001-UP

2шт.

27

421-875-1883

BRACKET

SN: 20001-UP

1шт.

28

01435-01020

BOLT

SN: 20001-UP

2шт.

29

01435-01030

BOLT

SN: 20001-UP

1шт.

30

07283-33442

CLIP

SN: 20001-UP

1шт.

31

01599-01011

NUT

SN: 20001-UP

2шт.

32

01643-31032

WASHER

SN: 20001-UP

2шт.

33

421-06-11981

SWITCH

SN: 20001-UP

1шт.

34

07002-02034

O-RING

SN: 20001-UP

1шт.

35

421-06-12910

CLIP

SN: 20001-UP

1шт.

36

01220-40608

SCREW

SN: 20001-UP

1шт.

37

01641-20608

WASHER

SN: 20001-UP

1шт.

38

421-875-1241

WIRE ASS'Y

SN: 20001-UP

1шт.

39

08034-00414

BAND

SN: 20001-UP

3шт.

Выбрано товаров: 39