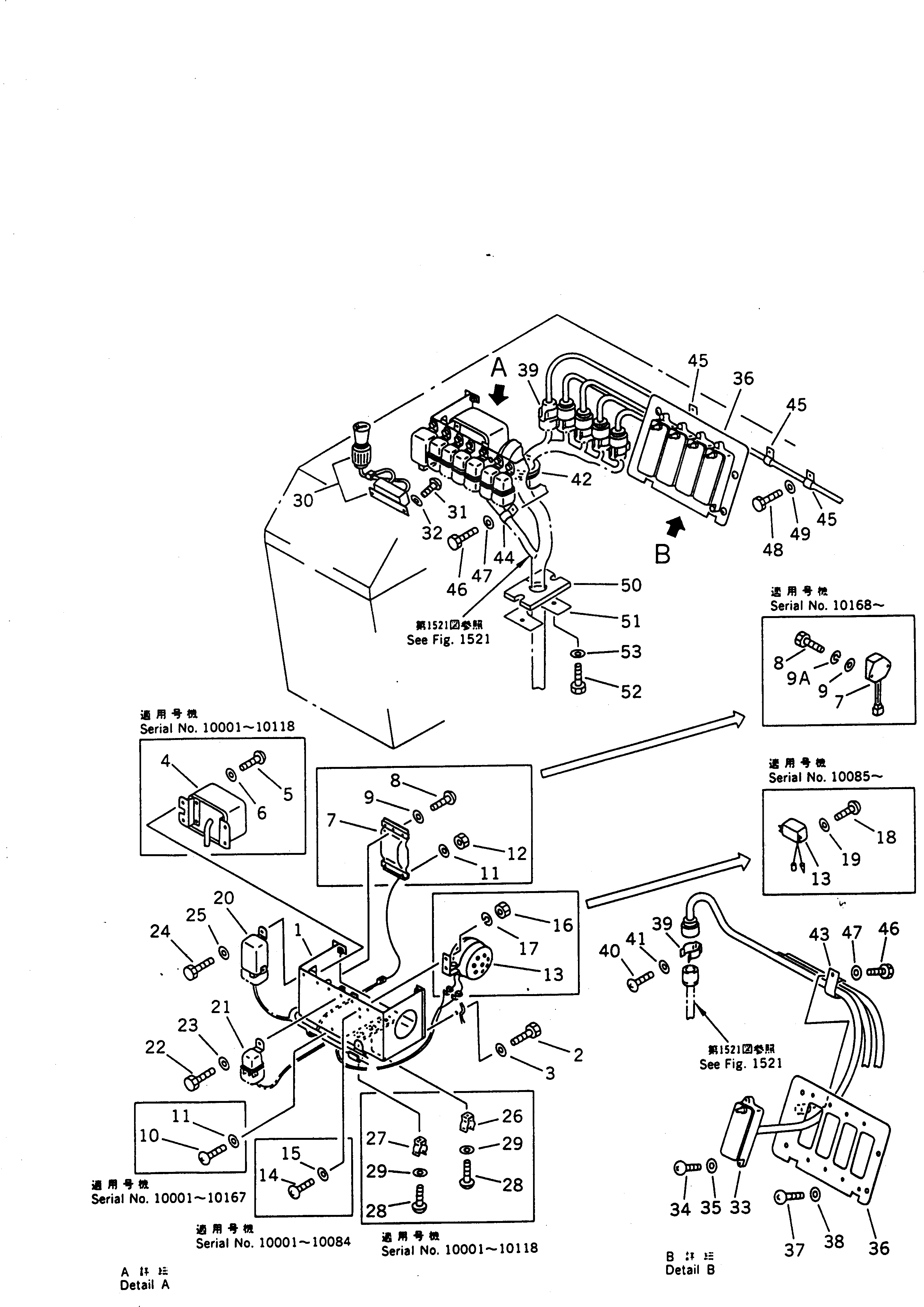
Запчасти Komatsu WA470-1 ЭЛЕКТРИКА (КОНСОЛЬН. БЛОК¤ ПРАВ.) (СЕВ. АМЕРИКА СПЕЦ-Я.)(№-9999) КОМПОНЕНТЫ ДВИГАТЕЛЯ И ЭЛЕКТРИКА

Схема запчастей Komatsu WA470-1 - ЭЛЕКТРИКА (КОНСОЛЬН. БЛОК¤ ПРАВ.) (СЕВ. АМЕРИКА СПЕЦ-Я.)(№-9999) КОМПОНЕНТЫ ДВИГАТЕЛЯ И ЭЛЕКТРИКА
FIT
1:1
100%

Артикул

Название

Примечание

Количество

1

424-06-11732

BOX

SN: 10168-19999

1шт.

1

424-06-11731

BOX

SN: 10085-10167

1шт.

1

0

BOX

SN: 10001-10084

1шт.

2

01010-51020

BOLT

SN: 10001-19999

4шт.

3

01643-30623

WASHER

SN: 10001-19999

4шт.

4

7861-72-3000

CONTROLLER ASS'Y

SN: 10001-10080

1шт.

5

01010-50616

BOLT

SN: 10001-10080

4шт.

6

01643-30623

WASHER

SN: 10001-10080

4шт.

7

423-06-11212

TIMER, BI-METAL

SN: 10168-19999

1шт.

7

\4\423-06-11211

TIMER,BI-METAL

SN: .-10167

1шт.

|$$11

(423-06-11212,424-06-11732)

-1шт.

7

0

TIMER,BI-METAL

SN: 10001-.

1шт.

8

01010-50612

BOLT

SN: 10168-19999

2шт.

8

01235-40410

SCREW

SN: 10001-10167

1шт.

9

01642-20608

WASHER

SN: 10168-19999

2шт.

9

01641-20405

WASHER

SN: 10001-10167

1шт.

9A

01602-20619

WASHER,SPRING

SN: 10167-19999

2шт.

10

01235-40420

SCREW

SN: 10001-10167

1шт.

11

01641-20405

WASHER

SN: 10001-10167

2шт.

12

01580-10403

NUT

SN: 10001-10167

1шт.

13

207-06-31160

BUZZER

SN: 10001-@

1шт.

13

0

BUZZER

SN: (10001-10084)

1шт.

14

01220-40616

SCREW

SN: 10001-10084

2шт.

15

01640-20610

WASHER

SN: 10001-10084

2шт.

16

01602-20619

WASHER,SPRING

SN: 10001-10084

2шт.

17

01580-10605

NUT

SN: 10001-10084

2шт.

18

01220-40412

SCREW

SN: 10085-19999

2шт.

19

01641-20405

WASHER

SN: 10085-19999

2шт.

20

22W-06-13251

FLASHER

SN: 10001-@

1шт.

21

287-06-16410

RELAY

SN: 10081-@

8шт.

21

287-06-16410

RELAY

SN: 10001-10080

7шт.

21

287-06-16420

BRACKET

SN: 10001-@

1шт.

22

01010-50612

BOLT

SN: 10081-19999

8шт.

22

01010-50612

BOLT

SN: 10001-10080

7шт.

23

01643-30623

WASHER

SN: 10081-19999

8шт.

23

01643-30623

WASHER

SN: 10001-10080

7шт.

24

01010-50610

BOLT

SN: 10001-19999

1шт.

25

01643-30623

WASHER

SN: 10001-19999

1шт.

26

421-06-12910

CLIP

SN: 10001-10080

2шт.

27

283-06-17130

CLIP

SN: 10001-10080

1шт.

28

01220-40608

SCREW

SN: 10001-10080

3шт.

29

01641-20608

WASHER

SN: 10001-10080

3шт.

30

195-822-6151

LIGHTER

SN: 10001-19999

1шт.

31

01220-40410

SCREW

SN: 10001-19999

2шт.

32

01641-20405

WASHER

SN: 10001-19999

2шт.

33

421-06-11431

BREAKER

SN: 10001-19999

4шт.

34

01220-40625

SCREW

SN: 10001-19999

8шт.

35

01641-20608

WASHER

SN: 10001-19999

8шт.

36

425-06-11140

BRACKET

SN: 10001-19999

1шт.

37

01220-40812

SCREW

SN: 10001-19999

4шт.

38

01641-30812

WASHER

SN: 10001-19999

4шт.

39

421-06-12610

CLIP

SN: 10001-@

5шт.

40

01220-40608

SCREW

SN: 10001-@

5шт.

41

01641-20608

WASHER

SN: 10001-@

5шт.

42

08037-05016

GROMMET

SN: 10001-19999

1шт.

43

08036-03014

CLIP

SN: 10001-19999

1шт.

44

08036-01814

CLIP

SN: 10001-@

1шт.

45

08036-10814

CLIP

SN: 10001-19999

3шт.

46

01010-51016

BOLT

SN: 10001-19999

2шт.

47

01643-31032

WASHER

SN: 10001-19999

2шт.

48

01010-51020

BOLT

SN: 10001-19999

3шт.

49

01643-31032

WASHER

SN: 10001-19999

3шт.

50

419-06-12230

SEAT

SN: 10001-19999

1шт.

51

419-06-12220

PLATE

SN: 10001-19999

1шт.

52

01010-50612

BOLT

SN: 10001-19999

2шт.

53

01643-30623

WASHER

SN: 10001-19999

2шт.

Выбрано товаров: 66