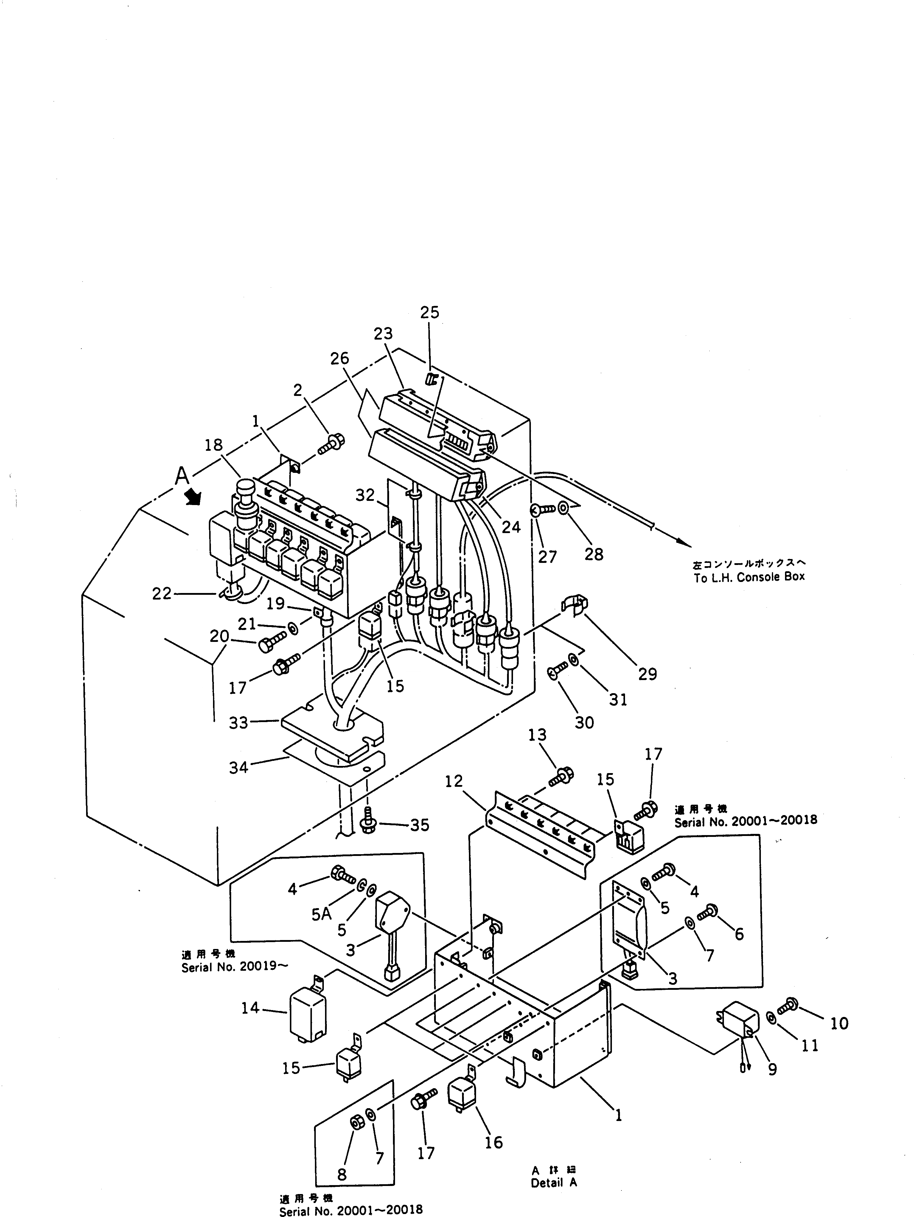
Запчасти Komatsu WA470-1 ЭЛЕКТРИКА (КОНСОЛЬН. БЛОК¤ ПРАВ.)(№-) КОМПОНЕНТЫ ДВИГАТЕЛЯ И ЭЛЕКТРИКА

Схема запчастей Komatsu WA470-1 - ЭЛЕКТРИКА (КОНСОЛЬН. БЛОК¤ ПРАВ.)(№-) КОМПОНЕНТЫ ДВИГАТЕЛЯ И ЭЛЕКТРИКА
FIT
1:1
100%

Артикул

Название

Примечание

Количество

1

424-06-11732

BOX

SN: 20019-UP

1шт.

1

424-06-11731

BOX

SN: 20001-20018

1шт.

2

01435-00612

BOLT

SN: 20001-UP

4шт.

3

423-06-11212

TIMER, BI-METAL

SN: 20019-UP

1шт.

3

\4\423-06-11211

TIMER

SN: 20001-20018

1шт.

|$$6

(423-06-11212,424-06-11732)

-1шт.

4

01010-50612

BOLT

SN: 20019-UP

2шт.

4

01235-40410

SCREW

SN: 20001-20018

1шт.

5

01642-20608

WASHER

SN: 20019-UP

2шт.

5

01641-20405

WASHER

SN: 20001-20018

1шт.

5A

01602-20619

WASHER,SPRING

SN: 20019-UP

2шт.

6

01235-40420

SCREW

SN: 20001-20018

1шт.

7

01641-20405

WASHER

SN: 20001-20018

2шт.

8

01580-10403

NUT

SN: 20001-20018

1шт.

9

207-06-31160

BUZZER

SN: 10001-UP

1шт.

10

01220-40412

SCREW

SN: 20001-UP

2шт.

11

01641-20405

WASHER

SN: 20001-UP

2шт.

12

423-06-11220

PLATE

SN: 20001-UP

1шт.

13

01435-00614

BOLT

SN: 20001-UP

2шт.

14

22W-06-13251

FLASHER

SN: 10001-UP

1шт.

15

287-06-16410

RELAY

SN: 10001-UP

10шт.

15

287-06-16420

BRACKET

SN: 10001-UP

10шт.

16

421-06-11940

RELAY

SN: 20001-UP

3шт.

17

01435-00610

BOLT

SN: 20001-UP

14шт.

18

08913-02400

LIGHTER

SN: 20091-UP

1шт.

18

0

LIGHTER

SN: 20001-20090

1шт.

19

08036-01814

CLIP

SN: 10001-UP

1шт.

20

01010-51016

BOLT

SN: 20001-UP

1шт.

21

01643-31032

WASHER

SN: 20001-UP

1шт.

22

08034-00823

BAND

SN: 20001-UP

5шт.

23

424-06-12431

BOX ASS'Y,FUSE

SN: 20001-UP

1шт.

24

424-06-12420

BOX ASS'Y,FUSE

SN: 20001-UP

1шт.

25

283-06-16180

FUSE, 5A

SN: 20001-UP

2шт.

25

283-06-16190

FUSE, 10A

SN: 20001-UP

23шт.

25

22W-06-13160

FUSE, 20A

SN: 20001-UP

7шт.

26

283-06-16120

COVER

SN: 20001-UP

2шт.

27

01220-40516

SCREW

SN: 20001-UP

4шт.

28

01641-20508

WASHER

SN: 20001-UP

4шт.

29

421-06-12610

CLIP

SN: 10001-UP

5шт.

30

01220-40608

SCREW

SN: 10001-UP

5шт.

31

01641-20608

WASHER

SN: 10001-UP

5шт.

32

08034-00823

BAND

SN: 20001-UP

2шт.

33

419-06-12651

SHEET

SN: 20001-UP

1шт.

34

418-944-1420

PLATE

SN: 20001-UP

1шт.

35

01435-00612

BOLT

SN: 20001-UP

2шт.

Выбрано товаров: 45