Запчасти Komatsu WA470-1 ОТОПИТЕЛЬ (DAIKIN) (/)(№-.) РАМА И ЧАСТИ КОРПУСА

Схема запчастей Komatsu WA470-1 - ОТОПИТЕЛЬ (DAIKIN) (/)(№-.) РАМА И ЧАСТИ КОРПУСА
FIT
1:1
100%

Артикул

Название

Примечание

Количество

|$0

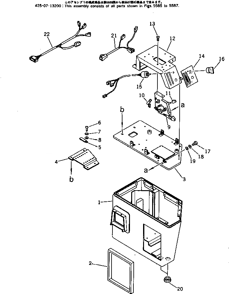
425-07-13200

HEATER ASS'Y

SN: 10001-.

1шт.

1

0

CASE

SN: 10001-.

1шт.

2

425-07-11550

PACKING

SN: 10001-.

1шт.

3

0

COVER

SN: 10001-.

1шт.

4

0

PLATE

SN: 10001-.

1шт.

5

425-07-11540

CLAMP

SN: 10001-.

12шт.

6

01220-40408

SCREW

SN: 10001-.

12шт.

7

01601-20410

WASHER,SPRING

SN: 10001-.

12шт.

8

01642-20405

WASHER

SN: 10001-.

12шт.

9

425-07-11340

LEVER ASS'Y

SN: 10001-.

1шт.

10

425-07-11760

CLIP

SN: 10001-.

2шт.

11

425-07-11770

KNOB

SN: 10001-.

2шт.

12

0

BRACKET

SN: 10001-.

1шт.

13

01224-40508

SCREW

SN: 10001-.

2шт.

14

425-07-11380

PANEL

SN: 10001-.

1шт.

15

421-07-12741

SWITCH,FAN

SN: 10001-.

1шт.

16

425-07-11780

KNOB

SN: 10001-.

1шт.

17

01220-40512

SCREW

SN: 10001-.

2шт.

18

01601-20513

WASHER,SPRING

SN: 10001-.

2шт.

19

01642-20508

WASHER

SN: 10001-.

2шт.

20

425-07-11630

GROMMET

SN: 10001-.

2шт.

21

425-07-13130

WIRE ASS'Y

SN: 10001-.

1шт.

22

425-07-11530

WIRE ASS'Y

SN: 10001-.

1шт.

Выбрано товаров: 23