Запчасти Komatsu WA470-1 ГИДРОЦИЛИНДР КОВША(№-) УПРАВЛ-Е РАБОЧИМ ОБОРУДОВАНИЕМ

Схема запчастей Komatsu WA470-1 - ГИДРОЦИЛИНДР КОВША(№-) УПРАВЛ-Е РАБОЧИМ ОБОРУДОВАНИЕМ
FIT
1:1
100%

Артикул

Название

Примечание

Количество

|$0

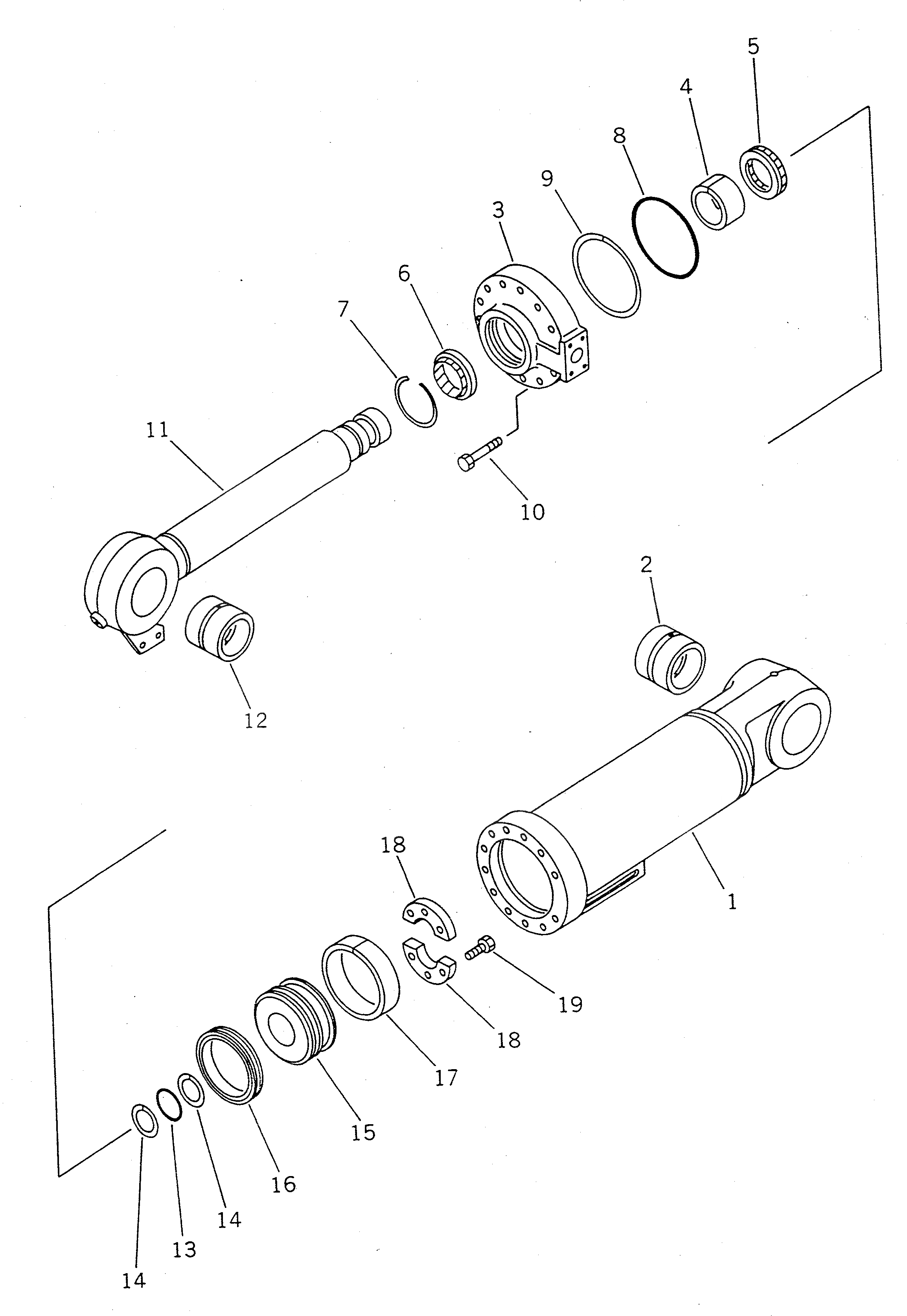
707-01-03250

CYLINDER ASS'Y

SN: .-UP

1шт.

|$1

0

CYLINDER ASS'Y

SN: 20001-.

1шт.

1

707-13-20290

CYLINDER

SN: .-UP

1шт.

1

0

CYLINDER

SN: 20001-.

1шт.

2

707-76-12130

BUSHING

SN: 10001-UP

1шт.

3

707-27-20250

HEAD,CYLINDER

SN: .-UP

1шт.

3

0

HEAD,CYLINDER

SN: 20001-.

1шт.

|$$8

(707-27-20250,01010-82075(12))

-1шт.

4

707-52-11010

BUSHING

SN: 20001-UP

1шт.

5

707-51-10030

PACKING,ROD (KIT)

SN: 10001-UP

1шт.

6

07016-21008

SEAL,DUST

SN: .-UP

1шт.

6

0

SEAL,DUST

SN: 20001-.

1шт.

7

07179-13114

RING,SNAP

SN: 20001-UP

1шт.

8

07000-15190

O-RING (KIT)

SN: 10001-UP

1шт.

9

07146-05192

RING,BACK-UP (KIT)

SN: 10001-UP

1шт.

10

01010-82075

BOLT

SN: .-UP

12шт.

10

01010-82055

BOLT

SN: 20001-.

12шт.

11

707-58-10090

ROD,PISTON

SN: 20001-UP

1шт.

12

707-76-12030

BUSHING

SN: 10001-UP

1шт.

13

07000-12080

O-RING (KIT)

SN: 10001-UP

1шт.

14

707-35-52920

RING,BACK-UP (KIT)

SN: 10001-UP

2шт.

15

707-36-20400

PISTON

SN: 20001-UP

1шт.

16

707-44-20180

RING,PISTON (KIT)

SN: .-UP

1шт.

16

0

RING,PISTON

SN: 10001-.

1шт.

17

07156-02022

RING,WEAR (KIT)

SN: 20001-UP

1шт.

18

707-40-20030

SPACER

SN: 10001-UP

2шт.

19

01010-31245

BOLT

SN: 20001-UP

6шт.

|$$28

SERVICE KIT

-1шт.

KIT

707-99-73020

SERVICE KIT

SN: 20001-UP

1шт.

Выбрано товаров: 29