Запчасти Komatsu WA470-1 УПРАВЛ. НАВЕСН. ОБОРУД. РЫЧАГ(№-) УПРАВЛ-Е РАБОЧИМ ОБОРУДОВАНИЕМ

Схема запчастей Komatsu WA470-1 - УПРАВЛ. НАВЕСН. ОБОРУД. РЫЧАГ(№-) УПРАВЛ-Е РАБОЧИМ ОБОРУДОВАНИЕМ
FIT
1:1
100%

Артикул

Название

Примечание

Количество

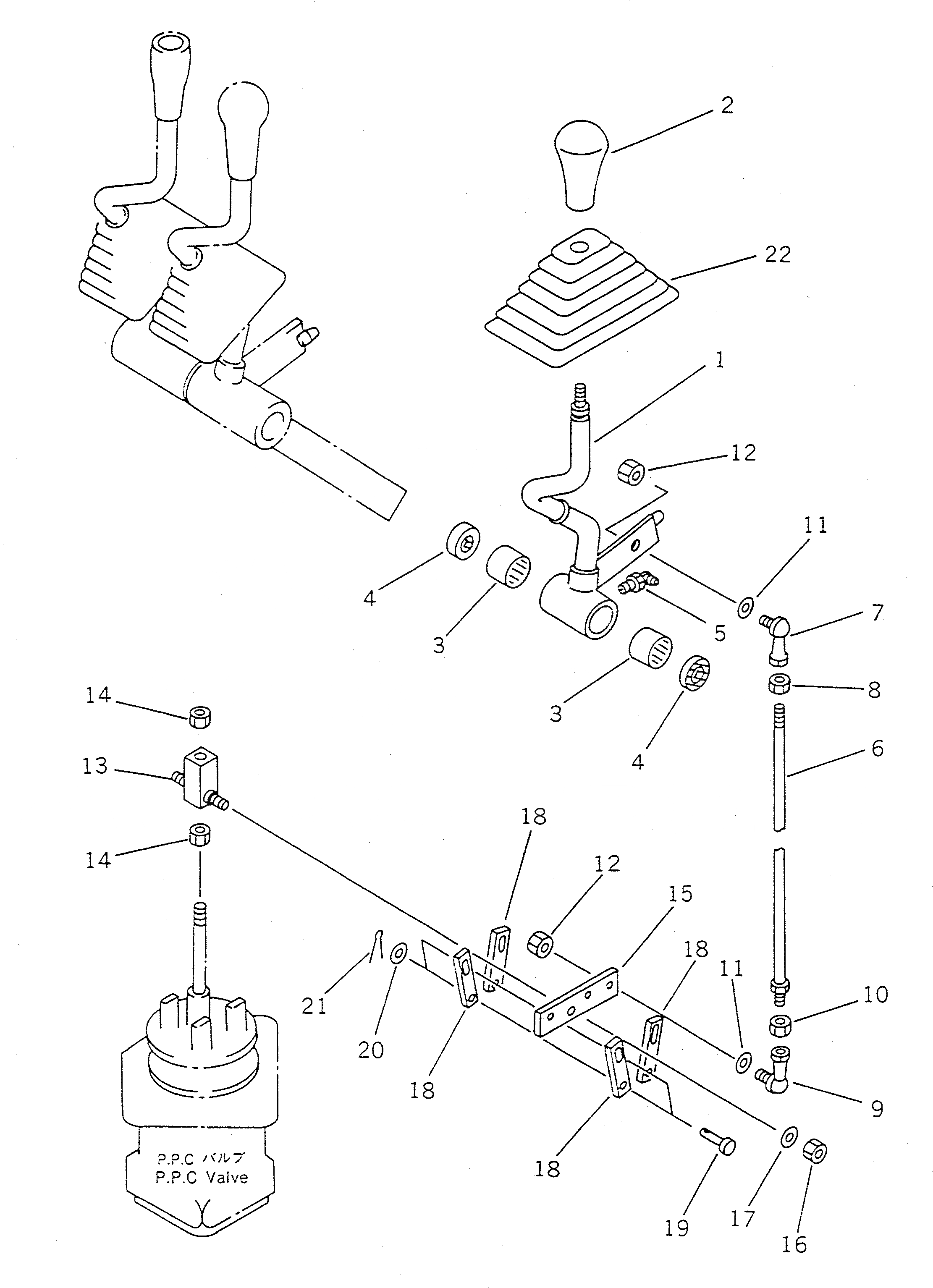
1

421-877-1460

LEVER,ATTACHMENT

SN: 20001-UP

1шт.

2

113-43-23420

KNOB

SN: 20001-UP

1шт.

3

06120-02016

BEARING

SN: 10001-UP

2шт.

4

06122-02004

SEAL,BEARING

SN: 10001-UP

2шт.

5

07020-00675

FITTING,GREASE

SN: 20001-UP

1шт.

6

421-43-18890

ROD

SN: 20001-UP

1шт.

7

04256-50616

JOINT,ROD, L.H. THREAD

SN: 20001-UP

1шт.

8

01508-20603

NUT,L.H. THREAD

SN: 20001-UP

1шт.

9

04256-40616

JOINT,ROD

SN: 20001-UP

1шт.

10

01580-10605

NUT

SN: 20001-UP

1шт.

11

01643-30623

WASHER

SN: 20001-UP

2шт.

12

426-09-11130

NUT

SN: 20001-UP

2шт.

13

421-43-18551

TRUNNION

SN: .-UP

1шт.

13

0

TRUNNION

SN: 20001-.

1шт.

14

01580-11210

NUT

SN: 20001-UP

2шт.

15

421-43-18560

LEVER ASS'Y

SN: 20001-UP

1шт.

15

421-43-18580

BUSHING

SN: 20001-UP

1шт.

16

426-09-11130

NUT

SN: 20001-UP

1шт.

17

01643-30623

WASHER

SN: 20001-UP

1шт.

18

421-43-18590

PLATE

SN: 20001-UP

4шт.

19

04205-10620

PIN

SN: 20001-UP

4шт.

20

01641-20608

WASHER

SN: 20001-UP

4шт.

21

04050-11612

PIN,COTTER

SN: 20001-UP

4шт.

22

419-43-18160

BOOT

SN: 10001-UP

1шт.

Выбрано товаров: 24