Запчасти Komatsu WA470-1 ВОЗДУХОВОД (WET БАК - СУХ. БАК) (СПЕЦ-Я TBG)(№-9999) СПЕЦ. APPLICATION ЧАСТИ

Схема запчастей Komatsu WA470-1 - ВОЗДУХОВОД (WET БАК - СУХ. БАК) (СПЕЦ-Я TBG)(№-9999) СПЕЦ. APPLICATION ЧАСТИ
FIT
1:1
100%

Артикул

Название

Примечание

Количество

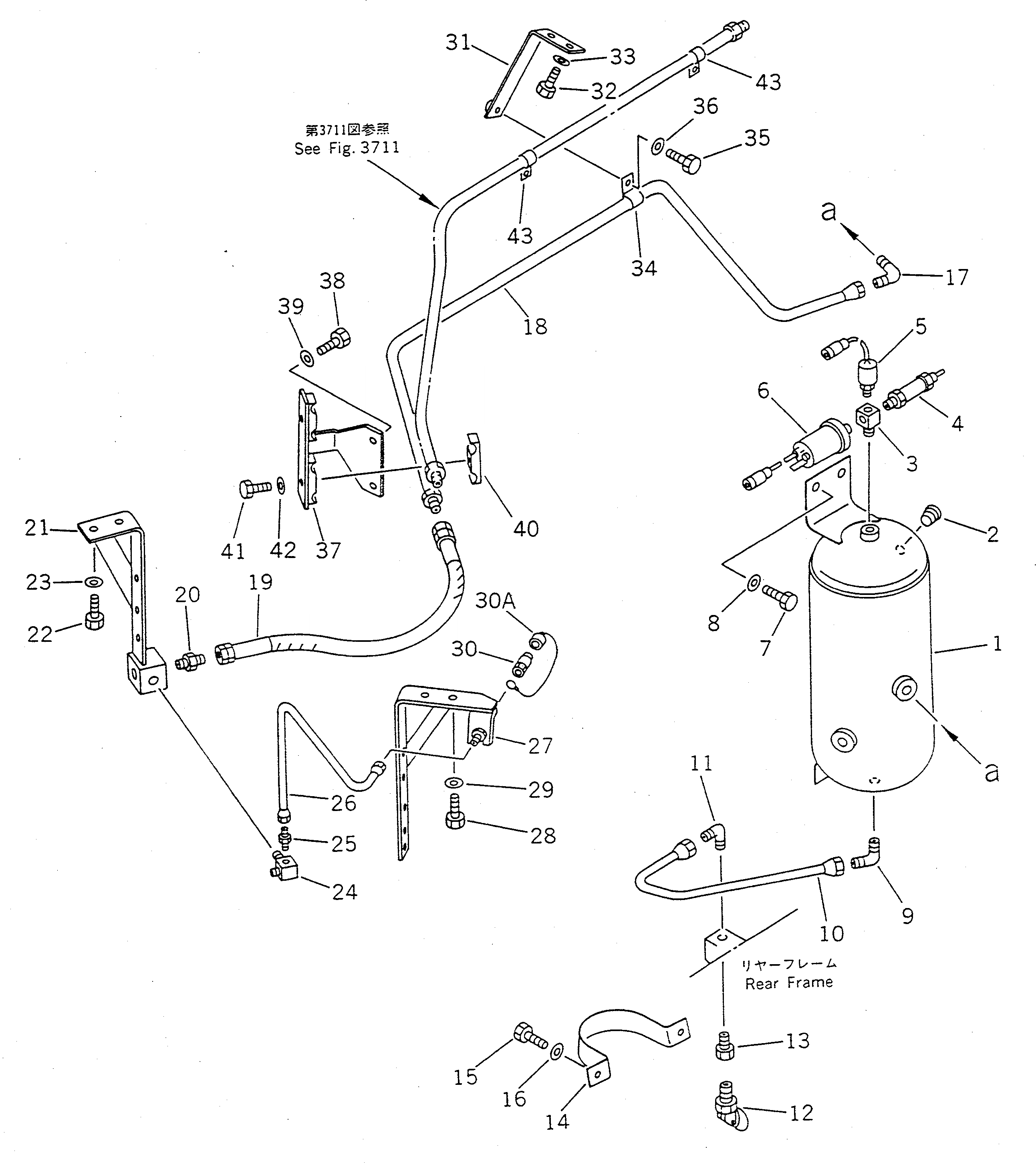
1

421-35-13181

TANK,WET AIR

SN: 10001-19999

1шт.

2

07043-50415

PLUG

SN: 10001-19999

1шт.

3

421-35-13230

JOINT

SN: 10001-19999

1шт.

4

566-35-42350

VALVE,SAFETY

SN: 10001-19999

1шт.

5

7861-99-1500

SENSOR,PRESSURE

SN: 10001-@

1шт.

6

7861-99-1400

SENSOR,AIR PRESSURE

SN: 10001-@

1шт.

7

01010-51225

BOLT

SN: 10001-19999

3шт.

8

01643-31232

WASHER

SN: 10001-19999

3шт.

9

421-35-16430

ELBOW

SN: 10001-19999

1шт.

10

421-35-13240

TUBE

SN: 10001-19999

1шт.

11

07217-70712

ELBOW

SN: 10001-19999

1шт.

12

22X-44-11210

VALVE

SN: 10001-@

1шт.

13

424-35-12630

CONNECTOR

SN: 10001-19999

1шт.

14

421-35-13350

COVER

SN: 10001-19999

1шт.

15

01010-51225

BOLT

SN: 10001-19999

2шт.

16

01643-31232

WASHER

SN: 10001-19999

2шт.

17

07217-71521

ELBOW

SN: 10001-19999

1шт.

18

421-35-12683

TUBE

SN: 10001-19999

1шт.

19

07104-20306

HOSE

SN: 10001-19999

1шт.

20

07238-00315

CONNECTOR

SN: 10001-19999

1шт.

21

421-35-12932

BRACKET

SN: 10001-19999

1шт.

22

01010-51225

BOLT

SN: 10001-19999

2шт.

23

01643-31232

WASHER

SN: 10001-19999

2шт.

24

421-35-13670

ELBOW

SN: 10001-19999

1шт.

25

07214-71013

CONNECTOR

SN: 10001-19999

1шт.

26

421-35-12982

TUBE

SN: 10001-19999

1шт.

27

421-62-14293

BRACKET

SN: 10001-19999

1шт.

28

01010-51230

BOLT

SN: 10001-19999

2шт.

29

01643-31232

WASHER

SN: 10001-19999

2шт.

30

07880-20500

SOCKET

SN: 10001-19999

1шт.

30A

426-35-15410

CAP

SN: 10001-19999

1шт.

31

421-35-13660

BRACKET

SN: 10001-19999

1шт.

32

01010-51020

BOLT

SN: 10001-19999

2шт.

33

01643-31032

WASHER

SN: 10001-19999

2шт.

34

08035-01510

CLIP

SN: 10001-19999

1шт.

35

01010-51025

BOLT

SN: 10001-19999

1шт.

36

01643-31032

WASHER

SN: 10001-19999

1шт.

37

421-35-12231

BRACKET

SN: 10001-19999

1шт.

38

01010-51225

BOLT

SN: 10001-19999

2шт.

39

01643-31232

WASHER

SN: 10001-19999

2шт.

40

421-35-12250

CLAMP

SN: 10001-19999

1шт.

41

01010-51075

BOLT

SN: 10001-19999

1шт.

42

01643-31032

WASHER

SN: 10001-19999

1шт.

43

08035-01510

CLIP

SN: 10001-19999

2шт.

Выбрано товаров: 0