Запчасти Komatsu WA470-1 ГИДР. БАК. (СПЕЦ-Я TBG)(№-8) СПЕЦ. APPLICATION ЧАСТИ

Схема запчастей Komatsu WA470-1 - ГИДР. БАК. (СПЕЦ-Я TBG)(№-8) СПЕЦ. APPLICATION ЧАСТИ
FIT
1:1
100%

Артикул

Название

Примечание

Количество

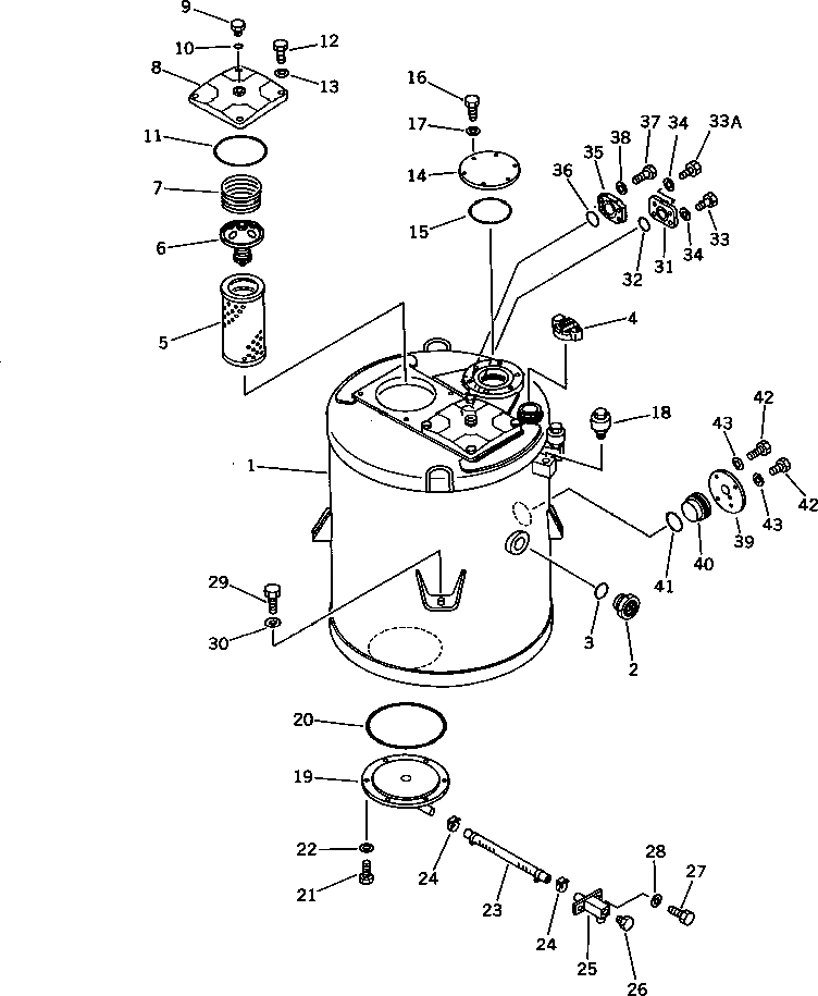
1

421-60-11115

TANK

SN: 10087-@

1шт.

1

0

TANK

SN: 10001-10086

1шт.

|$$3

(421-60-11115,421-54-11416)

-1шт.

2

421-60-11622

GAUGE,SIGHT

SN: 10086-@

1шт.

2

0

GAUGE,SIGHT

SN: 10001-10085

1шт.

3

07002-05234

O-RING

SN: 10001-@

1шт.

4

07051-01000

CAP

SN: 10001-@

1шт.

4

421-60-11710

CAP,(WITH LOCK)

SN: 10001-@

1шт.

4

07051-00003

GASKET

SN: 10001-@

1шт.

5

07063-01142

ELEMENT

SN: 10001-@

2шт.

6

195-60-16300

VALVE ASS'Y

SN: 10001-@

2шт.

7

195-60-16330

SPRING

SN: 10001-@

2шт.

8

195-60-16242

COVER

SN: 10001-@

2шт.

9

424-60-15150

PLUG

SN: 10001-@

2шт.

10

07000-02010

O-RING

SN: 10001-@

2шт.

11

07000-05175

O-RING

SN: 10001-@

2шт.

12

01010-51230

BOLT

SN: 10001-@

8шт.

13

01643-31232

WASHER

SN: 10001-@

8шт.

14

421-04-11181

COVER

SN: 10001-10086

1шт.

15

07000-02115

O-RING

SN: 10001-10086

1шт.

16

01010-51025

BOLT

SN: 10001-10086

6шт.

17

01643-31032

WASHER

SN: 10001-10086

6шт.

18

424-60-15211

BREATHER ASS'Y

SN: 10001-10086

2шт.

18

285-62-17320

ELEMENT

SN: 10001-10086

1шт.

18

424-60-15220

RING,SNAP

SN: 10001-10086

1шт.

19

421-60-11460

COVER

SN: 10001-@

1шт.

20

07000-05200

O-RING

SN: 10001-@

1шт.

21

01010-51025

BOLT

SN: 10001-@

6шт.

22

01643-31032

WASHER

SN: 10001-@

6шт.

23

07260-22036

HOSE

SN: 10001-@

1шт.

24

07281-00359

CLAMP

SN: 10001-@

4шт.

25

421-01-11263

TUBE

SN: 10001-@

1шт.

26

424-01-11110

PLUG

SN: 10001-@

1шт.

27

01010-51025

BOLT

SN: 10001-@

2шт.

28

01643-31032

WASHER

SN: 10001-@

2шт.

29

01010-52045

BOLT

SN: 10001-@

4шт.

30

01643-32060

WASHER

SN: 10001-@

4шт.

31

419-60-15220

PLATE

SN: 10001-@

1шт.

32

07000-03042

O-RING

SN: 10001-@

1шт.

33

01010-51030

BOLT

SN: 10001-@

4шт.

34

01643-31032

WASHER

SN: 10001-@

4шт.

35

568-95-91140

PLATE

SN: 10001-@

1шт.

36

07000-03048

O-RING

SN: 10001-@

1шт.

37

01010-51235

BOLT

SN: 10001-@

4шт.

38

01643-31232

WASHER

SN: 10001-@

4шт.

Выбрано товаров: 45