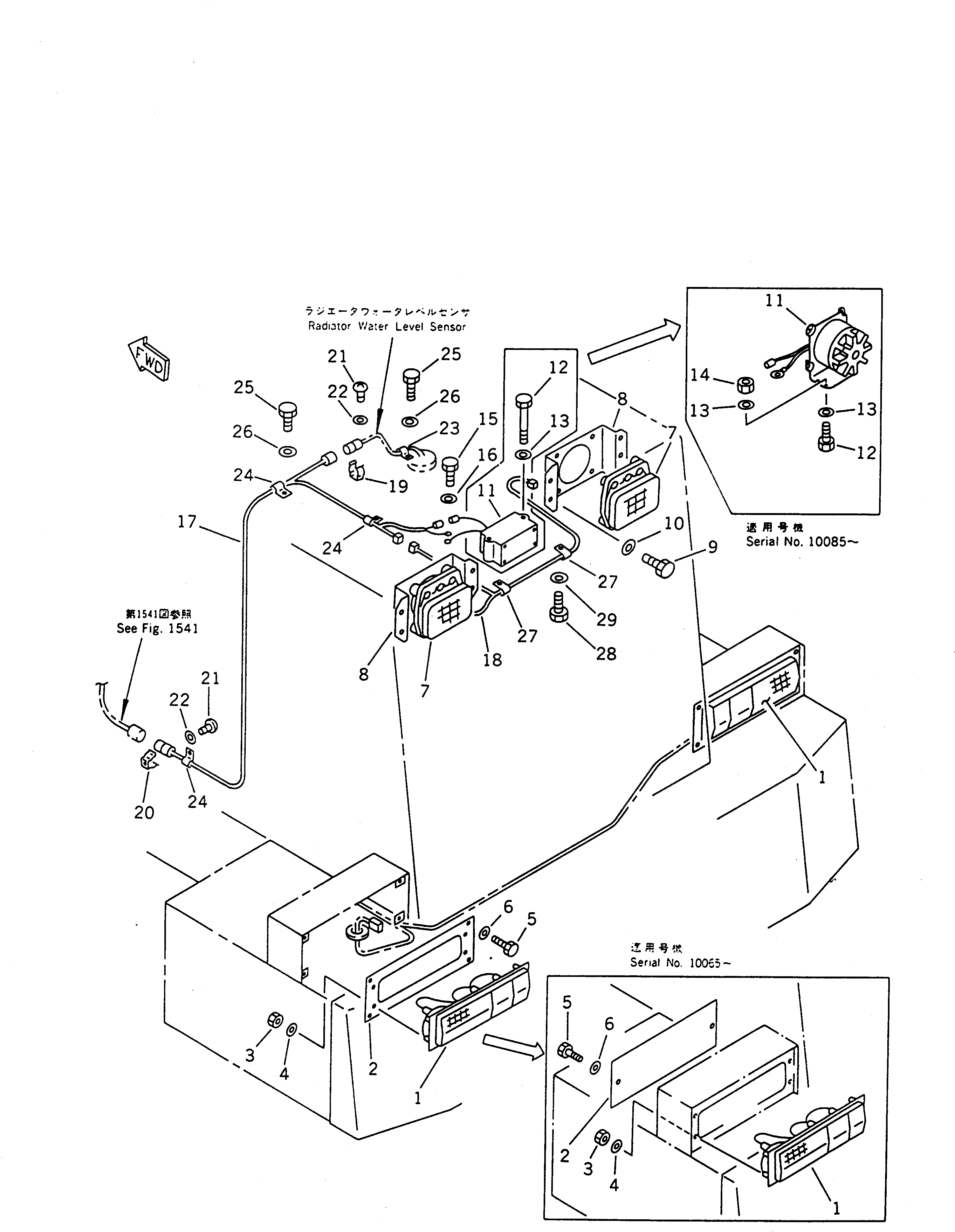
Запчасти Komatsu WA470-1 ЭЛЕКТРИКА (ЗАДН. ОСВЕЩЕНИЕ)(№-9999) КОМПОНЕНТЫ ДВИГАТЕЛЯ И ЭЛЕКТРИКА

Схема запчастей Komatsu WA470-1 - ЭЛЕКТРИКА (ЗАДН. ОСВЕЩЕНИЕ)(№-9999) КОМПОНЕНТЫ ДВИГАТЕЛЯ И ЭЛЕКТРИКА
FIT
1:1
100%

Артикул

Название

Примечание

Количество

1

415-06-13220

COMBINATION LAMP A.,REAR, L.H.

SN: 10001-@

1шт.

1

415-06-13210

COMBINATION LAMP A.,REAR, R.H.

SN: 10001-@

1шт.

1

415-06-13270

LENS,L.H.

SN: 10001-@

1шт.

1

415-06-13260

LENS,R.H.

SN: 10001-@

1шт.

1

08105-12420

BULB, 25W

SN: 10001-@

2шт.

1

08104-12420

BULB, 25/10W

SN: 10001-@

1шт.

1

08102-02403

BULB, 3W

SN: 10001-@

1шт.

2

424-06-14190

PLATE

SN: 10065-19999

2шт.

2

424-06-14180

PLATE

SN: 10001-10064

2шт.

2

424-06-14190

PLATE,(EUROPE SPEC.)

SN: 10001-19999

2шт.

3

01580-10504

NUT

SN: 10001-@

8шт.

4

01641-20508

WASHER

SN: 10001-@

8шт.

5

01010-51020

BOLT

SN: 10065-19999

4шт.

5

01010-50616

BOLT

SN: 10001-10064

8шт.

5

01010-51020

BOLT,(EUROPE SPEC.)

SN: 10001-19999

4шт.

6

01643-31032

WASHER

SN: 10065-19999

4шт.

6

01643-30623

WASHER

SN: 10001-10064

8шт.

6

01643-31032

WASHER,(EUROPE SPEC.)

SN: 10001-19999

4шт.

7

421-06-13202

WORK LAMP ASS'Y

SN: 10001-@

2шт.

7

22W-06-12170

BULB

SN: 10001-@

1шт.

7

421-06-13120

CUSHION

SN: 10001-@

4шт.

8

421-06-11383

PLATE

SN: 10001-19999

2шт.

9

01010-51220

BOLT

SN: 10001-19999

8шт.

10

01643-31232

WASHER

SN: 10001-19999

8шт.

11

427-06-11310

BUZZER,BACK-UP

SN: 10085-@

1шт.

11

08164-00000

BUZZER,BACK-UP

SN: 10001-10084

1шт.

12

01220-40512

SCREW

SN: 10085-19999

4шт.

12

6132-11-6460

BOLT

SN: 10001-10084

2шт.

13

01641-20508

WASHER

SN: 10085-19999

8шт.

13

01640-20816

WASHER

SN: 10001-10084

2шт.

14

01580-10504

NUT

SN: 10085-19999

4шт.

15

01010-51016

BOLT

SN: 10001-19999

1шт.

16

01643-31032

WASHER

SN: 10001-19999

1шт.

17

421-06-12123

WIRE ASS'Y

SN: 10001-@

1шт.

18

421-06-12131

WIRE ASS'Y

SN: 10001-@

1шт.

19

283-06-17130

CLIP

SN: 10001-19999

1шт.

20

421-06-12910

CLIP

SN: 10001-19999

1шт.

21

01220-40608

SCREW

SN: 10001-@

2шт.

22

01641-20608

WASHER

SN: 10001-@

2шт.

23

08036-10814

CLIP

SN: 10001-@

1шт.

24

08036-01414

CLIP

SN: 10001-19999

3шт.

25

01010-51016

BOLT

SN: 10001-@

3шт.

26

01643-31032

WASHER

SN: 10001-@

3шт.

27

08036-11214

CLIP

SN: 10001-19999

2шт.

28

01010-50816

BOLT

SN: 10001-19999

2шт.

29

01643-30823

WASHER

SN: 10001-19999

2шт.

Выбрано товаров: 46