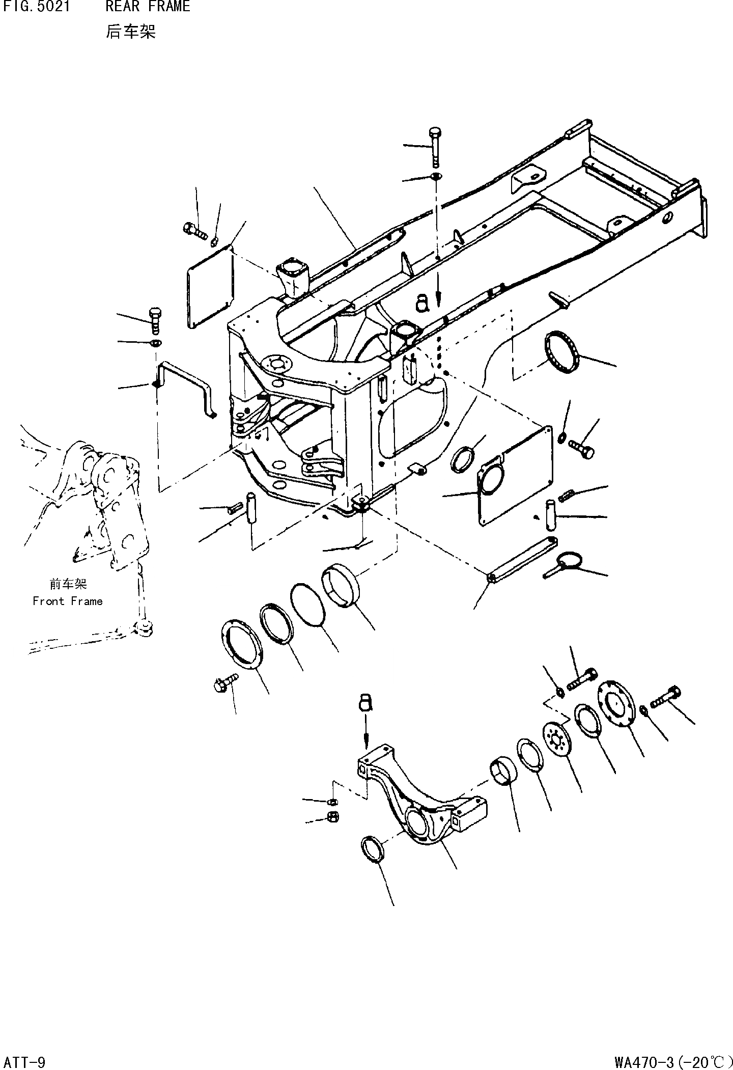
Запчасти Komatsu WA470-3 ЗАДН. РАМА

Схема запчастей Komatsu WA470-3 - ЗАДН. РАМА
29
30
28
25
24
26
21
22
20
1
16
17
31
22
21
3
19
25
24
27
14
15
23
9
12
11
12
13
15
14
8
10
18
17
7
4
5
6
2
FIT
1:1
100%

Артикул

Название

Примечание

Количество

1

421-46-Z3300

FRAME,REAR

1шт.

2

424-46-12162

BUSHIN

1шт.

3

421-46-15121

PACKING

1шт.

4

424-46-12310

RETAINER

1шт.

5

421-46-15112

PACKING

1шт.

6

07000-15305

O-RINGO

1шт.

7

01435-01235

BOLT

6шт.

8

424-46-12156

SUPPORT,REAR

1шт.

9

424-46-12172

BUSHING

1шт.

10

421-46-15132

PACKING

1шт.

11

424-46-12221

PLATE,THRUST

1шт.

12

424-46-12182

WASHER,THRUST

2шт.

13

424-46-12191

COVER

1шт.

14

01010-61665

BOLT

16шт.

15

01643-31645

WASHER

16шт.

16

01011-62790

BOLT

4шт.

17

01643-32780

WASHER

8шт.

18

01580-02722

NUT

4шт.

19

421-46-22580

COVER,L.H

1шт.

20

421-46-22590

COVER,R.H

1шт.

21

01010-51220

BOLT

8шт.

22

01643-31232

WASHER

8шт.

23

421-46-12920

BAR,LOCK

1шт.

24

421-46-12721

PIN

2шт.

25

04025-01065

PIN,SPRING

1шт.

26

04050-10060

PIN,COTTER

1шт.

27

421-46-12740

PIN

1шт.

28

421-46-22861

GUARD

1шт.

29

01010-51640

BOLT

2шт.

30

01643-31645

WASHER

2шт.

31

417-04-21210

FINISHER

1шт.

Выбрано товаров: 31