Запчасти Komatsu WA470-3 КОМПОНЕНТЫ КОНДИЦИОНЕРА (8/8) (ЭЛЕКТРИКА)(№-) РАМА И ЧАСТИ КОРПУСА

Схема запчастей Komatsu WA470-3 - КОМПОНЕНТЫ КОНДИЦИОНЕРА (8/8) (ЭЛЕКТРИКА)(№-) РАМА И ЧАСТИ КОРПУСА
FIT
1:1
100%

Артикул

Название

Примечание

Количество

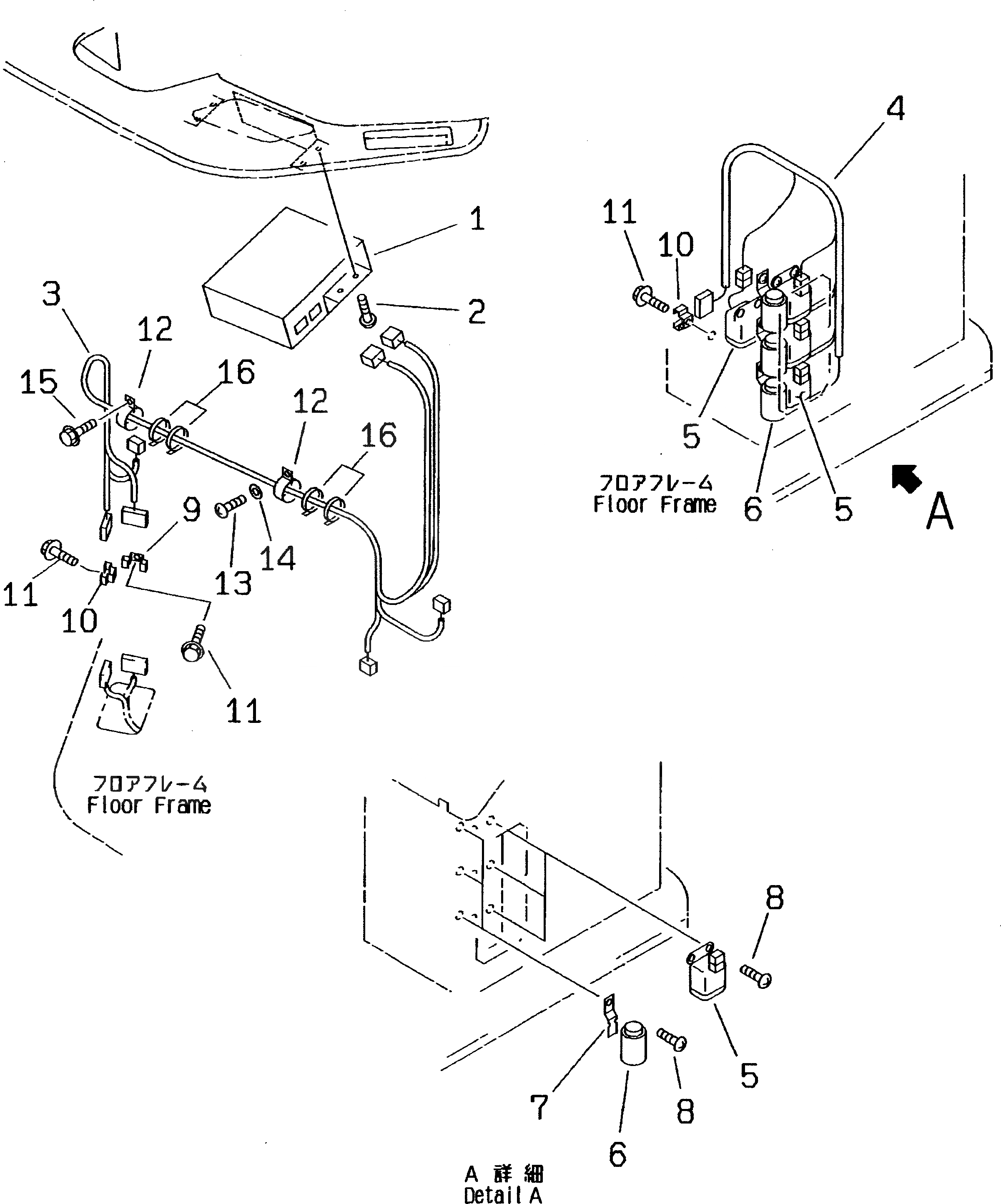
1

421-07-21150

CONTROLLER

SN: 50001-UP

1шт.

2

421-09-21410

SCREW

SN: 50001-UP

4шт.

3

421-07-21310

WIRING HARNESS

SN: 50001-UP

1шт.

4

421-07-21321

WIRING HARNESS

SN: 50001-UP

1шт.

5

421-07-21260

RELAY

SN: 50001-UP

4шт.

6

425-963-1920

RELAY

SN: 50001-UP

3шт.

7

421-07-21180

BRACKET

SN: 50001-UP

3шт.

8

421-09-21410

SCREW

SN: 50001-UP

11шт.

9

08053-01510

CLIP

SN: 50001-UP

1шт.

10

08053-16210

CLIP

SN: 50001-UP

2шт.

11

01435-01016

BOLT

SN: 50001-UP

3шт.

12

21K-62-21660

CLIP

SN: 50001-UP

2шт.

13

01023-70620

SCREW

SN: 50001-UP

1шт.

14

01643-30823

WASHER

SN: 50001-UP

1шт.

15

01435-01025

BOLT

SN: 50001-UP

1шт.

16

08034-20536

BAND

SN: 50001-UP

7шт.

Выбрано товаров: 0