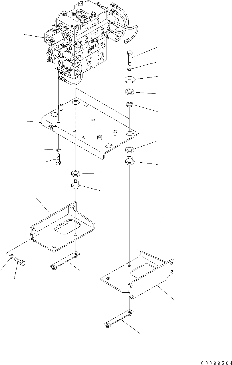
Запчасти Komatsu WA470-6 LC ОСНОВН. КЛАПАН (ДЛЯ EPC) H ГИДРАВЛИКА

Схема запчастей Komatsu WA470-6 LC - ОСНОВН. КЛАПАН (ДЛЯ EPC) H ГИДРАВЛИКА
1
4
3
2
13
15
14
11
11
12
9
8
9
8
10
8
7
6
5
FIT
1:1
100%

Артикул

Название

Примечание

Количество

1

723-43-13600

CONTROL VALVE ASSEMBLY

SN: H50880-UP

1шт.

2

01016-51640

BOLT

SN: H50880-UP

4шт.

3

01643-31645

WASHER

SN: H50880-UP

4шт.

4

421-62-44610

BRACKET

SN: H50880-UP

1шт.

5

01010-81685

BOLT

SN: H50880-UP

4шт.

6

01643-31645

WASHER

SN: H50880-UP

4шт.

7

425-70-11290

WASHER

SN: H50880-UP

4шт.

8

421-64-23120

CUSHION

SN: H50880-UP

8шт.

9

421-64-41140

BOSS

SN: H50880-UP

4шт.

10

421-64-23130

CUSHION

SN: H50880-UP

4шт.

11

421-64-41150

BRACKET

SN: H50880-UP

2шт.

12

421-64-41121

BRACKET, LHS

SN: H50880-UP

1шт.

13

421-64-41130

BRACKET, RHS

SN: H50880-UP

1шт.

14

01010-81635

BOLT

SN: H50880-UP

8шт.

15

01643-71645

WASHER

SN: H50880-UP

8шт.

Выбрано товаров: 0