Запчасти Komatsu WA470-6 LC КОВШ (ШИР. .M NOT ДЛЯ ROAD TRAFFIC REGULATION) (.CBM) (ТИП C) (С TEETH HENSLEY) T РАБОЧЕЕ ОБОРУДОВАНИЕ

Схема запчастей Komatsu WA470-6 LC - КОВШ (ШИР. .M NOT ДЛЯ ROAD TRAFFIC REGULATION) (.CBM) (ТИП C) (С TEETH HENSLEY) T РАБОЧЕЕ ОБОРУДОВАНИЕ
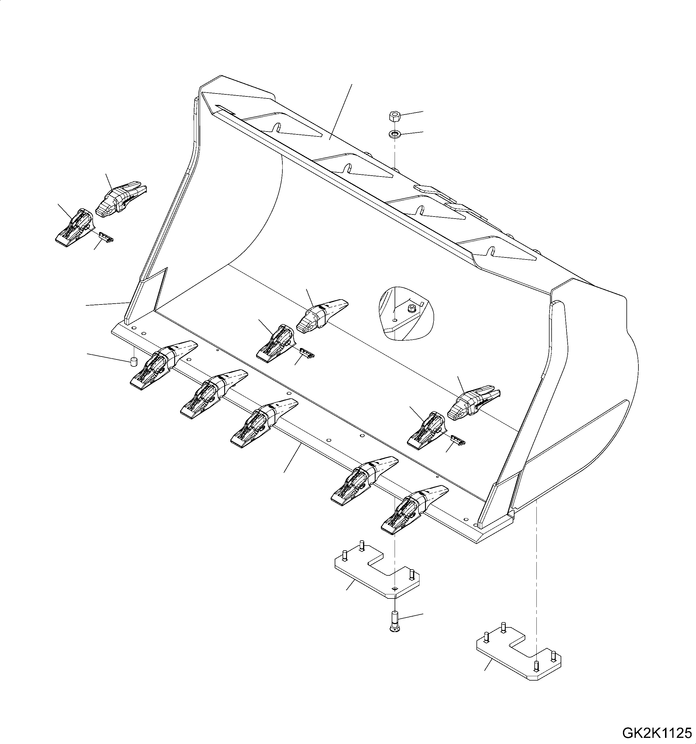
1
7
6
8
11
12
9
3
11
13
10
12
11
12
2
4
5
4
FIT
1:1
100%

Артикул

Название

Примечание

Количество

|$1

421-77-H2610

BUCKET ASSEMBLY

SN: H50880-UP

1шт.

1

0

BUCKET ASSEMBLY

SN: H50880-UP

1шт.

2

421-70-H2T80

BLADE (WELDED)

SN: H50880-UP

1шт.

3

421-76-H2640

CORNER BLADE (WELDED)

SN: H50880-UP

2шт.

4

421-72-H2G30

PLATE SKID

SN: H50880-UP

2шт.

5

416-71-H2580

BOLT

SN: H50880-UP

8шт.

6

01643-32260

WASHER

SN: H50880-UP

8шт.

7

421-70-H2A20

NUT

SN: H50880-UP

8шт.

8

424-71-H2010

ADAPTER, RHS (WELDED)

SN: H50880-UP

1шт.

9

424-71-H2030

ADAPTER (WELDED)

SN: H50880-UP

6шт.

10

424-71-H2020

ADAPTER, LHS (WELDED)

SN: H50880-UP

1шт.

11

424-71-H2050

TEETH

SN: H50880-UP

8шт.

12

424-71-H2040

LOCK

SN: H50880-UP

8шт.

13

423-72-H2780

PIN

SN: H50880-UP

8шт.

Выбрано товаров: 14