Запчасти Komatsu WA470-6 ГИДР. БАК. (ЭЛЕМЕНТЫ КРЕПЛЕНИЯ) (ДЛЯ ЭКСТРЕННОГО УПРАВЛЕНИЯ)(№8-) ГИДРАВЛИКА

Схема запчастей Komatsu WA470-6 - ГИДР. БАК. (ЭЛЕМЕНТЫ КРЕПЛЕНИЯ) (ДЛЯ ЭКСТРЕННОГО УПРАВЛЕНИЯ)(№8-) ГИДРАВЛИКА
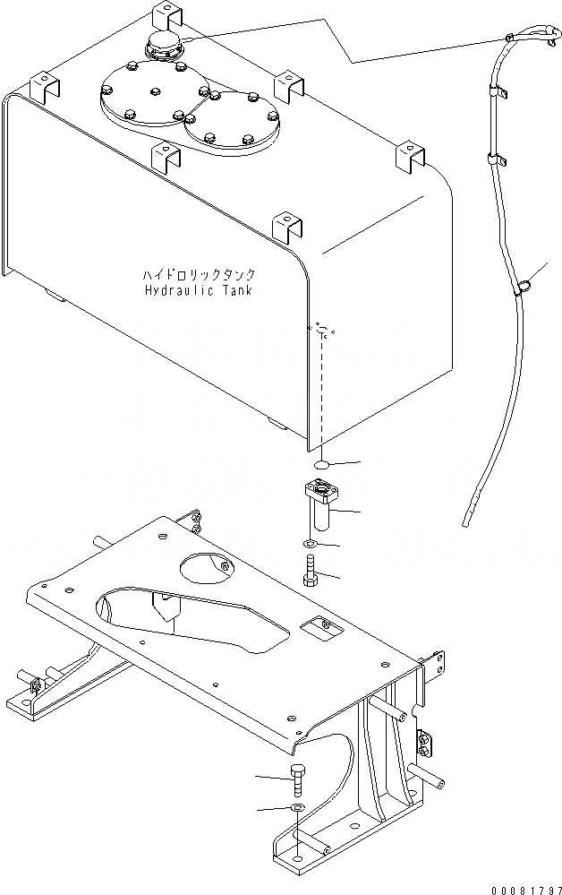
1
2
3
4
5
6
7
FIT
1:1
100%

Артикул

Название

Примечание

Количество

1

01010-81645

BOLT

SN: 85001-UP

6шт.

2

01643-31645

WASHER

SN: 85001-UP

6шт.

3

08034-40521

BAND

SN: 85001-UP

1шт.

4

423-60-35520

TUBE

SN: 85001-UP

1шт.

5

07000-13032

O-RING

SN: 85001-UP

1шт.

6

01010-81040

BOLT

SN: 85001-UP

4шт.

7

01643-31032

WASHER

SN: 85001-UP

4шт.

Выбрано товаров: 7