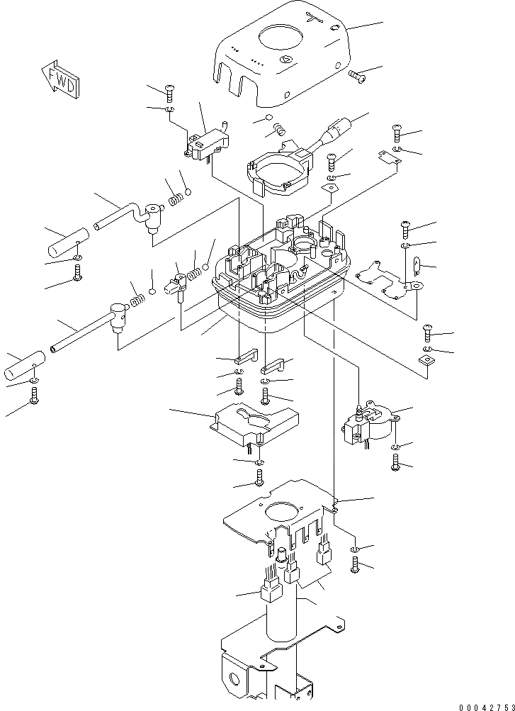
Запчасти Komatsu WA470-6 КАБИНА ROPS (ПЕРЕКЛЮЧАТЕЛЬ ТРАНСМИССИИВНУТР. ЧАСТИ) (MONOCOQUE ТИП)(№8-) КАБИНА ОПЕРАТОРА И СИСТЕМА УПРАВЛЕНИЯ

Схема запчастей Komatsu WA470-6 - КАБИНА ROPS (ПЕРЕКЛЮЧАТЕЛЬ ТРАНСМИССИИВНУТР. ЧАСТИ) (MONOCOQUE ТИП)(№8-) КАБИНА ОПЕРАТОРА И СИСТЕМА УПРАВЛЕНИЯ
1
1
2
3
4
5
6
7
8
9
10
11
12
13
13
14
15
16
17
18
19
20
21
22
23
23
23
24
24
25
25
25
25
26
26
26
27
27
27
27
27
28
28
28
28
28
28
28
29
30
FIT
1:1
100%

Артикул

Название

Примечание

Количество

1

423-43-46212

SWITCH ASS'Y

SN: 90148-UP

1шт.

1

423-43-46211

SWITCH ASS'Y

SN: 85001-90147

1шт.

2

417-43-26212

SWITCH

SN: 85001-UP

1шт.

3

417-43-26221

SWITCH

SN: 85001-UP

1шт.

4

417-43-26230

SWITCH,HAZARD AND TURN SIGNAL

SN: 85001-UP

1шт.

|$13

421-43-26141

LEVER ASS'Y

SN: 85001-UP

1шт.

5

421-43-26151

LEVER

SN: 85001-UP

1шт.

6

417-43-26280

GRIP

SN: 85001-UP

1шт.

7

417-43-26290

SPRING

SN: 85001-UP

1шт.

8

417-43-26310

BALL

SN: 85001-UP

1шт.

|$18

421-43-36160

LEVER ASS'Y,SHIFT

SN: 85001-UP

1шт.

9

421-43-36170

LEVER,SHIFT

SN: 85001-UP

1шт.

10

417-43-26280

GRIP

SN: 85001-UP

1шт.

11

417-43-26290

SPRING

SN: 85001-UP

1шт.

12

417-43-26310

BALL

SN: 85001-UP

1шт.

13

417-43-26320

ARM,MAGNET

SN: 85001-UP

2шт.

14

417-43-26332

LEVER ASS'Y,TURN

SN: 90148-UP

1шт.

14

417-43-26331

LEVER ASS'Y,TURN

SN: 85001-90147

1шт.

15

417-43-26340

SPRING

SN: 85001-UP

1шт.

16

417-43-26350

BALL

SN: 85001-UP

1шт.

17

417-43-26360

KNOB ASS'Y,LOCK

SN: 85001-UP

1шт.

18

417-43-26370

SPRING

SN: 85001-UP

1шт.

19

417-43-26380

BALL

SN: 85001-UP

1шт.

20

421-43-46120

CASE

SN: 85001-UP

1шт.

21

417-43-26410

SCREW

SN: 85001-UP

4шт.

22

7815-11-1010

BULB, 1.4W

SN: 85001-UP

1шт.

23

01220-40308

SCREW

SN: 85001-UP

6шт.

24

01220-40312

SCREW

SN: 85001-UP

2шт.

25

01220-40408

SCREW

SN: 85001-UP

10шт.

26

01220-40412

SCREW

SN: 85001-UP

11шт.

27

01601-20307

WASHER

SN: 85001-UP

8шт.

28

01601-20410

WASHER

SN: 85001-UP

21шт.

29

08055-10681

CONNECTOR

SN: 85001-UP

2шт.

30

08055-11481

CONNECTOR

SN: 85001-UP

1шт.

Выбрано товаров: 34