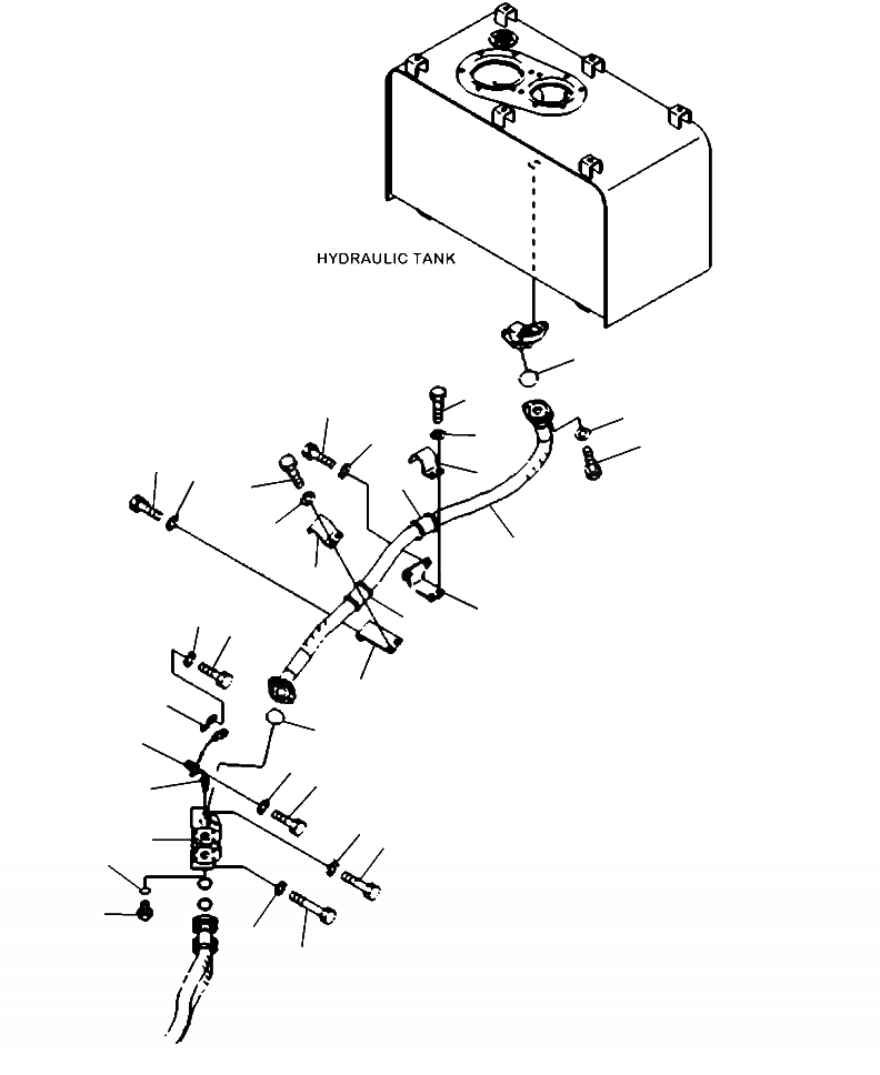
Запчасти Komatsu WA470-6 H-9A ГИДРОЛИНИЯ ВОЗВРАТ. ЛИНИЯ ГИДРАВЛИКА

Схема запчастей Komatsu WA470-6 - H-9A ГИДРОЛИНИЯ ВОЗВРАТ. ЛИНИЯ ГИДРАВЛИКА
9
14
20
11
15
21
10
17
18
12
13
14
15
8
12
19
27
13
26
16
25
9
22
24
23
7
6
1
5
3
2
6
4
FIT
1:1
100%

Артикул

Название

Примечание

Количество

1

421-62-45210

BLOCK

SN: A46001--UP

1шт.

2

07040-13316

PLUG

SN: A46001--UP

1шт.

3

07002-13334

O-RING

SN: A46001--UP

1шт.

4

01010-81095

BOLT

SN: A46001--UP

2шт.

5

01010-81080

BOLT

SN: A46001--UP

2шт.

6

01643-31032

WASHER

SN: A46001--UP

4шт.

7

7861-93-3320

SENSOR

SN: A46001--UP

1шт.

8

421-62-45730

HOSE, 1640 MM

SN: A46001--UP

1шт.

9

07000-13048

O-RING

SN: A46001--UP

2шт.

10

01010-81240

BOLT

SN: A46001--UP

4шт.

11

01643-31232

WASHER

SN: A46001--UP

4шт.

12

22U-62-21551

CLAMP

SN: A46001--UP

2шт.

13

07095-01245

CUSHION

SN: A46001--UP

2шт.

14

01010-81230

BOLT

SN: A46001--UP

4шт.

15

01643-31232

WASHER

SN: A46001--UP

4шт.

16

421-62-45740

BRACKET

SN: A46001--UP

1шт.

17

01010-D1250

BOLT

SN: A46001--UP

2шт.

18

01643-71232

WASHER

SN: A46001--UP

2шт.

19

421-62-45750

BRACKET

SN: A46001--UP

1шт.

20

01010-D1250

BOLT

SN: A46001--UP

2шт.

21

01643-71232

WASHER

SN: A46001--UP

2шт.

22

04434-51012

CLIP

SN: A46001--UP

1шт.

23

01010-81020

BOLT

SN: A46001--UP

1шт.

24

01643-31032

WASHER

SN: A46001--UP

1шт.

25

08193-21012

CLIP

SN: A46001--UP

1шт.

26

01010-81020

BOLT

SN: A46001--UP

1шт.

27

01643-31032

WASHER

SN: A46001--UP

1шт.

Выбрано товаров: 0