Запчасти Komatsu WA470-6 T-A КОВШ . CU. M (.7 CU. YD) РАБОЧЕЕ ОБОРУДОВАНИЕ

Схема запчастей Komatsu WA470-6 - T-A КОВШ . CU. M (.7 CU. YD) РАБОЧЕЕ ОБОРУДОВАНИЕ
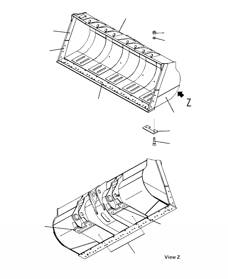
1
3
9
10
4
2
5
7
8
7
7
6
FIT
1:1
100%

Артикул

Название

Примечание

Количество

|$0

421-806-4200

BUCKET ASSEMBLY

SN: A46001--UP

1шт.

1

421-806-4210

BUCKET

SN: A46001--UP

1шт.

2

421-70-32920

EDGE

SN: A46001--UP

1шт.

3

421-806-3170

PLATE

SN: A46001--UP

2шт.

4

421-70-32931

PLATE

SN: A46001--UP

2шт.

5

421-806-3150

PLATE

SN: A46001--UP

2шт.

6

421-806-3B10

PLATE

SN: A46001--UP

2шт.

7

421-70-22140

PLATE

SN: A46001--UP

2шт.

8

02290-11685

BOLT

SN: A46001--UP

4шт.

9

02290-11625

NUT

SN: A46001--UP

4шт.

10

01643-22460

WASHER

SN: A46001--UP

4шт.

Выбрано товаров: 11