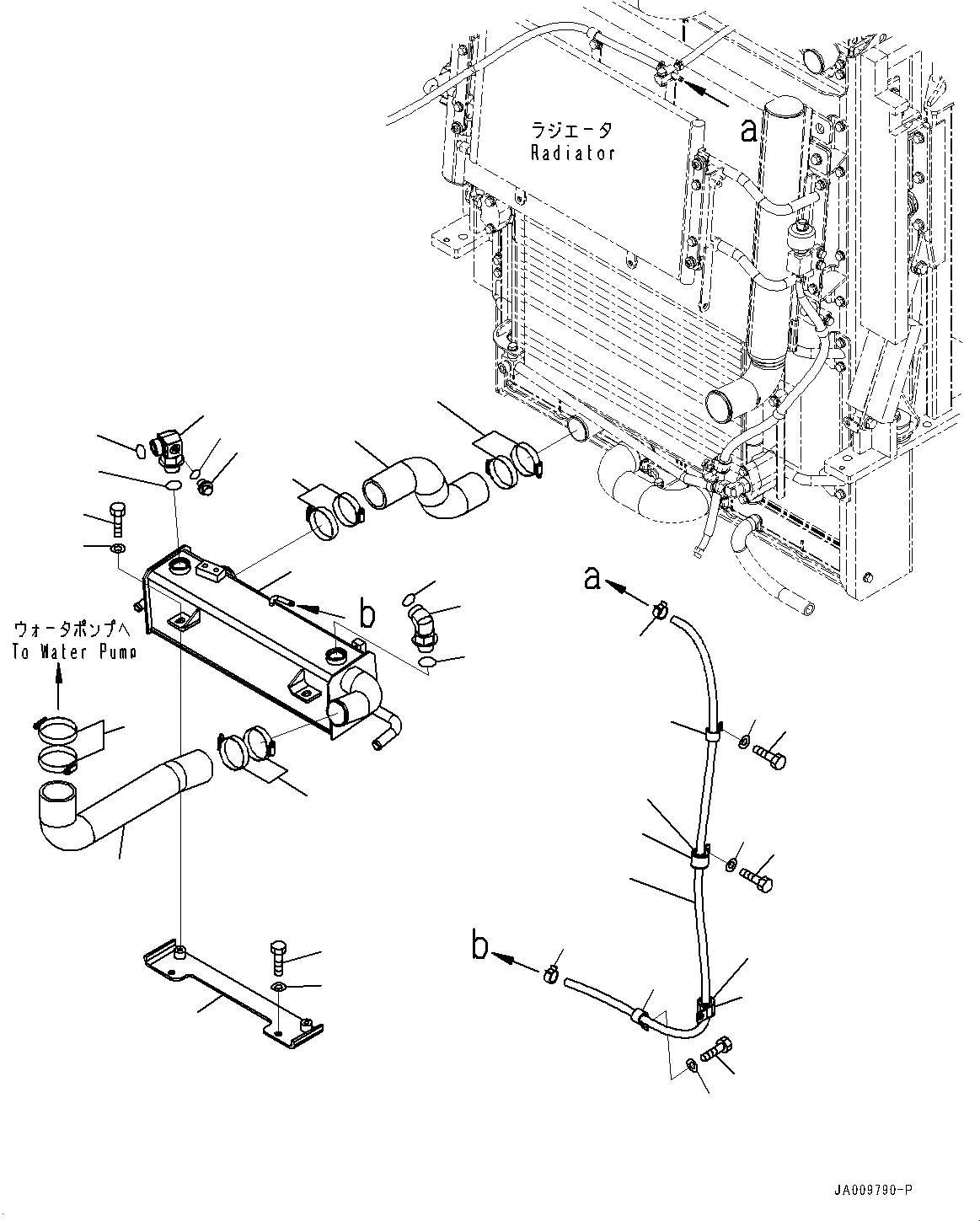
Запчасти Komatsu WA470-7 РАДИАТОР, ЛИНИИ ОХЛАЖДЕНИЯ МАСЛА ГТР (№-) РАДИАТОР, С ШИР. СЕРДЦЕВИНА

Схема запчастей Komatsu WA470-7 - РАДИАТОР, ЛИНИИ ОХЛАЖДЕНИЯ МАСЛА ГТР (№-) РАДИАТОР, С ШИР. СЕРДЦЕВИНА
21
9
1
4
7
8
17
14
15
16
12
13
13
20
23
23
24
22
22
24
21
2
3
18
19
5
6
11
10
25
25
25
26
26
26
FIT
1:1
100%

Артикул

Название

Примечание

Количество

1

421-03-51610

Oil Cooler

SN: 10001-UP

1шт.

2

01010-81225

Bolt

SN: 10001-UP

2шт.

3

01643-31232

Washer

SN: 10001-UP

2шт.

4

21W-62-42640

Elbow

SN: 10001-UP

1шт.

5

07002-23334

O-ring

SN: 10001-UP

1шт.

6

421-09-31140

O-ring

SN: 10001-UP

1шт.

7

421-03-42230

Elbow

SN: 10001-UP

1шт.

8

423-62-52290

Plug

SN: 10001-UP

1шт.

9

07002-11023

O-ring

SN: 10001-UP

1шт.

10

07002-23334

O-ring

SN: 10001-UP

1шт.

11

421-09-31140

O-ring

SN: 10001-UP

1шт.

12

421-03-51620

Hose

SN: 10001-UP

1шт.

13

07289-00070

Clamp

SN: 10001-UP

4шт.

14

421-03-51630

Hose

SN: 10001-UP

1шт.

15

07289-00070

Clamp

SN: 10001-UP

2шт.

16

07289-00080

Clamp

SN: 10001-UP

2шт.

17

421-03-51650

Bracket

SN: 10001-UP

1шт.

18

01010-81225

Bolt

SN: 10001-UP

2шт.

19

01643-31232

Washer

SN: 10001-UP

2шт.

20

421-03-51640

Hose

SN: 10001-UP

1шт.

21

11Y-09-11140

Clip

SN: 10001-UP

2шт.

22

04434-52312

Clip

SN: 10001-UP

2шт.

23

04434-53212

Clip

SN: 10001-UP

2шт.

24

07095-20523

Cushion

SN: 10001-UP

2шт.

25

01010-81020

Bolt

SN: 10001-UP

3шт.

26

01643-31032

Washer

SN: 10001-UP

3шт.

Выбрано товаров: 26