Запчасти Komatsu WA470-7 K- КАБИНА ROPS И ОСНОВН. КОНСТРУКЦИЯ ГРУППА РАДИО И ПЕРЕКЛЮЧАТЕЛЬ КОРПУС OPERATORXD S ОБСТАНОВКА И СИСТЕМА УПРАВЛЕНИЯ

Схема запчастей Komatsu WA470-7 - K- КАБИНА ROPS И ОСНОВН. КОНСТРУКЦИЯ ГРУППА РАДИО И ПЕРЕКЛЮЧАТЕЛЬ КОРПУС OPERATORXD S ОБСТАНОВКА И СИСТЕМА УПРАВЛЕНИЯ
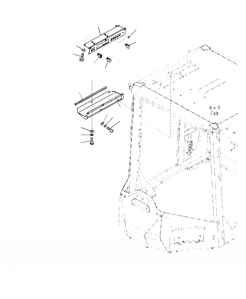
9
2
3
3
4
8
7
5
8
7
6
11
10
1
12
FIT
1:1
100%

Артикул

Название

Примечание

Количество

1

423-06-45440

SWITCH, REAR DEFROSTER ON/OFF

1шт.

2

09415-00506

CAP

1шт.

3

20Y-06-42190

COVER

6шт.

4

418-925-3450

COVER

1шт.

5

01225-70620

SCREW, PHILIPS HEAD

6шт.

6

01225-70625

SCREW, PHILIPS HEAD

2шт.

7

418-926-3490

WASHER

8шт.

8

423-925-4620

WASHER

8шт.

9

423-926-5820

BRACKET

1шт.

10

01010-80616

BOLT

6шт.

11

01643-30623

WASHER

6шт.

12

425-925-3580

SEAL

1шт.

Выбрано товаров: 12