Запчасти Komatsu WA470-DZ-3 КАРТЕР МАХОВИКА(С ДАТЧИК ВРАЩЕНИЯ)(№78-) [ДВИГАТЕЛЬ SADE- ДВИГАТЕЛЬ NO.7 И UP]

Схема запчастей Komatsu WA470-DZ-3 - КАРТЕР МАХОВИКА(С ДАТЧИК ВРАЩЕНИЯ)(№78-) [ДВИГАТЕЛЬ SADE- ДВИГАТЕЛЬ NO.7 И UP]
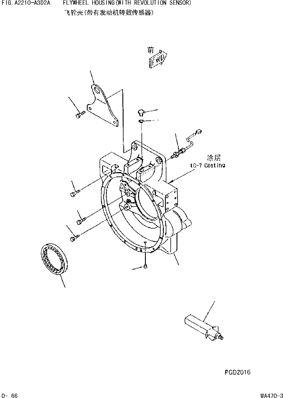
1
2
3
4
5
6
7
8
9
10
11
12
FIT
1:1
100%

Артикул

Название

Примечание

Количество

1\A\

X16-0324111

FLYWHEEL HOUSING UNIT

Field_2: 67518-

1шт.

1

6151-21-4141

HOUSING,FLYWHEEL

Field_2: 67518-

1шт.

2

07043-70211

PLUG

Field_2: 61589-

1шт.

3

01010-31650

BOLT

Field_2: 61589-

6шт.

4

01010-31660

BOLT

Field_2: 61589-

2шт.

5

01010-81045

BOLT

Field_2: 67518-

1шт.

6

6151-21-4160

SEAL,REAR(K2)

Field_2: 61589-

1шт.

|$8

6151-29-4160

SEAL,REAR,(SERVICE PARTS)

Field_2: 61589-

1шт.

7

600-842-1380

SENSOR,ENGINE REVOLUTION

Field_2: 61589-

1шт.

8

6150-21-3930

PLATE

Field_2: 61589-

1шт.

9

01010-51660

BOLT

Field_2: 61589-

2шт.

10

6114-11-8910

PLUG

Field_2: 67518-

1шт.

11

27005-02216

GASKET

Field_2: 67518-

1шт.

12

09920-00150

LIQUID GASKET,LG-7,150G

Field_2: 61589-

-2шт.

Выбрано товаров: 14