Запчасти Komatsu WA480-5 УДАЛЕННАЯ СМАЗКА (СМАЗЫВАЮЩ. НАСОС И КОНТРОЛЛЕР) (С АВТОМАТИЧ. СМАЗКОЙ) ОСНОВНАЯ РАМА И ЕЕ ЧАСТИ

Схема запчастей Komatsu WA480-5 - УДАЛЕННАЯ СМАЗКА (СМАЗЫВАЮЩ. НАСОС И КОНТРОЛЛЕР) (С АВТОМАТИЧ. СМАЗКОЙ) ОСНОВНАЯ РАМА И ЕЕ ЧАСТИ
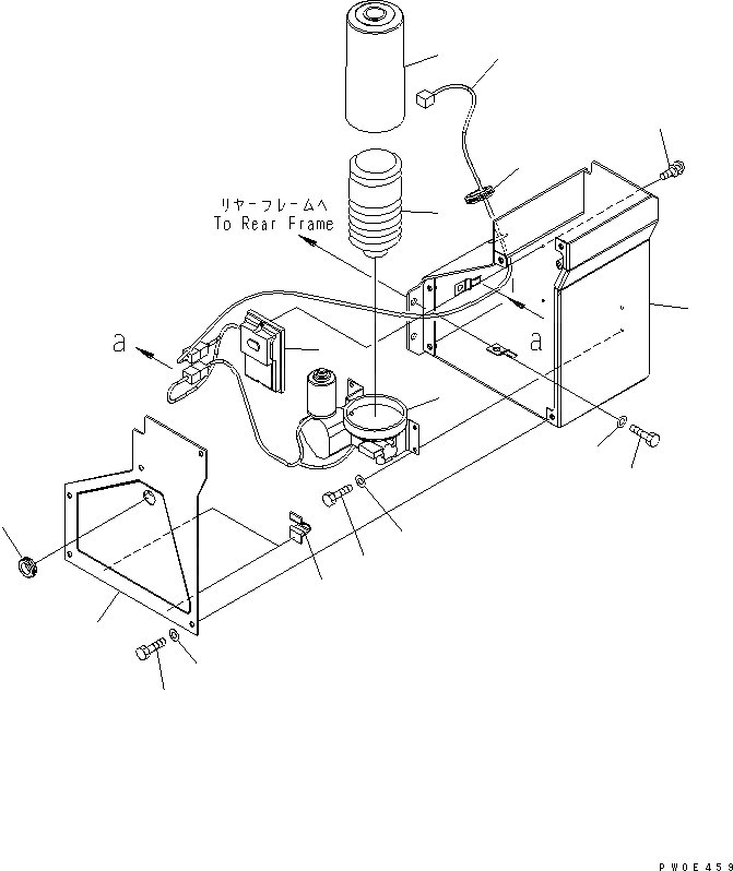
1
2
3
4
5
6
7
8
9
10
11
12
13
14
15
16
17
FIT
1:1
100%

Артикул

Название

Примечание

Количество

|1

421-S95-5130

PUMP ASS'Y

SN: 80001-UP

1шт.

1

421-S95-3320

TANK,GREASE

SN: 80001-UP

1шт.

2

421-S95-3331

MOTOR

SN: 80001-UP

1шт.

3

421-S95-3340

CARTRIDGE

SN: 80001-UP

1шт.

4

01010-80816

BOLT

SN: 80001-UP

4шт.

5

01643-30823

WASHER

SN: 80001-UP

4шт.

6

421-S95-5140

CONTROLLER

SN: 80001-UP

1шт.

7

01023-20512

SCREW

SN: 80001-UP

2шт.

8

421-S95-5111

COVER

SN: 80016-UP

1шт.

|8

421-S95-5110

COVER

SN: 80001-80015

1шт.

9

01010-D1225

BOLT

SN: 80001-UP

4шт.

10

01643-71232

WASHER

SN: 80001-UP

4шт.

11

421-S95-5121

COVER

SN: 80016-UP

1шт.

|11

421-S95-5120

COVER

SN: 80001-80015

1шт.

12

421-06-24180

HINGE (WELDED)

SN: 80001-UP

2шт.

13

01010-D1020

BOLT

SN: 80001-UP

5шт.

14

01643-71032

WASHER

SN: 80001-UP

5шт.

15

08037-02512

GROMMET

SN: 80001-UP

1шт.

16

421-S95-5210

WIRING HARNESS

SN: 80001-UP

1шт.

17

08037-03614

GROMMET

SN: 80001-UP

1шт.

Выбрано товаров: 20