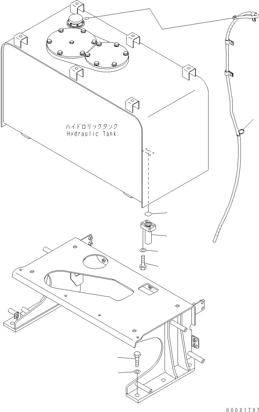
Запчасти Komatsu WA480-6 LC ГИДР. БАК. (ЭЛЕМЕНТЫ КРЕПЛЕНИЯ) H ГИДРАВЛИКА

Схема запчастей Komatsu WA480-6 LC - ГИДР. БАК. (ЭЛЕМЕНТЫ КРЕПЛЕНИЯ) H ГИДРАВЛИКА
1
2
5
4
7
6
3
FIT
1:1
100%

Артикул

Название

Примечание

Количество

1

01016-51645

BOLT

SN: H60470-UP

6шт.

2

01643-31645

WASHER

SN: H60470-UP

6шт.

3

08034-40521

BAND

SN: H60470-UP

1шт.

4

423-60-35520

TUBE

SN: H60470-UP

1шт.

5

07000-13032

O-RING

SN: H60470-UP

1шт.

6

01010-81040

BOLT

SN: H60470-UP

4шт.

7

01643-31032

WASHER

SN: H60470-UP

4шт.

Выбрано товаров: 7