Запчасти Komatsu WA480-6 ГИДР. БАК. (КОРПУС)(№8-9) ГИДРАВЛИКА

Схема запчастей Komatsu WA480-6 - ГИДР. БАК. (КОРПУС)(№8-9) ГИДРАВЛИКА
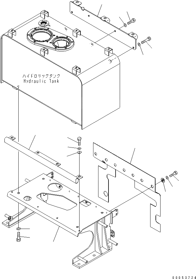
1
2
3
4
5
6
7
8
9
10
11
12
13
14
15
16
FIT
1:1
100%

Артикул

Название

Примечание

Количество

1

421-60-45121

BRACKET

SN: 85001-90000

1шт.

2

01010-81630

BOLT

SN: 85001-@

4шт.

3

01643-31645

WASHER

SN: 85001-@

4шт.

4

423-54-48460

SHEET

SN: 85001-@

1шт.

5

103-54-21160

COLLAR

SN: 85001-@

4шт.

6

01010-81025

BOLT

SN: 85001-@

4шт.

7

01643-31032

WASHER

SN: 85001-@

4шт.

8

421-60-45180

BRACKET

SN: 85001-@

1шт.

9

01010-81225

BOLT

SN: 85001-@

2шт.

10

01643-31232

WASHER

SN: 85001-@

2шт.

11

01010-81240

BOLT

SN: 85001-@

2шт.

12

01643-31232

WASHER

SN: 85001-@

2шт.

13

421-60-45211

SHEET

SN: 85001-90000

1шт.

14

203-54-62670

COLLAR

SN: 85001-@

7шт.

15

01010-81025

BOLT

SN: 85001-@

7шт.

16

01643-31032

WASHER

SN: 85001-@

7шт.

Выбрано товаров: 0